海航控股:2024年上半年亏损6.36亿元

中证智能财讯 海航控股(600221)8月31日披露2024年半年报。2024年上半年,公司实现营业总收入317.43亿元,同比增长14.86%;归母净利润亏损6.36亿元,上年同期亏损16.09亿元;扣非净利润亏损8.70亿元,上年同期亏损23.11亿元;经营活动产生的现金流量净额为63.19亿元,同比增长10.39%;报告期内,海航控股基本每股收益为-0.0147元,加权平均净资产收益率为-32.90%。
报告期内,公司合计非经常性损益为2.34亿元,其中非流动性资产处置损益,包括已计提资产减值准备的冲销部分为5688.90万元,少数股东权益影响额(税后)为-1866.60万元。


以8月30日收盘价计算,海航控股目前市盈率(TTM)约为35.67倍,市净率(LF)约为32.19倍,市销率(TTM)约为0.73倍。

公司近年市盈率(TTM)、市净率(LF)、市销率(TTM)历史分位图如下所示:



根据半年报,公司第二季度实现营业总收入141.93亿元,同比下降2.04%,环比下降19.13%;归母净利润-13.23亿元,同比增长25.17%,环比下降292.65%;扣非净利润-14.84亿元,同比增长38.49%,环比下降341.67%。

资料显示,公司主要从事国际、国内(含港澳)航空客货邮运输业务;与航空运输相关的服务业务;航空旅游;机上供应品,航空器材,航空地面设备及零配件的生产;候机楼服务和经营;保险兼业代理服务(限人身意外险)。其中,定期、不定期航空客、货运输是公司的主营业务。
2024年上半年,公司毛利率为7.26%,同比下降3.04个百分点;净利率为-2.43%,较上年同期上升4.17个百分点。从单季度指标来看,2024年第二季度公司毛利率为-1.80%,同比下降17.74个百分点,环比下降16.39个百分点;净利率为-10.35%,较上年同期上升2.83个百分点,较上一季度下降14.32个百分点。

数据显示,2024年上半年公司加权平均净资产收益率为-32.90%,较上年同期增长149.22个百分点;公司2024年上半年投入资本回报率为1.05%,较上年同期增长1.03个百分点。

2024年上半年,公司经营活动现金流净额为63.19亿元,同比增长10.39%;筹资活动现金流净额-48.20亿元,同比增加33.72亿元;投资活动现金流净额-6.59亿元,上年同期为-5.78亿元。
进一步统计发现,2024年上半年公司自由现金流为8.08亿元,相比上年同期下降48.18%。

2024年上半年,公司营业收入现金比为107.74%,净现比为-993.56%。

营运能力方面,2024年上半年,公司总资产周转率为0.23次,上年同期为0.20次(2023年上半年行业平均值为0.16次,公司位居同行业3/12);固定资产周转率为0.87次,上年同期为0.70次(2023年上半年行业平均值为0.50次,公司位居同行业4/12);公司应收账款周转率、存货周转率分别为11.35次、18.35次。

2024年上半年,公司期间费用为41.07亿元,较上年同期减少17.91亿元;期间费用率为12.94%,较上年同期下降8.40个百分点。其中,销售费用同比增长32.3%,管理费用同比下降4.75%,研发费用同比增长7.7%,财务费用同比下降43.64%。

资产重大变化方面,截至2024年上半年末,公司投资性房地产较上年末增加78.79%,占公司总资产比重上升1.41个百分点;固定资产较上年末减少1.62%,占公司总资产比重下降1.30个百分点;使用权资产较上年末减少0.15%,占公司总资产比重下降0.95个百分点;其他应收款(含利息和股利)较上年末增加13.23%,占公司总资产比重上升0.75个百分点。

负债重大变化方面,截至2024年上半年末,公司长期借款较上年末增加5.54%,占公司总资产比重上升0.75个百分点;应付票据较上年末增加34.35%,占公司总资产比重上升1.04个百分点;租赁负债较上年末减少2.33%,占公司总资产比重下降1.76个百分点;应付账款较上年末增加10.84%,占公司总资产比重上升0.39个百分点。

从存货变动来看,截至2024年上半年末,公司存货账面价值为17.0亿元,占净资产的119.48%。根据财报,公司本期没有计提存货跌价准备。

2024年上半年,海航控股的商誉达到8.44亿元,相当于同期公司净资产14.23亿元的59.31%。
在偿债能力方面,公司2024年上半年末资产负债率为99.38%,相比上年末上升0.56个百分点;有息资产负债率为46.02%,相比上年末下降0.06个百分点。

2024年上半年,公司流动比率为0.85,速动比率为0.80。

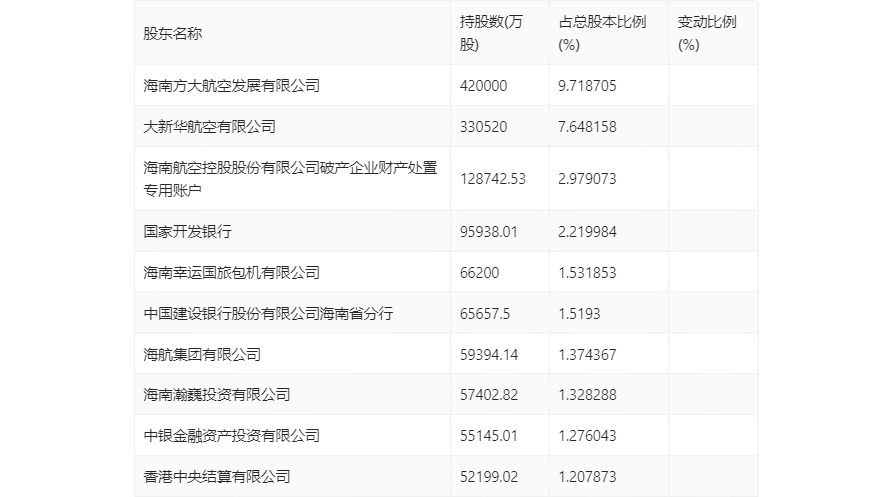
半年报显示,2024年上半年末公司十大流通股东中,新进股东为香港中央结算有限公司,取代了一季度末的海南海航商务服务有限公司。在具体持股比例上,海南航空控股股份有限公司破产企业财产处置专用账户持股有所下降。

值得注意的是,根据半年报数据,海航控股18.39%股份处于质押状态。其中,第二大股东海南方大航空发展有限公司质押42.00亿股公司股份,占其全部持股的100.00%。
筹码集中度方面,截至2024年二季度末,公司股东总户数为38.61万户,较一季度末下降了1506户,降幅0.39%;户均持股市值由一季度末的15.28万元下降至11.42万元,降幅为25.26%。

指标注解:
市盈率
=总市值/净利润。当公司亏损时市盈率为负,此时用市盈率估值没有实际意义,往往用市净率或市销率做参考。
市净率
=总市值/净资产。市净率估值法多用于盈利波动较大而净资产相对稳定的公司。
市销率
=总市值/营业收入。市销率估值法通常用于亏损或微利的成长型公司。
文中市盈率和市销率采用TTM方式,即以截至最近一期财报(含预报)12个月的数据计算。市净率采用LF方式,即以最近一期财报数据计算。
市盈率为负时,不显示当期分位数,会导致折线图中断。