圆通速递:2023年净利润同比下降5.03% 拟10派3.5元

中证智能财讯 圆通速递(600233)4月26日披露2023年年报。2023年,公司实现营业总收入576.84亿元,同比增长7.74%;归母净利润37.23亿元,同比下降5.03%;扣非净利润36.05亿元,同比下降4.63%;经营活动产生的现金流量净额为60.38亿元,同比下降18.30%;报告期内,圆通速递基本每股收益为1.0815元,加权平均净资产收益率为13.37%。公司2023年年度利润分配预案为:拟向全体股东每10股派3.5元(含税)。

以4月25日收盘价计算,圆通速递目前市盈率(TTM)约为15.36倍,市净率(LF)约为1.99倍,市销率(TTM)约为0.99倍。

公司近年市盈率(TTM)、市净率(LF)、市销率(TTM)历史分位图如下所示:



数据统计显示,圆通速递近三年营业总收入复合增长率为18.23%,在物流行业已披露2023年数据的37家公司中排名第12。近三年净利润复合年增长率为28.20%,排名5/37。

资料显示,公司主要快递服务企业以快递服务为核心,积极探索快运、冷链、仓配一体化等综合物流产品与服务。
分产品来看,2023年公司主营业务中,国内时效产品收入498.37亿元,同比增长12.21%,占营业收入的86.40%;货代服务收入30.68亿元,同比下降31.62%,占营业收入的5.32%;国际快递及包裹服务收入13.35亿元,同比增长67.00%,占营业收入的2.31%。

2023年,公司毛利率为10.16%,同比下降1.14个百分点;净利率为6.50%,较上年同期下降0.90个百分点。从单季度指标来看,2023年第四季度公司毛利率为9.35%,同比下降1.52个百分点,环比持平;净利率为6.25%,较上年同期下降1.59个百分点,较上一季度上升0.45个百分点。


报告期内,公司前五大客户合计销售金额55.70亿元,占总销售金额比例为9.66%,公司前五名供应商合计采购金额26.46亿元,占年度采购总额比例为5.11%。

数据显示,2023年公司加权平均净资产收益率为13.37%,较上年同期下降2.54个百分点;公司2023年投入资本回报率为11.28%,较上年同期下降2.53个百分点。

2023年,公司经营活动现金流净额为60.38亿元,同比下降18.30%;筹资活动现金流净额-9.25亿元,同比减少4.83亿元;投资活动现金流净额-33.86亿元,上年同期为-57.47亿元。
进一步统计发现,2023年公司自由现金流为40.28亿元,相比上年同期增长144.35%。

2023年,公司营业收入现金比为109.67%,净现比为162.19%。

营运能力方面,2023年,公司公司总资产周转率为1.40次,上年同期为1.46次(2022年行业平均值为1.25次,公司位居同行业21/46);公司应收账款周转率、存货周转率分别为43.05次、468.29次。

2023年,公司期间费用为13.11亿元,较上年同期减少5223.50万元;期间费用率为2.27%,较上年同期下降0.28个百分点。其中,销售费用同比下降20.14%,管理费用同比增长0.16%,研发费用同比增长163.96%,财务费用由去年同期的1422.83万元变为-7530.88万元。

资产重大变化方面,截至2023年年末,公司交易性金融资产较上年末减少69.46%,占公司总资产比重下降6.84个百分点;其他非流动资产较上年末增加203.66%,占公司总资产比重上升2.51个百分点;货币资金较上年末增加23.16%,占公司总资产比重上升2.17个百分点;应收账款较上年末增加78.16%,占公司总资产比重上升1.51个百分点。

负债重大变化方面,截至2023年年末,公司应付账款较上年末增加33.06%,占公司总资产比重上升2.20个百分点;长期借款较上年末增加268.27%,占公司总资产比重上升1.64个百分点;一年内到期的非流动负债较上年末减少77.11%,占公司总资产比重下降1.33个百分点;预收款项较上年末减少57.87%,占公司总资产比重下降1.04个百分点。

2023年全年,公司研发投入金额为2.23亿元,同比增长48.26%;研发投入占营业收入比例为0.39%,相比上年同期上升0.11个百分点。此外,公司全年研发投入资本化率为41.26%。

在偿债能力方面,公司2023年年末资产负债率为32.33%,相比上年末上升1.60个百分点;有息资产负债率为9.59%,相比上年末下降0.24个百分点。

2023年,公司流动比率为1.16,速动比率为1.15。

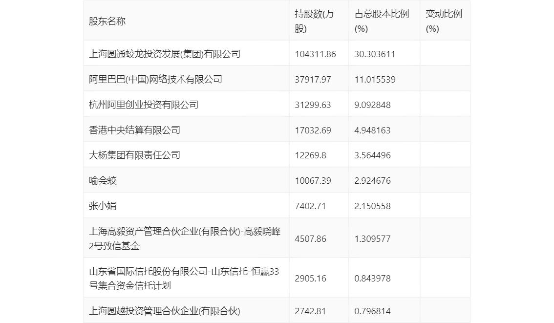
年报显示,2023年年末公司十大流通股东中,持股最多的为上海圆通蛟龙投资发展(集团)有限公司,占比30.30%。十大流通股东名单相比2023年三季报维持不变。在具体持股比例上,香港中央结算有限公司、大杨集团有限责任公司持股有所下降。

筹码集中度方面,截至2023年年末,公司股东总户数为4.66万户,较三季度末增长了2524户,增幅5.73%;户均持股市值由三季度末的117.42万元下降至90.81万元,降幅为22.66%。

指标注解:
市盈率
=总市值/净利润。当公司亏损时市盈率为负,此时用市盈率估值没有实际意义,往往用市净率或市销率做参考。
市净率
=总市值/净资产。市净率估值法多用于盈利波动较大而净资产相对稳定的公司。
市销率
=总市值/营业收入。市销率估值法通常用于亏损或微利的成长型公司。
文中市盈率和市销率采用TTM方式,即以截至最近一期财报(含预报)12个月的数据计算。市净率采用LF方式,即以最近一期财报数据计算。
市盈率为负时,不显示当期分位数,会导致折线图中断。