城建发展:2024年第一季度亏损3.30亿元

中证智能财讯 城建发展(600266)4月27日披露2024年一季报。2024年第一季度,公司实现营业总收入12.34亿元,同比下降8.86%;归母净利润亏损3.30亿元,上年同期盈利6258.65万元;扣非净利润亏损3.30亿元,上年同期亏损8962.60万元;经营活动产生的现金流量净额为23.17亿元,同比下降56.60%;报告期内,城建发展基本每股收益为-0.1823元,加权平均净资产收益率为-1.88%。


2024年第一季度,公司毛利率为26.70%,同比下降2.52个百分点;净利率为-29.59%,较上年同期下降31.98个百分点。

数据显示,2024年第一季度公司加权平均净资产收益率为-1.88%,较上年同期下降1.90个百分点;公司2024年第一季度投入资本回报率为-0.48%,较上年同期下降0.61个百分点。

2024年第一季度,公司经营活动现金流净额为23.17亿元,同比下降56.60%,主要系本报告期公司销售商品提供劳务收到的现金较上年同期相比有较大幅度减少所致;筹资活动现金流净额-7.07亿元,同比减少22.24亿元;投资活动现金流净额-2917.33万元,上年同期为-1.74亿元。

2024年第一季度,公司营业收入现金比为697.32%,净现比为-702.01%。

资产重大变化方面,截至2024年一季度末,公司货币资金较上年末增加11.09%,占公司总资产比重上升1.01个百分点;其他应收款(含利息和股利)较上年末减少8.46%,占公司总资产比重下降0.50个百分点;存货较上年末增加0.08%,占公司总资产比重下降0.46个百分点;其他流动资产较上年末增加9.46%,占公司总资产比重上升0.24个百分点。

负债重大变化方面,截至2024年一季度末,公司合同负债较上年末增加8.35%,占公司总资产比重上升1.97个百分点;应付债券较上年末增加23.74%,占公司总资产比重上升2.08个百分点;长期借款较上年末减少13.89%,占公司总资产比重下降1.71个百分点;应付账款较上年末减少14.61%,占公司总资产比重下降1.38个百分点。

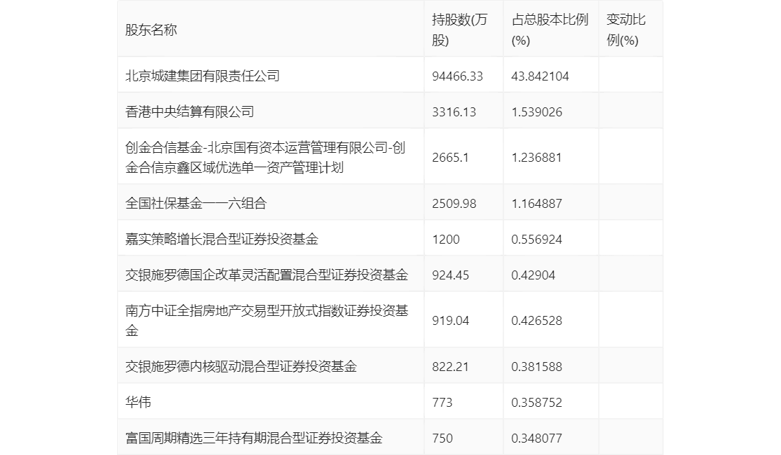
一季报显示,2024年一季度末公司十大流通股东中,新进股东为创金合信基金-北京国有资本运营管理有限公司-创金合信京鑫区域优选单一资产管理计划、嘉实策略增长混合型证券投资基金、交银施罗德国企改革灵活配置混合型证券投资基金、华伟、富国周期精选三年持有期混合型证券投资基金。在具体持股比例上,北京城建集团有限责任公司、全国社保基金一一六组合持股有所上升,香港中央结算有限公司、南方中证全指房地产交易型开放式指数证券投资基金、交银施罗德内核驱动混合型证券投资基金持股有所下降。

筹码集中度方面,截至2024年一季度末,公司股东总户数为5.62万户,较上年末增长了4377户,增幅8.45%;户均持股市值由上年末的21.09万元下降至15.04万元,降幅为28.69%。
