华泰股份:2024年上半年净利润1.83亿元 同比增长9.21%

中证智能财讯 华泰股份(600308)8月24日披露2024年半年度报告。2024年上半年,公司实现营业收入65.31亿元,同比下降3.40%;归母净利润1.83亿元,同比增长9.21%;扣非净利润1.76亿元,同比增长31.33%;经营活动产生的现金流量净额为-1506.75万元,上年同期为2886.91万元;报告期内,华泰股份基本每股收益为0.12元,加权平均净资产收益率为1.97%。


以8月23日收盘价计算,华泰股份目前市盈率(TTM)约为18.86倍,市净率(LF)约为0.51倍,市销率(TTM)约为0.36倍。

公司近年市盈率(TTM)、市净率(LF)、市销率(TTM)历史分位图如下所示:



根据半年报,公司第二季度实现营业总收入30.97亿元,同比下降4.08%,环比下降9.82%;归母净利润7044.61万元,同比增长15.12%,环比下降37.65%;扣非净利润6059.53万元,同比增长74.00%,环比下降47.51%。

半年报称,公司主要业务是造纸和化工,公司是全球单厂最大的新闻纸生产基地和全国领先的氯碱盐化工基地。
2024年上半年,公司毛利率为9.55%,同比下降2.08个百分点;净利率为2.89%,较上年同期上升0.94个百分点。从单季度指标来看,2024年第二季度公司毛利率为9.16%,同比下降2.14个百分点,环比下降0.73个百分点;净利率为2.44%,较上年同期上升1.29个百分点,较上一季度下降0.85个百分点。

数据显示,2024年上半年公司加权平均净资产收益率为1.97%,较上年同期增长0.13个百分点;公司2024年上半年投入资本回报率为1.79%,较上年同期增长0.49个百分点。

2024年上半年,公司经营活动现金流净额为-1506.75万元,同比减少4393.67万元;筹资活动现金流净额2.44亿元,同比减少2.06亿元;投资活动现金流净额-2.46亿元,上年同期为-4.45亿元。
进一步统计发现,2024年上半年公司自由现金流为-2.71亿元,上年同期为-4.64亿元。

2024年上半年,公司营业收入现金比为113.77%,净现比为-8.21%。

2024年上半年,公司期间费用为3.93亿元,较上年同期减少1.36亿元;期间费用率为6.02%,较上年同期下降1.81个百分点。其中,销售费用同比下降69.01%,管理费用同比下降41.84%,研发费用同比增长23.1%,财务费用同比下降3.91%。
资料显示,销售费用的变动主要因为本期液氯、盐酸处置费减少;管理费用的变动主要因为本期子公司安徽华泰林浆纸有限公司资产转让后,相应人工及折旧费用减少。

资产重大变化方面,截至2024年上半年末,公司其他应收款(含利息和股利)较上年末减少74.74%,占公司总资产比重下降3.64个百分点;存货较上年末增加24.98%,占公司总资产比重上升2.48个百分点;在建工程较上年末增加25.13%,占公司总资产比重上升1.20个百分点;应收款项融资较上年末减少23.76%,占公司总资产比重下降1.01个百分点。

负债重大变化方面,截至2024年上半年末,公司长期借款较上年末增加138.60%,占公司总资产比重上升4.27个百分点;短期借款较上年末减少17.67%,占公司总资产比重下降2.13个百分点;应付票据较上年末减少9.97%,占公司总资产比重下降0.68个百分点;应交税费较上年末减少52.89%,占公司总资产比重下降0.43个百分点。

从存货变动来看,截至2024年上半年末,公司存货账面价值为20.76亿元,占净资产的22.34%,较上年末增加4.16亿元。其中,存货跌价准备为3803.24万元,计提比例为1.8%。

在偿债能力方面,公司2024年上半年末资产负债率为39.84%,相比上年末上升0.87个百分点;有息资产负债率为18.47%,相比上年末上升2.17个百分点。

2024年上半年,公司流动比率为1.44,速动比率为1.01。

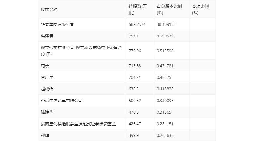
半年报显示,2024年上半年末公司十大流通股东中,新进股东为招商量化精选股票型发起式证券投资基金,取代了一季度末的裕恒资本双龙一号私募证券投资基金。在具体持股比例上,洪泽君持股有所上升,赵成绪、香港中央结算有限公司、孙辉持股有所下降。

筹码集中度方面,截至2024年上半年末,公司股东总户数为5.23万户,较一季度末下降了1631户,降幅3.03%;户均持股市值由一季度末的9.88万元下降至9.11万元,降幅为7.79%。

指标注解:
市盈率
=总市值/净利润。当公司亏损时市盈率为负,此时用市盈率估值没有实际意义,往往用市净率或市销率做参考。
市净率
=总市值/净资产。市净率估值法多用于盈利波动较大而净资产相对稳定的公司。
市销率
=总市值/营业收入。市销率估值法通常用于亏损或微利的成长型公司。
文中市盈率和市销率采用TTM方式,即以截至最近一期财报(含预报)12个月的数据计算。市净率采用LF方式,即以最近一期财报数据计算。
市盈率为负时,不显示当期分位数,会导致折线图中断。