华微电子:2023年净利润同比下降36.16% 拟10派0.116元

中证智能财讯 华微电子(600360)4月30日披露2023年年报。2023年,公司实现营业总收入17.42亿元,同比下降10.82%;归母净利润3686.94万元,同比下降36.16%;扣非净利润3485.54万元,同比增长1.40%;经营活动产生的现金流量净额为3.12亿元,同比下降36.49%;报告期内,华微电子基本每股收益为0.04元,加权平均净资产收益率为1.13%。公司2023年年度利润分配预案为:拟向全体股东每10股派0.116元(含税)。


以4月29日收盘价计算,华微电子目前市盈率(TTM)约为161.48倍,市净率(LF)约为1.83倍,市销率(TTM)约为3.42倍。

公司近年市盈率(TTM)、市净率(LF)、市销率(TTM)历史分位图如下所示:



数据统计显示,华微电子近三年营业总收入复合增长率为0.45%,在分立器件行业已披露2023年数据的19家公司中排名第15。近三年净利润复合年增长率为2.55%,排名11/19。

资料显示,公司是集功率半导体器件设计研发、芯片加工、封装测试及产品营销为一体的IDM型国家级高新技术企业。
分产品来看,2023年公司主营业务中,半导体分立器件收入16.66亿元,同比下降11.62%,占营业收入的95.68%。

截至2023年末,公司员工总数为2311人,人均创收75.37万元,人均创利1.60万元,人均薪酬10.51万元,较上年同期分别下降10.17%、35.69%、1.53%。

2023年,公司毛利率为23.62%,同比上升2.48个百分点;净利率为2.21%,较上年同期下降0.85个百分点。从单季度指标来看,2023年第四季度公司毛利率为24.00%,同比上升1.47个百分点,环比下降1.90个百分点;净利率为3.32%,较上年同期下降1.86个百分点,较上一季度上升0.34个百分点。

报告期内,公司前五大客户合计销售金额4.03亿元,占总销售金额比例为23.14%,公司前五名供应商合计采购金额2.86亿元,占年度采购总额比例为42.91%。

数据显示,2023年公司加权平均净资产收益率为1.13%,较上年同期下降0.66个百分点;公司2023年投入资本回报率为2.19%,较上年同期下降0.43个百分点。

2023年,公司经营活动现金流净额为3.12亿元,同比下降36.49%;筹资活动现金流净额-1.66亿元,同比增加1.13亿元;投资活动现金流净额-3.93亿元,上年同期为-3.33亿元。
进一步统计发现,2023年公司自由现金流为-1.75亿元,上年同期为0.01亿元。

2023年,公司营业收入现金比为100.63%,净现比为846.87%。

营运能力方面,2023年,公司公司总资产周转率为0.26次,上年同期为0.29次(2022年行业平均值为0.40次,公司位居同行业12/19);固定资产周转率为0.93次,上年同期为1.28次(2022年行业平均值为3.11次,公司位居同行业16/19);公司应收账款周转率、存货周转率分别为3.61次、4.38次。

2023年,公司期间费用为3.75亿元,较上年同期增加1392.33万元;期间费用率为21.53%,较上年同期上升3.05个百分点。其中,销售费用同比增长6.57%,管理费用同比增长8.98%,研发费用同比增长0.85%,财务费用同比下降0.18%。

资产重大变化方面,截至2023年年末,公司其他非流动资产较上年末增加95.42%,占公司总资产比重上升7.66个百分点;在建工程较上年末减少32.01%,占公司总资产比重下降6.74个百分点;货币资金较上年末减少22.80%,占公司总资产比重下降4.18个百分点;固定资产较上年末增加8.76%,占公司总资产比重上升3.23个百分点。

负债重大变化方面,截至2023年年末,公司短期借款较上年末减少80.04%,占公司总资产比重下降7.80个百分点;一年内到期的非流动负债较上年末增加108.38%,占公司总资产比重上升7.42个百分点;应付票据较上年末减少36.14%,占公司总资产比重下降1.83个百分点;长期递延收益较上年末增加130.11%,占公司总资产比重上升1.01个百分点。

从存货变动来看,截至2023年年末,公司存货账面价值为2.98亿元,占净资产的9.12%,较上年末减少1260.66万元。其中,存货跌价准备为1475.75万元,计提比例为4.72%。

2023年全年,公司研发投入金额为1.06亿元,同比增长0.85%;研发投入占营业收入比例为6.09%,相比上年同期上升0.70个百分点。此外,公司全年研发投入资本化率为0。


年报显示,报告期内,公司持续推进研发创新,努力攻克核心“卡脖子”技术,结合生产线智能化改造和数字化转型,提升发展新质生产力的能力。加强知识产权投入及保护力度,通过“国家知识产权示范企业”2023年度复审,报告期内共获得授权专利28项,其中8项发明专利。截至2023年末,公司累计拥有有效专利167项,专利授权持续保持高增长态势。
在偿债能力方面,公司2023年年末资产负债率为51.11%,相比上年末下降1.88个百分点;有息资产负债率为36.22%,相比上年末上升0.38个百分点。

2023年,公司流动比率为1.25,速动比率为1.09。

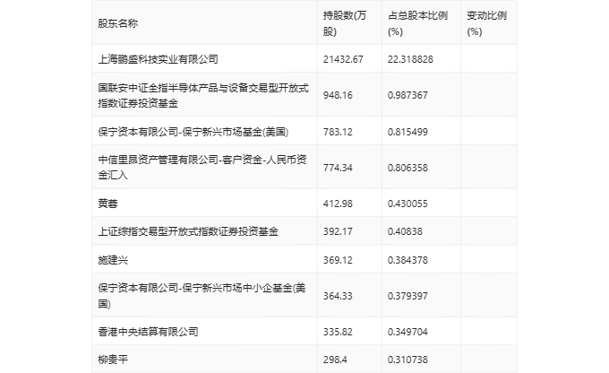
年报显示,2023年年末公司十大流通股东中,新进股东为施建兴、香港中央结算有限公司、柳贵平,取代了三季度末的中信证券股份有限公司、何漳荣、戴红。在具体持股比例上,黄蓉、上证综指交易型开放式指数证券投资基金持股有所上升,国联安中证全指半导体产品与设备交易型开放式指数证券投资基金、保宁资本有限公司-保宁新兴市场基金(美国)、中信里昂资产管理有限公司-客户资金-人民币资金汇入持股有所下降。

值得注意的是,根据年报数据,华微电子10.41%股份处于质押状态。其中,第一大股东上海鹏盛科技实业有限公司质押10000.00万股公司股份,占其全部持股的46.66%。
筹码集中度方面,截至2023年年末,公司股东总户数为11.54万户,较三季度末下降了6461户,降幅5.30%;户均持股市值由三季度末的5.28万元上升至6.02万元,增幅为14.02%。

指标注解:
市盈率
=总市值/净利润。当公司亏损时市盈率为负,此时用市盈率估值没有实际意义,往往用市净率或市销率做参考。
市净率
=总市值/净资产。市净率估值法多用于盈利波动较大而净资产相对稳定的公司。
市销率
=总市值/营业收入。市销率估值法通常用于亏损或微利的成长型公司。
文中市盈率和市销率采用TTM方式,即以截至最近一期财报(含预报)12个月的数据计算。市净率采用LF方式,即以最近一期财报数据计算。
市盈率为负时,不显示当期分位数,会导致折线图中断。