中航机载:2024年第一季度净利润4.54亿元 同比增长35.19%

中证智能财讯 中航机载(600372)4月27日披露2024年一季报。2024年第一季度,公司实现营业总收入56.43亿元,同比下降10.03%;归母净利润4.54亿元,同比增长35.19%;扣非净利润3.61亿元,同比增长99.01%;经营活动产生的现金流量净额为-12.70亿元,上年同期为-21.09亿元;报告期内,中航机载基本每股收益为0.0936元,加权平均净资产收益率为1.25%。



2024年第一季度,公司毛利率为25.12%,同比下降1.83个百分点;净利率为8.73%,较上年同期上升1.18个百分点。

数据显示,2024年第一季度公司加权平均净资产收益率为1.25%,较上年同期下降0.25个百分点;公司2024年第一季度投入资本回报率为1.04%,较上年同期增长0.16个百分点。

2024年第一季度,公司经营活动现金流净额为-12.70亿元,同比增加8.39亿元,主要系货款回收情况有所改善所致;筹资活动现金流净额11.77亿元,同比增加10.61亿元;投资活动现金流净额-2.97亿元,上年同期为-3.52亿元。

2024年第一季度,公司营业收入现金比为83.64%,净现比为-279.66%。

资产重大变化方面,截至2024年一季度末,公司应收账款较上年末增加8.34%,占公司总资产比重上升2.08个百分点;应收票据较上年末减少13.65%,占公司总资产比重下降1.24个百分点;货币资金较上年末减少3.07%,占公司总资产比重下降0.69个百分点;在建工程较上年末减少9.55%,占公司总资产比重下降0.26个百分点。

负债重大变化方面,截至2024年一季度末,公司短期借款较上年末增加29.82%,占公司总资产比重上升1.37个百分点;应付账款较上年末增加5.11%,占公司总资产比重上升0.91个百分点;长期应付款合计较上年末增加38.96%,占公司总资产比重下降0.69个百分点;一年内到期的非流动负债较上年末增加38.78%,占公司总资产比重上升0.61个百分点。

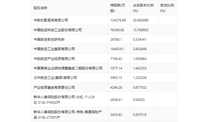
一季报显示,2024年一季度末公司十大流通股东中,新进股东为中国国有企业结构调整基金二期股份有限公司、产业投资基金有限责任公司,取代了上年末的中航投资控股有限公司、富国中证军工龙头交易型开放式指数证券投资基金。在具体持股比例上,新华人寿保险股份有限公司-分红-个人分红-018L-FH002沪持股有所下降。

筹码集中度方面,截至2024年一季度末,公司股东总户数为20.35万户,较上年末下降了1065户,降幅0.52%;户均持股市值由上年末的31.17万元下降至27.79万元,降幅为10.84%。
