宝光股份:2023年净利同比增长22.66% 拟10派0.65元

中证智能财讯 宝光股份(600379)4月11日披露2023年年报。2023年,公司实现营业总收入13.49亿元,同比增长9.84%;归母净利润7062.92万元,同比增长22.66%;扣非净利润6693.05万元,同比增长24.31%;经营活动产生的现金流量净额为7836.61万元,同比下降58.25%;报告期内,宝光股份基本每股收益为0.2139元,加权平均净资产收益率为10.45%。公司2023年年度利润分配预案为:拟向全体股东每10股派0.65元(含税)。



以4月10日收盘价计算,宝光股份目前市盈率(TTM)约为40.58倍,市净率(LF)约为4.07倍,市销率(TTM)约为2.12倍。

公司近年市盈率(TTM)、市净率(LF)、市销率(TTM)历史分位图如下所示:



数据统计显示,宝光股份近三年营业总收入复合增长率为14.37%,在输变电设备行业已披露2023年数据的9家公司中排名第5。近三年净利润复合年增长率为15.23%,排名7/9。

资料显示,公司主要业务为真空灭弧室相关业务、新能源相关业务。
分产品来看,2023年公司主营业务中,灭弧室产品收入8.30亿元,同比增长4.95%,占营业收入的61.53%;储能收入2.84亿元,同比增长65.84%,占营业收入的21.06%。

2023年,公司毛利率为19.86%,同比上升1.35个百分点;净利率为5.37%,较上年同期上升0.50个百分点。从单季度指标来看,2023年第四季度公司毛利率为34.00%,同比上升9.29个百分点,环比上升12.45个百分点;净利率为7.26%,较上年同期上升1.66个百分点,较上一季度上升0.41个百分点。

分产品看,灭弧室产品、储能2023年毛利率分别为20.30%、10.29%。
报告期内,公司前五大客户合计销售金额5.34亿元,占总销售金额比例为33.25%,公司前五名供应商合计采购金额2.62亿元,占年度采购总额比例为24.76%。

数据显示,2023年公司加权平均净资产收益率为10.45%,较上年同期增长1.32个百分点;公司2023年投入资本回报率为9.36%,较上年同期增长1.39个百分点。

2023年,公司经营活动现金流净额为7836.61万元,同比下降58.25%;筹资活动现金流净额-2134.95万元,同比增加3423.91万元;投资活动现金流净额-375.96万元,上年同期为-534.8万元。
进一步统计发现,2023年公司自由现金流为1.16亿元,相比上年同期下降46.65%。

2023年,公司营业收入现金比为88.55%,净现比为110.95%。

营运能力方面,2023年,公司公司总资产周转率为0.89次,上年同期为0.94次(2022年行业平均值为0.60次,公司位居同行业3/31);固定资产周转率为7.01次,上年同期为6.06次(2022年行业平均值为4.87次,公司位居同行业12/31);公司应收账款周转率、存货周转率分别为5.31次、5.49次。

2023年,公司期间费用为1.79亿元,较上年同期增加2102.62万元;期间费用率为13.24%,较上年同期上升0.40个百分点。其中,销售费用同比增长5.5%,管理费用同比增长10.53%,研发费用同比增长20.69%,财务费用由去年同期的-444.79万元变为-332.99万元。

资产重大变化方面,截至2023年年末,公司预付款项较上年末减少85.23%,占公司总资产比重下降6.51个百分点;存货较上年末增加32.99%,占公司总资产比重上升3.45个百分点;应收账款较上年末增加24.27%,占公司总资产比重上升3.33个百分点;货币资金较上年末增加13.13%,占公司总资产比重上升3.29个百分点。

负债重大变化方面,截至2023年年末,公司应付票据较上年末减少23.21%,占公司总资产比重下降7.32个百分点;应付账款较上年末增加40.23%,占公司总资产比重上升5.18个百分点;合同负债较上年末减少43.54%,占公司总资产比重下降1.27个百分点;租赁负债较上年末增加32.94%,占公司总资产比重上升0.30个百分点。

2023年全年,公司研发投入金额为5397.66万元,同比增长20.69%;研发投入占营业收入比例为4.00%,相比上年同期上升0.36个百分点。此外,公司全年研发投入资本化率为0。


在偿债能力方面,公司2023年年末资产负债率为51.95%,相比上年末下降2.94个百分点;有息资产负债率为0.78%,相比上年末下降0.01个百分点。

2023年,公司流动比率为1.70,速动比率为1.40。

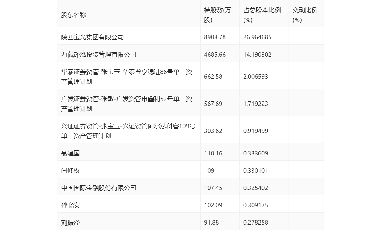
年报显示,2023年年末公司十大流通股东中,新进股东为中国国际金融股份有限公司、刘振泽,取代了三季度末的吴铁、华泰证券股份有限公司。在具体持股比例上,广发证券资管-张敏-广发资管申鑫利52号单一资产管理计划、闫修权持股有所上升,兴证证券资管-张宝玉-兴证资管阿尔法科睿109号单一资产管理计划、聂建国持股有所下降。

筹码集中度方面,截至2023年年末,公司股东总户数为2.51万户,较三季度末下降了587户,降幅2.29%;户均持股市值由三季度末的12.43万元上升至13.25万元,增幅为6.60%。

指标注解:
市盈率
=总市值/净利润。当公司亏损时市盈率为负,此时用市盈率估值没有实际意义,往往用市净率或市销率做参考。
市净率
=总市值/净资产。市净率估值法多用于盈利波动较大而净资产相对稳定的公司。
市销率
=总市值/营业收入。市销率估值法通常用于亏损或微利的成长型公司。
文中市盈率和市销率采用TTM方式,即以截至最近一期财报(含预报)12个月的数据计算。市净率采用LF方式,即以最近一期财报数据计算。
市盈率为负时,不显示当期分位数,会导致折线图中断。