北方导航:2024年上半年实现营业收入2.93亿元

中证智能财讯 北方导航(600435)8月22日披露2024年半年报。2024年上半年,公司实现营业总收入2.93亿元,同比下降82.98%;归母净利润亏损7421.68万元,上年同期盈利1.47亿元;扣非净利润亏损8610.79万元,上年同期盈利1.42亿元;经营活动产生的现金流量净额为-11.06亿元,上年同期为-4.68亿元;报告期内,北方导航基本每股收益为-0.0494元,加权平均净资产收益率为-2.80%。
公告称,公司营业收入变化主要由于母公司受总体单位合同签订进度影响,相关产品既定需求未如期签订合同,导致上半年营业收入较上年同期减少。


以8月21日收盘价计算,北方导航目前市盈率(TTM)约为-425.68倍,市净率(LF)约为4.74倍,市销率(TTM)约为5.77倍。

公司近年市盈率(TTM)、市净率(LF)、市销率(TTM)历史分位图如下所示:



根据半年报,公司第二季度实现营业总收入2.14亿元,同比下降81.16%,环比增长172.73%;归母净利润-2445.85万元,同比下降119.98%,环比增长50.85%;扣非净利润-2702.72万元,同比下降122.17%,环比增长54.25%。

2024年上半年,公司毛利率为40.09%,同比上升13.27个百分点;净利率为-27.65%,较上年同期下降37.24个百分点。从单季度指标来看,2024年第二季度公司毛利率为35.29%,同比上升8.75个百分点,环比下降17.89个百分点;净利率为-10.40%,较上年同期下降22.28个百分点,较上一季度上升64.30个百分点。

数据显示,2024年上半年公司加权平均净资产收益率为-2.80%,较上年同期下降8.46个百分点;公司2024年上半年投入资本回报率为-3.51%,较上年同期下降8.35个百分点。

2024年上半年,公司经营活动现金流净额为-11.06亿元,同比减少6.38亿元;筹资活动现金流净额-7121.18万元,同比减少2541.90万元;投资活动现金流净额2.12亿元,上年同期为-3.42亿元。
进一步统计发现,2024年上半年公司自由现金流为-11.65亿元,上年同期为-5.36亿元。

2024年上半年,公司营业收入现金比为198.31%。

营运能力方面,2024年上半年,公司公司总资产周转率为0.04次,上年同期为0.26次(2023年上半年行业平均值为0.14次,公司位居同行业2/12);公司应收账款周转率、存货周转率分别为0.09次、0.33次。

2024年上半年,公司期间费用为2.32亿元,较上年同期减少449.87万元;但期间费用率为79.22%,较上年同期上升65.48个百分点。其中,销售费用同比下降7.57%,管理费用同比增长1.82%,研发费用同比增长3.03%,财务费用由去年同期的-642.21万元变为-1397.80万元。
资料显示,销售费用的变动主要因为本期销售服务费用较上期减少;管理费用的变动主要因为本期人工成本较上期增加;财务费用的变动主要因为利息收入较上期增加;研发费用的变动主要因为本期自主研发经费投入较上期增加。

资产重大变化方面,截至2024年上半年末,公司货币资金较上年末减少59.37%,占公司总资产比重下降14.72个百分点;存货较上年末增加51.45%,占公司总资产比重上升4.61个百分点;应收账款较上年末减少8.23%,占公司总资产比重上升3.92个百分点;固定资产较上年末增加1.36%,占公司总资产比重上升2.03个百分点。

负债重大变化方面,截至2024年上半年末,公司应付账款较上年末减少14.95%,占公司总资产比重上升0.24个百分点;应付票据较上年末减少67.60%,占公司总资产比重下降4.34个百分点;应交税费较上年末减少90.46%,占公司总资产比重下降2.97个百分点;合同负债较上年末增加41.35%,占公司总资产比重上升0.50个百分点,主要系本期收到的研制经费收入增加。

从存货变动来看,截至2024年上半年末,公司存货账面价值为6.42亿元,占净资产的24.68%,较上年末增加2.18亿元。其中,存货跌价准备为3228.26万元,计提比例为4.79%。

在偿债能力方面,公司2024年上半年末资产负债率为46.14%,相比上年末下降6.24个百分点;有息资产负债率为0.02%,相比上年末基本持平。

2024年上半年,公司流动比率为1.78,速动比率为1.56。

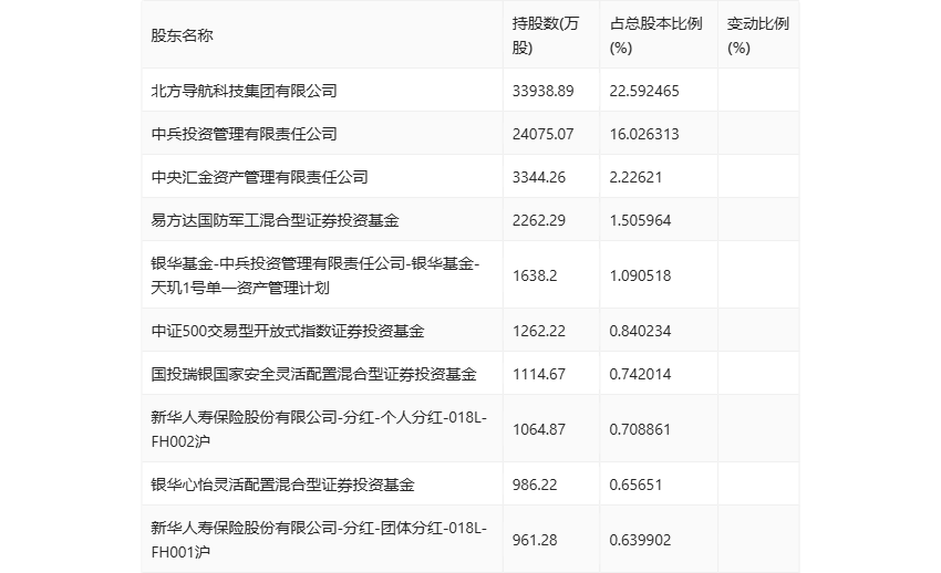
半年报显示,2024年上半年末公司十大流通股东中,新进股东为国投瑞银国家安全灵活配置混合型证券投资基金、新华人寿保险股份有限公司-分红-个人分红-018L-FH002沪、银华心怡灵活配置混合型证券投资基金、新华人寿保险股份有限公司-分红-团体分红-018L-FH001沪,取代了一季度末的国寿安保基金-中国人寿保险股份有限公司-分红险-国寿安保基金国寿股份均衡股票型组合单一资产管理计划(可供出售)、富国中证军工龙头交易型开放式指数证券投资基金、银华心佳两年持有期混合型证券投资基金、国泰中证军工交易型开放式指数证券投资基金。在具体持股比例上,易方达国防军工混合型证券投资基金持股有所上升,北方导航科技集团有限公司、中兵投资管理有限责任公司、中央汇金资产管理有限责任公司、银华基金-中兵投资管理有限责任公司-银华基金-天玑1号单一资产管理计划、中证500交易型开放式指数证券投资基金持股有所下降。

筹码集中度方面,截至2024年上半年末,公司股东总户数为9.44万户,较一季度末下降了3658户,降幅3.73%;户均持股市值由一季度末的13.86万元下降至13.71万元,降幅为1.08%。

指标注解:
市盈率
=总市值/净利润。当公司亏损时市盈率为负,此时用市盈率估值没有实际意义,往往用市净率或市销率做参考。
市净率
=总市值/净资产。市净率估值法多用于盈利波动较大而净资产相对稳定的公司。
市销率
=总市值/营业收入。市销率估值法通常用于亏损或微利的成长型公司。
文中市盈率和市销率采用TTM方式,即以截至最近一期财报(含预报)12个月的数据计算。市净率采用LF方式,即以最近一期财报数据计算。
市盈率为负时,不显示当期分位数,会导致折线图中断。