士兰微:2024年上半年亏损2492.39万元

中证智能财讯 士兰微(600460)8月20日披露2024年半年报。2024年上半年,公司实现营业总收入52.74亿元,同比增长17.83%;归母净利润亏损2492.39万元,上年同期亏损4121.89万元;扣非净利润1.26亿元,同比下降22.39%;经营活动产生的现金流量净额为1.13亿元,上年同期为-2.66亿元;报告期内,士兰微基本每股收益为-0.02元,加权平均净资产收益率为-0.21%。
公告称,公司营业收入变化主要由于本期销售规模有所扩大。
报告期内,公司合计非经常性损益为-1.51亿元,其中持有金融资产负债公允价值变动损益以及相关投资损益为-1.90亿元。


以8月19日收盘价计算,士兰微目前市盈率(TTM)约为-1699.01倍,市净率(LF)约为2.76倍,市销率(TTM)约为3.27倍。

公司近年市盈率(TTM)、市净率(LF)、市销率(TTM)历史分位图如下所示:



根据半年报,公司第二季度实现营业总收入28.09亿元,同比增长16.57%,环比增长13.95%;归母净利润-964.62万元,同比增长96.21%,环比增长36.86%;扣非净利润-669.92万元,同比下降113.60%,环比下降105.04%。

资料显示,公司主要业务为生产和销售电子元器件。
分产品来看,2024年上半年公司主营业务中,分立器件产品收入23.99亿元,同比增长3.97%,占营业收入的45.49%;集成电路收入20.35亿元,同比增长29.13%,占营业收入的38.60%;发光二极管产品收入4.17亿元,同比增长32.73%,占营业收入的7.91%。

2024年上半年,公司毛利率为19.90%,同比下降4.30个百分点;净利率为-2.11%,较上年同期下降1.10个百分点。从单季度指标来看,2024年第二季度公司毛利率为17.96%,同比下降4.55个百分点,环比下降4.14个百分点;净利率为-2.04%,较上年同期上升8.74个百分点,较上一季度上升0.16个百分点。

分产品看,分立器件产品、集成电路、发光二极管产品2024年上半年毛利率分别为14.51%、31.12%、3.27%。

数据显示,2024年上半年公司加权平均净资产收益率为-0.21%,较上年同期增长0.35个百分点;公司2024年上半年投入资本回报率为-0.27%,较上年同期下降0.68个百分点。

2024年上半年,公司经营活动现金流净额为1.13亿元,同比增加3.79亿元;筹资活动现金流净额-6.86亿元,同比减少14.98亿元;投资活动现金流净额-6.87亿元,上年同期为-5.72亿元。
进一步统计发现,2024年上半年公司自由现金流为-6.58亿元,上年同期为-10.41亿元。

2024年上半年,公司营业收入现金比为59.47%,净现比为-453.31%。

营运能力方面,2024年上半年,公司公司总资产周转率为0.22次,上年同期为0.26次(2023年上半年行业平均值为0.16次,公司位居同行业4/18);固定资产周转率为0.82次,上年同期为1.02次(2023年上半年行业平均值为1.29次,公司位居同行业8/18);公司应收账款周转率、存货周转率分别为2.07次、1.14次。

2024年上半年,公司期间费用为8.91亿元,较上年同期增加1.68亿元;期间费用率为16.90%,较上年同期上升0.74个百分点。其中,销售费用同比增长8.44%,管理费用同比增长31.95%,研发费用同比增长34.18%,财务费用同比下降15.09%。
资料显示,销售费用的变动主要因为本期职工薪酬增加;管理费用的变动主要因为本期职工薪酬、折旧、无形资产摊销增加;财务费用的变动主要因为本期利息收入增加;研发费用的变动主要因为本期研发人员人工费用、直接投入增加。

资产重大变化方面,截至2024年上半年末,公司货币资金较上年末减少20.07%,占公司总资产比重下降4.55个百分点;应收账款较上年末增加19.41%,占公司总资产比重上升2.23个百分点;在建工程较上年末增加21.43%,占公司总资产比重上升1.57个百分点;固定资产较上年末增加0.90%,占公司总资产比重上升1.04个百分点。

负债重大变化方面,截至2024年上半年末,公司长期借款较上年末减少24.89%,占公司总资产比重下降3.26个百分点;一年内到期的非流动负债较上年末增加47.35%,占公司总资产比重上升2.28个百分点;短期借款较上年末减少15.55%,占公司总资产比重下降0.99个百分点;应付职工薪酬较上年末减少33.27%,占公司总资产比重下降0.51个百分点。

从存货变动来看,截至2024年上半年末,公司存货账面价值为36.85亿元,占净资产的30.69%,较上年末减少4680.24万元。其中,存货跌价准备为2.83亿元,计提比例为7.14%。

在偿债能力方面,公司2024年上半年末资产负债率为42.01%,相比上年末下降1.86个百分点;有息资产负债率为24.36%,相比上年末下降1.97个百分点。

2024年上半年,公司流动比率为2.19,速动比率为1.56。

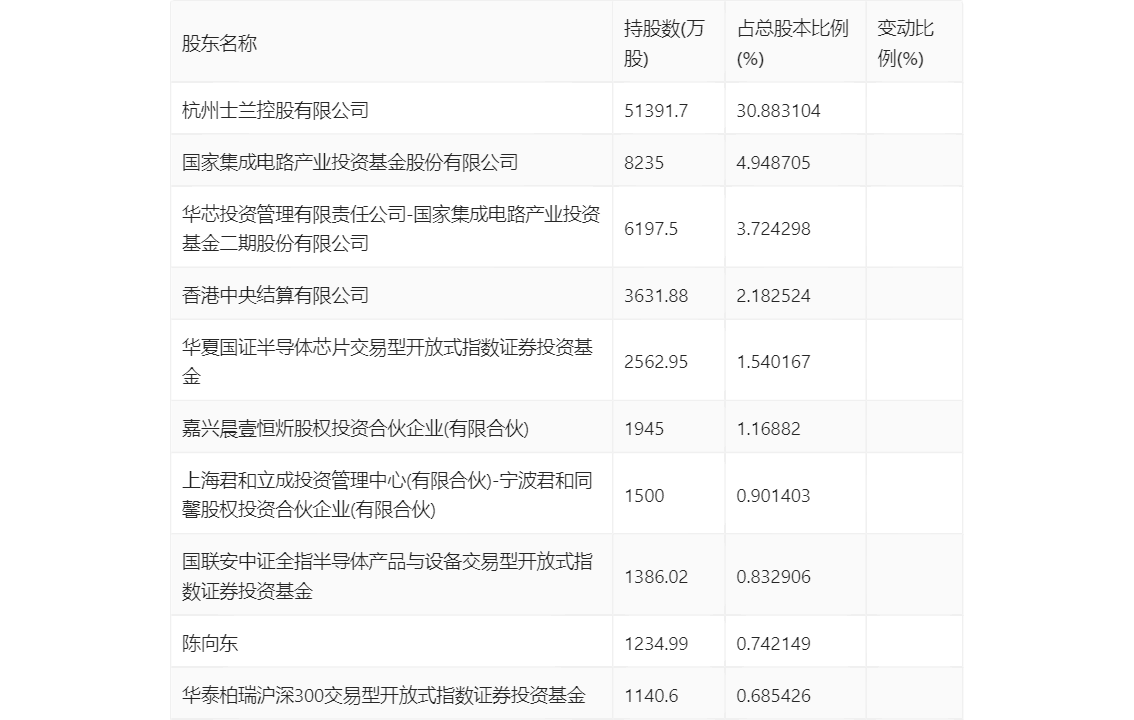
半年报显示,2024年上半年末公司十大流通股东中,新进股东为华芯投资管理有限责任公司-国家集成电路产业投资基金二期股份有限公司、嘉兴晨壹恒炘股权投资合伙企业(有限合伙)、上海君和立成投资管理中心(有限合伙)-宁波君和同馨股权投资合伙企业(有限合伙),取代了一季度末的天安人寿保险股份有限公司-传统产品、范伟宏、江忠永。在具体持股比例上,华夏国证半导体芯片交易型开放式指数证券投资基金、国联安中证全指半导体产品与设备交易型开放式指数证券投资基金、华泰柏瑞沪深300交易型开放式指数证券投资基金持股有所上升,香港中央结算有限公司持股有所下降。

筹码集中度方面,截至2024年上半年末,公司股东总户数为22.49万户,较一季度末增长了5187户,增幅2.36%;户均持股市值由一季度末的14.75万元下降至12.95万元,降幅为12.20%。

指标注解:
市盈率
=总市值/净利润。当公司亏损时市盈率为负,此时用市盈率估值没有实际意义,往往用市净率或市销率做参考。
市净率
=总市值/净资产。市净率估值法多用于盈利波动较大而净资产相对稳定的公司。
市销率
=总市值/营业收入。市销率估值法通常用于亏损或微利的成长型公司。
文中市盈率和市销率采用TTM方式,即以截至最近一期财报(含预报)12个月的数据计算。市净率采用LF方式,即以最近一期财报数据计算。
市盈率为负时,不显示当期分位数,会导致折线图中断。