凌云股份:2024年上半年净利润同比增长23.69% 拟10派1元

中证智能财讯 凌云股份(600480)8月27日披露2024年半年度报告。2024年上半年,公司实现营业收入89.38亿元,同比增长3.27%;归母净利润3.99亿元,同比增长23.69%;扣非净利润3.52亿元,同比增长15.39%;经营活动产生的现金流量净额为5.56亿元,同比增长91.01%;报告期内,凌云股份基本每股收益为0.44元,加权平均净资产收益率为5.50%。公司2024年半年度分配预案为:拟向全体股东每10股派现1元(含税)。


以8月26日收盘价计算,凌云股份目前市盈率(TTM)约为10.76倍,市净率(LF)约为1.05倍,市销率(TTM)约为0.4倍。

公司近年市盈率(TTM)、市净率(LF)、市销率(TTM)历史分位图如下所示:



根据半年报,公司第二季度实现营业总收入46.38亿元,同比下降1.13%,环比增长7.88%;归母净利润1.78亿元,同比下降25.57%,环比下降19.85%;扣非净利润1.53亿元,同比下降33.37%,环比下降23.10%。

资料显示,公司主要从事汽车零部件生产及销售业务、塑料管道系统生产及销售业务。
2024年上半年,公司毛利率为17.61%,同比上升1.69个百分点;净利率为5.89%,较上年同期上升0.87个百分点。从单季度指标来看,2024年第二季度公司毛利率为17.29%,同比上升0.85个百分点,环比下降0.66个百分点;净利率为5.59%,较上年同期下降0.69个百分点,较上一季度下降0.63个百分点。

数据显示,2024年上半年公司加权平均净资产收益率为5.50%,较上年同期增长0.64个百分点;公司2024年上半年投入资本回报率为4.70%,较上年同期增长0.88个百分点。

2024年上半年,公司经营活动现金流净额为5.56亿元,同比增长91.01%;筹资活动现金流净额-4.43亿元,同比减少5.01亿元;投资活动现金流净额-2.44亿元,上年同期为-4.22亿元。
进一步统计发现,2024年上半年公司自由现金流为6.58亿元,相比上年同期增长265.86%。

2024年上半年,公司营业收入现金比为83.38%,净现比为139.27%。

营运能力方面,2024年上半年,公司公司总资产周转率为0.47次,上年同期为0.47次(2023年上半年行业平均值为0.28次,公司位居同行业4/51);固定资产周转率为2.33次,上年同期为2.45次(2023年上半年行业平均值为1.39次,公司位居同行业8/51);公司应收账款周转率、存货周转率分别为1.93次、3.42次。

2024年上半年,公司期间费用为10.30亿元,较上年同期增加1.55亿元;期间费用率为11.52%,较上年同期上升1.41个百分点。其中,销售费用同比下降10.64%,管理费用同比增长22.33%,研发费用同比增长12.26%,财务费用同比增长8285.13%。

资产重大变化方面,截至2024年上半年末,公司应收账款较上年末增加15.36%,占公司总资产比重上升3.78个百分点;应收款项融资较上年末减少24.99%,占公司总资产比重下降1.41个百分点;应收票据较上年末减少38.79%,占公司总资产比重下降1.22个百分点;长期待摊费用较上年末减少23.33%,占公司总资产比重下降1.11个百分点。

负债重大变化方面,截至2024年上半年末,公司一年内到期的非流动负债较上年末增加221.93%,占公司总资产比重上升3.41个百分点;短期借款较上年末减少26.20%,占公司总资产比重下降2.08个百分点;应付票据较上年末减少23.04%,占公司总资产比重下降1.71个百分点;其他应付款(含利息和股利)较上年末增加117.72%,占公司总资产比重上升1.36个百分点。

从存货变动来看,截至2024年上半年末,公司存货账面价值为21.86亿元,占净资产的30.07%,较上年末增加6042.18万元。其中,存货跌价准备为6510.72万元,计提比例为2.89%。

在偿债能力方面,公司2024年上半年末资产负债率为50.14%,相比上年末下降2.27个百分点;有息资产负债率为11.06%,相比上年末下降2.11个百分点。

2024年上半年,公司流动比率为1.35,速动比率为1.11。

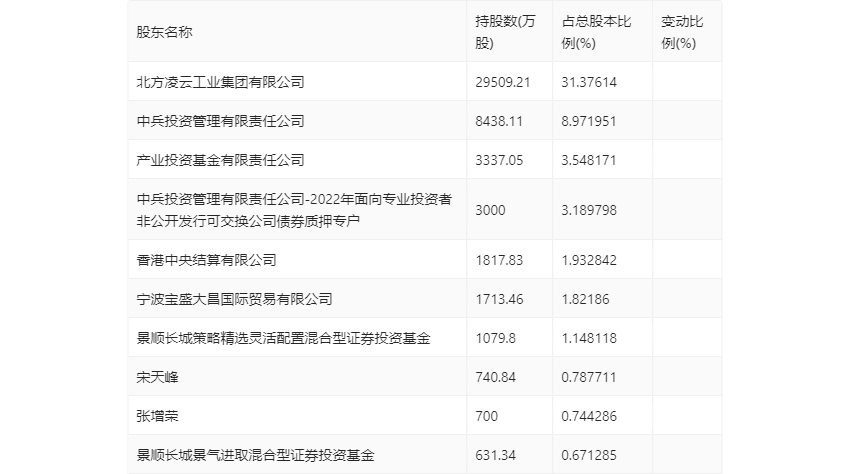
半年报显示,2024年上半年末公司十大流通股东中,新进股东为景顺长城策略精选灵活配置混合型证券投资基金、景顺长城景气进取混合型证券投资基金,取代了一季度末的广发科技创新混合型证券投资基金、重庆南方工业股权投资基金管理有限公司-重庆南方工业股权投资基金合伙企业(有限合伙)。在具体持股比例上,北方凌云工业集团有限公司、中兵投资管理有限责任公司、中兵投资管理有限责任公司-2022年面向专业投资者非公开发行可交换公司债券质押专户、香港中央结算有限公司、宁波宝盛大昌国际贸易有限公司、宋天峰持股有所上升,产业投资基金有限责任公司、张增荣持股有所下降。

筹码集中度方面,截至2024年上半年末,公司股东总户数为3.53万户,较一季度末下降了500户,降幅1.40%;户均持股市值由一季度末的25.85万元上升至26.16万元,增幅为1.20%。

指标注解:
市盈率
=总市值/净利润。当公司亏损时市盈率为负,此时用市盈率估值没有实际意义,往往用市净率或市销率做参考。
市净率
=总市值/净资产。市净率估值法多用于盈利波动较大而净资产相对稳定的公司。
市销率
=总市值/营业收入。市销率估值法通常用于亏损或微利的成长型公司。
文中市盈率和市销率采用TTM方式,即以截至最近一期财报(含预报)12个月的数据计算。市净率采用LF方式,即以最近一期财报数据计算。
市盈率为负时,不显示当期分位数,会导致折线图中断。