中国动力:2024年上半年净利润4.75亿元 同比增长65.70%

中证智能财讯 中国动力(600482)8月31日披露2024年半年报。2024年上半年,公司实现营业总收入248.61亿元,同比增长16.61%;归母净利润4.75亿元,同比增长65.70%;扣非净利润4.19亿元,同比增长206.66%;经营活动产生的现金流量净额为47.68亿元,同比增长253.51%;报告期内,中国动力基本每股收益为0.22元,加权平均净资产收益率为1.28%。
公告称,营业收入变化主要由于船舶行业发展良好,公司本期柴油机和船用机械销售规模继续扩大,订单大幅增长,且主要产品如船用低速发动机的订单价格也有所增长。

以8月30日收盘价计算,中国动力目前市盈率(TTM)约为49.64倍,市净率(LF)约为1.29倍,市销率(TTM)约为0.99倍。

公司近年市盈率(TTM)、市净率(LF)、市销率(TTM)历史分位图如下所示:



根据半年报,公司第二季度实现营业总收入134.59亿元,同比增长10.73%,环比增长18.04%;归母净利润3.87亿元,同比增长52.47%,环比增长339.56%;扣非净利润3.66亿元,同比增长208.61%,环比增长583.58%。

2024年上半年,公司毛利率为11.84%,同比上升0.71个百分点;净利率为3.14%,较上年同期上升1.24个百分点。从单季度指标来看,2024年第二季度公司毛利率为12.84%,同比上升1.33个百分点,环比上升2.19个百分点;净利率为4.44%,较上年同期上升1.45个百分点,较上一季度上升2.84个百分点。

数据显示,2024年上半年公司加权平均净资产收益率为1.28%,较上年同期增长0.48个百分点;公司2024年上半年投入资本回报率为1.17%,较上年同期增长0.54个百分点。

2024年上半年,公司经营活动现金流净额为47.68亿元,同比增长253.51%;筹资活动现金流净额-10.07亿元,同比减少29.74亿元;投资活动现金流净额-7.63亿元,上年同期为-24.14亿元。
进一步统计发现,2024年上半年公司自由现金流为60.32亿元,相比上年同期增长216.79%。

2024年上半年,公司营业收入现金比为110.84%,净现比为1003.02%。

营运能力方面,2024年上半年,公司总资产周转率为0.25次,上年同期为0.24次(2023年上半年行业平均值为0.25次,公司位居同行业10/23);固定资产周转率为1.91次,上年同期为1.66次(2023年上半年行业平均值为1.96次,公司位居同行业13/23);公司应收账款周转率、存货周转率分别为1.77次、1.23次。

2024年上半年,公司期间费用为22.11亿元,较上年同期增加2.50亿元;但期间费用率为8.89%,较上年同期下降0.31个百分点。其中,销售费用同比下降11.54%,管理费用同比增长12.31%,研发费用同比增长26.14%,财务费用由去年同期的-5677.40万元变为-1.05亿元。
资料显示,销售费用的变动主要因为本期通过提高产品质量降低修理费用、压减销售人员降低人工成本等措施,压降销售费用;管理费用的变动主要因为本期人工成本上涨,管理费用增加;财务费用的变动主要因为本期利息收入增加;研发费用的变动主要因为本期研发投入增加。

资产重大变化方面,截至2024年上半年末,公司货币资金较上年末增加12.71%,占公司总资产比重上升2.49个百分点;应收票据较上年末减少18.20%,占公司总资产比重下降1.08个百分点;应收账款较上年末增加9.93%,占公司总资产比重上升0.87个百分点;预付款项较上年末减少6.18%,占公司总资产比重下降0.60个百分点。

负债重大变化方面,截至2024年上半年末,公司合同负债较上年末增加17.65%,占公司总资产比重上升2.05个百分点;应付账款较上年末增加17.58%,占公司总资产比重上升1.90个百分点;长期借款较上年末减少21.68%,占公司总资产比重下降1.22个百分点;一年内到期的非流动负债较上年末增加53.76%,占公司总资产比重上升0.89个百分点。

从存货变动来看,截至2024年上半年末,公司存货账面价值为179.04亿元,占净资产的48.25%,较上年末增加4854.36万元。其中,存货跌价准备为5.17亿元,计提比例为2.81%。

在偿债能力方面,公司2024年上半年末资产负债率为53.14%,相比上年末上升0.87个百分点;有息资产负债率为9.17%,相比上年末下降1.26个百分点。

2024年上半年,公司流动比率为1.72,速动比率为1.32。

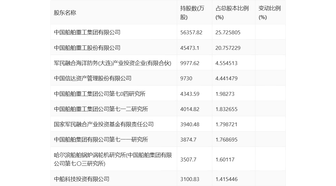
半年报显示,2024年上半年末公司十大流通股东中,新进股东为哈尔滨船舶锅炉涡轮机研究所(中国船舶集团有限公司第七〇三研究所)、中船科技投资有限公司,取代了一季度末的深圳新华富时-中信银行-国投泰康信托-国投泰康信托金雕399号单一资金信托、深圳市红塔资产-中信银行-中信信托-中信·宏商金融投资项目1601期单一资金信托。在具体持股比例上,中国船舶重工集团有限公司、中国船舶重工股份有限公司、军民融合海洋防务(大连)产业投资企业(有限合伙)、中国信达资产管理股份有限公司、中国船舶重工集团公司第七0四研究所、中国船舶重工集团公司第七一二研究所、国家军民融合产业投资基金有限责任公司、中国船舶集团有限公司第七一一研究所持股有所下降。

筹码集中度方面,截至2024年上半年末,公司股东总户数为5.8万户,较一季度末下降了174户,降幅0.30%;户均持股市值由一季度末的76.36万元下降至73.57万元,降幅为3.65%。

指标注解:
市盈率
=总市值/净利润。当公司亏损时市盈率为负,此时用市盈率估值没有实际意义,往往用市净率或市销率做参考。
市净率
=总市值/净资产。市净率估值法多用于盈利波动较大而净资产相对稳定的公司。
市销率
=总市值/营业收入。市销率估值法通常用于亏损或微利的成长型公司。
文中市盈率和市销率采用TTM方式,即以截至最近一期财报(含预报)12个月的数据计算。市净率采用LF方式,即以最近一期财报数据计算。
市盈率为负时,不显示当期分位数,会导致折线图中断。