方大炭素:2024年上半年净利润1.72亿元 同比下降38.73%

中证智能财讯 方大炭素(600516)8月29日披露2024年半年度报告。2024年上半年,公司实现营业收入23.52亿元,同比下降10.26%;归母净利润1.72亿元,同比下降38.73%;扣非净利润2.08亿元,同比下降6.20%;经营活动产生的现金流量净额为3.22亿元,同比下降5.34%;报告期内,方大炭素基本每股收益为0.0433元,加权平均净资产收益率为1.00%。
公告称,公司营业收入变化主要由于报告期产品价格下滑影响。



以8月28日收盘价计算,方大炭素目前市盈率(TTM)约为56.05倍,市净率(LF)约为1.0倍,市销率(TTM)约为3.54倍。

公司近年市盈率(TTM)、市净率(LF)、市销率(TTM)历史分位图如下所示:



根据半年报,公司第二季度实现营业总收入9.64亿元,同比下降24.41%,环比下降30.56%;归母净利润80.62万元,同比下降98.64%,环比下降99.53%;扣非净利润881.25万元,同比下降87.85%,环比下降95.58%。

资料显示,公司主要业务是石墨电极、块状炭砖、等静压石墨、核电用炭/石墨材料、石墨烯材料、碳/碳复合材料及炭素制品生产用主要原料煤系针状焦、低硫煅后石油焦和煤沥青等的研制、生产与销售。
2024年上半年,公司毛利率为22.67%,同比上升4.08个百分点;净利率为7.26%,较上年同期下降3.54个百分点。从单季度指标来看,2024年第二季度公司毛利率为17.84%,同比下降1.36个百分点,环比下降8.19个百分点;净利率为-0.42%,较上年同期下降4.85个百分点,较上一季度下降13.01个百分点。

数据显示,2024年上半年公司加权平均净资产收益率为1.00%,较上年同期下降0.71个百分点;公司2024年上半年投入资本回报率为0.57%,较上年同期下降0.69个百分点。

2024年上半年,公司经营活动现金流净额为3.22亿元,同比下降5.34%;筹资活动现金流净额1.52亿元,同比减少9.95亿元;投资活动现金流净额-2778.22万元,上年同期为9.08亿元。
进一步统计发现,2024年上半年公司自由现金流为2.81亿元,相比上年同期下降67.45%。

2024年上半年,公司营业收入现金比为105.07%,净现比为186.85%。

营运能力方面,2024年上半年,公司总资产周转率为0.11次,上年同期为0.13次(2023年上半年行业平均值为0.44次,公司位居同行业43/45);公司应收账款周转率、存货周转率分别为4.02次、1.06次。

2024年上半年,公司期间费用为1.96亿元,较上年同期减少5415.78万元;期间费用率为8.34%,较上年同期下降1.21个百分点。其中,销售费用同比下降4.94%,管理费用同比下降10.29%,研发费用同比下降12.34%,财务费用由去年同期的-5840.02万元变为-8322.03万元。
资料显示,销售费用的变动主要因为相对与上年同期,报告期销售服务费减少;管理费用的变动主要因为报告期节能降耗能源费用等减少;财务费用的变动主要因为报告期利息收入增加;研发费用的变动主要因为相对与上年同期,报告期人员薪酬减少。

资产重大变化方面,截至2024年上半年末,公司货币资金较上年末增加7.14%,占公司总资产比重上升2.29个百分点;应收票据较上年末减少29.11%,占公司总资产比重下降1.33个百分点;存货较上年末减少15.94%,占公司总资产比重下降1.31个百分点;在建工程较上年末增加27.66%,占公司总资产比重上升0.62个百分点。

负债重大变化方面,截至2024年上半年末,公司一年内到期的非流动负债较上年末增加15614.89%,占公司总资产比重上升2.94个百分点;短期借款较上年末增加60.50%,占公司总资产比重上升1.23个百分点;应付票据较上年末减少64.87%,占公司总资产比重下降1.20个百分点;其他流动负债较上年末减少40.21%,占公司总资产比重下降0.55个百分点。

从存货变动来看,截至2024年上半年末,公司存货账面价值为15.7亿元,占净资产的9.12%,较上年末减少2.98亿元。其中,存货跌价准备为5591.55万元,计提比例为3.44%。

在偿债能力方面,公司2024年上半年末资产负债率为13.67%,相比上年末下降1.37个百分点;有息资产负债率为6.18%,相比上年末上升1.23个百分点。

2024年上半年,公司流动比率为4.16,速动比率为3.54。

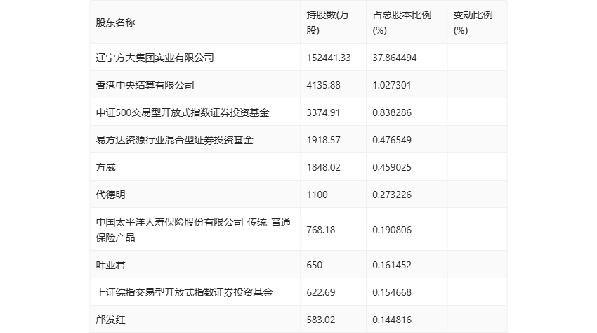
半年报显示,2024年上半年末公司十大流通股东中,新进股东为代德明、上证综指交易型开放式指数证券投资基金、邝发红,取代了一季度末的华泰证券股份有限公司、Citibank, National Association、嘉实中证500交易型开放式指数证券投资基金。在具体持股比例上,中证500交易型开放式指数证券投资基金、易方达资源行业混合型证券投资基金持股有所上升,香港中央结算有限公司、中国太平洋人寿保险股份有限公司-传统-普通保险产品持股有所下降。

值得注意的是,根据半年报数据,方大炭素30.10%股份处于质押状态。其中,第一大股东辽宁方大集团实业有限公司质押12.12亿股公司股份,占其全部持股的79.50%。
筹码集中度方面,截至2024年上半年末,公司股东总户数为24.15万户,较一季度末下降了8328户,降幅3.33%;户均持股市值由一季度末的7.78万元下降至7.18万元,降幅为7.71%。

指标注解:
市盈率
=总市值/净利润。当公司亏损时市盈率为负,此时用市盈率估值没有实际意义,往往用市净率或市销率做参考。
市净率
=总市值/净资产。市净率估值法多用于盈利波动较大而净资产相对稳定的公司。
市销率
=总市值/营业收入。市销率估值法通常用于亏损或微利的成长型公司。
文中市盈率和市销率采用TTM方式,即以截至最近一期财报(含预报)12个月的数据计算。市净率采用LF方式,即以最近一期财报数据计算。
市盈率为负时,不显示当期分位数,会导致折线图中断。