中天科技:2024年上半年净利润14.60亿元 同比下降25.31%

中证智能财讯 中天科技(600522)8月30日披露2024年半年报。2024年上半年,公司实现营业总收入214.16亿元,同比增长6.32%;归母净利润14.60亿元,同比下降25.31%;扣非净利润13.27亿元,同比下降9.33%;经营活动产生的现金流量净额为-15.64亿元,上年同期为-9.22亿元;报告期内,中天科技基本每股收益为0.43元,加权平均净资产收益率为4.30%。


以8月29日收盘价计算,中天科技目前市盈率(TTM)约为17.0倍,市净率(LF)约为1.32倍,市销率(TTM)约为0.96倍。

公司近年市盈率(TTM)、市净率(LF)、市销率(TTM)历史分位图如下所示:



根据半年报,公司第二季度实现营业总收入131.74亿元,同比增长11.00%,环比增长59.83%;归母净利润8.24亿元,同比下降30.57%,环比增长29.50%;扣非净利润8.32亿元,同比下降10.49%,环比增长67.80%。

2024年上半年,公司毛利率为16.68%,同比下降0.54个百分点;净利率为6.81%,较上年同期下降3.25个百分点。从单季度指标来看,2024年第二季度公司毛利率为15.84%,同比下降0.58个百分点,环比下降2.19个百分点;净利率为6.27%,较上年同期下降4.11个百分点,较上一季度下降1.40个百分点。

数据显示,2024年上半年公司加权平均净资产收益率为4.30%,较上年同期下降1.99个百分点;公司2024年上半年投入资本回报率为3.55%,较上年同期下降1.89个百分点。

2024年上半年,公司经营活动现金流净额为-15.64亿元,同比减少6.42亿元;筹资活动现金流净额-4.07亿元,同比减少2.64亿元;投资活动现金流净额-1.04亿元,上年同期为-5.59亿元。
进一步统计发现,2024年上半年公司自由现金流为-7.86亿元,上年同期为-4.29亿元。

2024年上半年,公司营业收入现金比为89.22%,净现比为-107.11%。

营运能力方面,2024年上半年,公司总资产周转率为0.39次,上年同期为0.40次(2023年上半年行业平均值为0.31次,公司位居同行业4/13);固定资产周转率为2.19次,上年同期为2.29次(2023年上半年行业平均值为1.71次,公司位居同行业5/13);公司应收账款周转率、存货周转率分别为1.40次、3.24次。

2024年上半年,公司期间费用为19.48亿元,较上年同期增加3.93亿元;期间费用率为9.10%,较上年同期上升1.38个百分点。其中,销售费用同比增长27.22%,管理费用同比增长2.0%,研发费用同比增长23.82%,财务费用由去年同期的-4509.13万元变为2754.55万元。
资料显示,财务费用的变动主要因为本报告期汇兑收益减少。

资产重大变化方面,截至2024年上半年末,公司应收账款较上年末增加26.27%,占公司总资产比重上升5.68个百分点;货币资金较上年末减少14.25%,占公司总资产比重下降4.69个百分点;其他权益工具投资合计较上年末减少47.01%,占公司总资产比重下降1.22个百分点;存货较上年末增加15.65%,占公司总资产比重上升1.17个百分点。

负债重大变化方面,截至2024年上半年末,公司应付账款较上年末增加22.18%,占公司总资产比重上升1.99个百分点;其他应付款(含利息和股利)较上年末增加289.20%,占公司总资产比重上升1.68个百分点;短期借款较上年末减少22.63%,占公司总资产比重下降1.55个百分点;长期借款较上年末增加28.04%,占公司总资产比重上升0.62个百分点。

从存货变动来看,截至2024年上半年末,公司存货账面价值为59.06亿元,占净资产的17.44%,较上年末增加7.99亿元。其中,存货跌价准备为17.53亿元,计提比例为22.88%。

在偿债能力方面,公司2024年上半年末资产负债率为38.29%,相比上年末上升1.56个百分点;有息资产负债率为8.92%,相比上年末下降1.36个百分点。

2024年上半年,公司流动比率为2.09,速动比率为1.78。

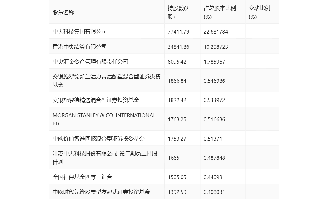
半年报显示,2024年上半年末公司十大流通股东中,新进股东为交银施罗德新生活力灵活配置混合型证券投资基金、江苏中天科技股份有限公司-第二期员工持股计划,取代了一季度末的高盛公司有限责任公司、UBS AG。在具体持股比例上,香港中央结算有限公司、交银施罗德精选混合型证券投资基金、MORGAN STANLEY & CO. INTERNATIONAL PLC.持股有所上升,中欧价值智选回报混合型证券投资基金、全国社保基金四零三组合、中欧时代先锋股票型发起式证券投资基金持股有所下降。

筹码集中度方面,截至2024年上半年末,公司股东总户数为17.55万户,较一季度末下降了4.5万户,降幅20.40%;户均持股市值由一季度末的21.72万元上升至30.82万元,增幅为41.90%。

指标注解:
市盈率
=总市值/净利润。当公司亏损时市盈率为负,此时用市盈率估值没有实际意义,往往用市净率或市销率做参考。
市净率
=总市值/净资产。市净率估值法多用于盈利波动较大而净资产相对稳定的公司。
市销率
=总市值/营业收入。市销率估值法通常用于亏损或微利的成长型公司。
文中市盈率和市销率采用TTM方式,即以截至最近一期财报(含预报)12个月的数据计算。市净率采用LF方式,即以最近一期财报数据计算。
市盈率为负时,不显示当期分位数,会导致折线图中断。