长园集团:2023年净利润8553.98万元 同比下降87.30%

中证智能财讯 长园集团(600525)4月20日披露2023年年报。2023年,公司实现营业总收入84.86亿元,同比增长11.47%;归母净利润8553.98万元,同比下降87.30%;扣非净利润7125.33万元,同比下降4.70%;经营活动产生的现金流量净额为9.42亿元,同比增长62.87%;报告期内,长园集团基本每股收益为0.07元,加权平均净资产收益率为1.66%。



以4月19日收盘价计算,长园集团目前市盈率(TTM)约为66.56倍,市净率(LF)约为1.09倍,市销率(TTM)约为0.67倍。

公司近年市盈率(TTM)、市净率(LF)、市销率(TTM)历史分位图如下所示:



数据统计显示,长园集团近三年营业总收入复合增长率为11.10%,在输变电设备行业已披露2023年数据的17家公司中排名第11。近三年净利润复合年增长率为-12.80%,排名15/17。

资料显示,公司主营业务智能电网设备与能源互联网技术服务、消费类电子智能设备、磷酸铁锂产品。
分产品来看,2023年公司主营业务中,智能电网设备与能源互联网技术服务收入54.99亿元,同比增长17.94%,占营业收入的64.80%;磷酸铁锂材料收入3.05亿元,同比下降27.72%,占营业收入的3.59%。

2023年,公司毛利率为36.06%,同比上升0.84个百分点;净利率为1.11%,较上年同期下降13.62个百分点。从单季度指标来看,2023年第四季度公司毛利率为36.46%,同比上升1.74个百分点,环比下降2.70个百分点;净利率为0.30%,较上年同期下降26.78个百分点,较上一季度下降0.33个百分点。

分产品看,智能电网设备与能源互联网技术服务、磷酸铁锂材料2023年毛利率分别为35.35%、4.31%。
报告期内,公司前五大客户合计销售金额16.34亿元,占总销售金额比例为19.25%,公司前五名供应商合计采购金额7.95亿元,占年度采购总额比例为13.02%。

数据显示,2023年公司加权平均净资产收益率为1.66%,较上年同期下降12.84个百分点;公司2023年投入资本回报率为2.24%,较上年同期下降12.95个百分点。

2023年,公司经营活动现金流净额为9.42亿元,同比增长62.87%;筹资活动现金流净额-1.75亿元,同比增加15.11亿元;投资活动现金流净额-3.91亿元,上年同期为4.22亿元。
进一步统计发现,2023年公司自由现金流为11.48亿元,相比上年同期下降19.50%。

2023年,公司营业收入现金比为108.38%,净现比为1101.52%。

营运能力方面,2023年,公司公司总资产周转率为0.58次,上年同期为0.58次(2022年行业平均值为0.60次,公司位居同行业17/31);固定资产周转率为10.17次,上年同期为9.60次(2022年行业平均值为4.87次,公司位居同行业5/31);公司应收账款周转率、存货周转率分别为2.59次、2.07次。

2023年,公司期间费用为29.40亿元,较上年同期增加2.74亿元;但期间费用率为34.64%,较上年同期下降0.38个百分点。其中,销售费用同比增长21.68%,管理费用同比增长5.53%,研发费用同比增长3.05%,财务费用同比增长17.82%。

资产重大变化方面,截至2023年年末,公司货币资金较上年末增加67.53%,占公司总资产比重上升3.86个百分点;其他权益工具投资合计较上年末增加0.60%,占公司总资产比重下降1.21个百分点;商誉较上年末减少2.76%,占公司总资产比重下降1.08个百分点;长期股权投资较上年末增加25.47%,占公司总资产比重上升0.81个百分点。

负债重大变化方面,截至2023年年末,公司其他流动负债较上年末增加229.86%,占公司总资产比重上升5.56个百分点;长期借款较上年末增加1337.51%,占公司总资产比重上升2.76个百分点,主要系增加华夏银行借款;应付账款较上年末增加13.50%,占公司总资产比重上升0.14个百分点;其他应付款(含利息和股利)较上年末增加60.64%,占公司总资产比重上升1.44个百分点。

从存货变动来看,截至2023年年末,公司存货账面价值为27.18亿元,占净资产的51.85%,较上年末增加1.97亿元。其中,存货跌价准备为1.92亿元,计提比例为6.59%。

2023年全年,公司研发投入金额为8.47亿元,同比增长3.75%;研发投入占营业收入比例为9.98%,相比上年同期下降0.75个百分点。此外,公司全年研发投入资本化率为2.90%。


资料显示,截至报告期末,公司共获得授权专利2748项,其中发明专利478项,国际专利38项;计算机软件著作权910项。
在偿债能力方面,公司2023年年末资产负债率为62.62%,相比上年末上升2.94个百分点;有息资产负债率为19.37%,相比上年末下降2.91个百分点。

2023年,公司流动比率为0.98,速动比率为0.67。

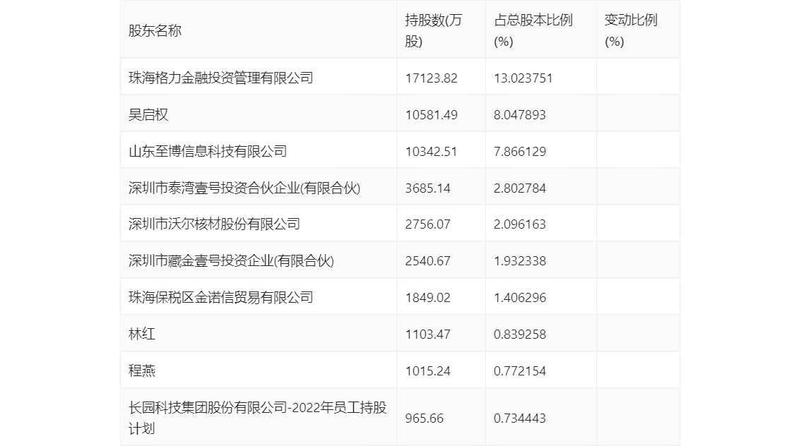
年报显示,2023年年末公司十大流通股东中,新进股东为长园科技集团股份有限公司-2022年员工持股计划,取代了三季度末的香港中央结算有限公司。在具体持股比例上,珠海格力金融投资管理有限公司、吴启权、山东至博信息科技有限公司、深圳市泰湾壹号投资合伙企业(有限合伙)、深圳市沃尔核材股份有限公司、深圳市藏金壹号投资企业(有限合伙)、珠海保税区金诺信贸易有限公司、林红、程燕持股有所上升。

筹码集中度方面,截至2023年年末,公司股东总户数为4.46万户,较三季度末增长了1014户,增幅2.33%;户均持股市值由三季度末的14.86万元上升至15.79万元,增幅为6.26%。

指标注解:
市盈率
=总市值/净利润。当公司亏损时市盈率为负,此时用市盈率估值没有实际意义,往往用市净率或市销率做参考。
市净率
=总市值/净资产。市净率估值法多用于盈利波动较大而净资产相对稳定的公司。
市销率
=总市值/营业收入。市销率估值法通常用于亏损或微利的成长型公司。
文中市盈率和市销率采用TTM方式,即以截至最近一期财报(含预报)12个月的数据计算。市净率采用LF方式,即以最近一期财报数据计算。
市盈率为负时,不显示当期分位数,会导致折线图中断。