豫光金铅:2024年第一季度净利润1.69亿元 同比增长11.29%

中证智能财讯 豫光金铅(600531)4月30日披露2024年一季报。2024年第一季度,公司实现营业总收入85.71亿元,同比增长2.70%;归母净利润1.69亿元,同比增长11.29%;扣非净利润1.68亿元,同比增长15.82%;经营活动产生的现金流量净额为-3.01亿元,上年同期为1.38亿元;报告期内,豫光金铅基本每股收益为0.155元,加权平均净资产收益率为3.44%。



2024年第一季度,公司毛利率为5.19%,同比上升0.15个百分点;净利率为1.97%,较上年同期上升0.15个百分点。

数据显示,2024年第一季度公司加权平均净资产收益率为3.44%,较上年同期增长0.01个百分点;公司2024年第一季度投入资本回报率为1.52%,较上年同期下降0.16个百分点。

2024年第一季度,公司经营活动现金流净额为-3.01亿元,同比减少4.39亿元,主要系报告期内公司原料市场价格上涨,购买商品、接受劳务支付的现金增加,以及报告期内支付的各项税费增加所致;筹资活动现金流净额6.72亿元,同比增加4.79亿元;投资活动现金流净额-1.22亿元,上年同期为-1.15亿元。

2024年第一季度,公司营业收入现金比为104.66%,净现比为-177.91%。

资产重大变化方面,截至2024年一季度末,公司固定资产较上年末减少2.04%,占公司总资产比重下降2.33个百分点;其他应收款(含利息和股利)较上年末增加151.47%,占公司总资产比重上升1.45个百分点;存货较上年末增加12.70%,占公司总资产比重上升1.43个百分点;应收账款较上年末增加69.07%,占公司总资产比重上升0.94个百分点。

负债重大变化方面,截至2024年一季度末,公司短期借款较上年末增加16.74%,占公司总资产比重上升2.14个百分点;一年内到期的非流动负债较上年末增加100.38%,占公司总资产比重上升4.20个百分点;长期借款较上年末减少32.17%,占公司总资产比重下降5.63个百分点;衍生金融负债较上年末增加168.05%,占公司总资产比重上升0.77个百分点。

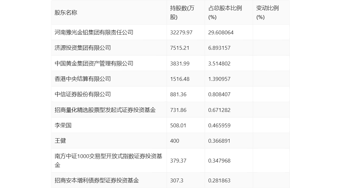
一季报显示,2024年一季度末公司十大流通股东中,新进股东为南方中证1000交易型开放式指数证券投资基金、招商安本增利债券型证券投资基金,取代了上年末的中国国际金融股份有限公司、谭益洋。在具体持股比例上,香港中央结算有限公司、招商量化精选股票型发起式证券投资基金持股有所上升,中信证券股份有限公司持股有所下降。

筹码集中度方面,截至2024年一季度末,公司股东总户数为6.91万户,较上年末增长了1253户,增幅1.85%;户均持股市值由上年末的9.72万元上升至10.49万元,增幅为7.92%。
