京能电力:2024年第一季度净利润4.69亿元 同比增长15.01%

中证智能财讯 京能电力(600578)4月27日披露2024年一季报。2024年第一季度,公司实现营业总收入91.14亿元,同比增长6.26%;归母净利润4.69亿元,同比增长15.01%;扣非净利润4.64亿元,同比增长17.49%;经营活动产生的现金流量净额为13.62亿元,上年同期为-2.68亿元;报告期内,京能电力基本每股收益为0.06元,加权平均净资产收益率为1.96%。



2024年第一季度,公司毛利率为10.44%,同比上升1.05个百分点;净利率为6.20%,较上年同期上升0.51个百分点。

数据显示,2024年第一季度公司加权平均净资产收益率为1.96%,较上年同期增长0.30个百分点;公司2024年第一季度投入资本回报率为1.12%,较上年同期增长0.01个百分点。

2024年第一季度,公司经营活动现金流净额为13.62亿元,同比增加16.29亿元;筹资活动现金流净额-5.98亿元,同比减少19.54亿元;投资活动现金流净额-11.73亿元,上年同期为-6.3亿元。

2024年第一季度,公司营业收入现金比为113.42%,净现比为290.51%。

资产重大变化方面,截至2024年一季度末,公司货币资金较上年末减少8.54%,占公司总资产比重下降0.46个百分点;在建工程较上年末增加10.75%,占公司总资产比重上升0.45个百分点;其他应收款(含利息和股利)较上年末减少86.25%,占公司总资产比重下降0.42个百分点;应收票据较上年末增加695.57%,占公司总资产比重上升0.41个百分点。

负债重大变化方面,截至2024年一季度末,公司短期借款较上年末减少13.34%,占公司总资产比重下降1.49个百分点;长期借款较上年末增加3.69%,占公司总资产比重上升0.93个百分点;长期应付款合计较上年末增加8.56%,占公司总资产比重上升0.34个百分点;应付账款较上年末减少3.52%,占公司总资产比重下降0.27个百分点。

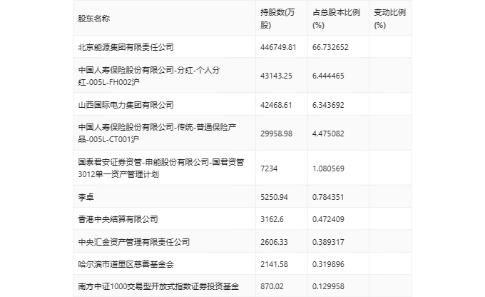
一季报显示,2024年一季度末公司十大流通股东中,新进股东为南方中证1000交易型开放式指数证券投资基金,取代了上年末的肇庆市泓力房地产发展有限公司。在具体持股比例上,香港中央结算有限公司持股有所上升。

筹码集中度方面,截至2024年一季度末,公司股东总户数为6.14万户,较上年末下降了3255户,降幅5.03%;户均持股市值由上年末的30.63万元上升至36.61万元,增幅为19.52%。
