金晶科技:2024年第一季度净利润1.70亿元 同比增长94.02%

中证智能财讯 金晶科技(600586)4月27日披露2024年一季报。2024年第一季度,公司实现营业总收入17.75亿元,同比下降6.79%;归母净利润1.70亿元,同比增长94.02%;扣非净利润1.65亿元,同比增长95.94%;经营活动产生的现金流量净额为3.43亿元,同比下降14.13%;报告期内,金晶科技基本每股收益为0.1203元,加权平均净资产收益率为2.88%。



2024年第一季度,公司毛利率为22.01%,同比上升8.63个百分点;净利率为9.66%,较上年同期上升4.99个百分点。

数据显示,2024年第一季度公司加权平均净资产收益率为2.88%,较上年同期增长1.26个百分点;公司2024年第一季度投入资本回报率为2.34%,较上年同期增长0.97个百分点。

2024年第一季度,公司经营活动现金流净额为3.43亿元,同比下降14.13%;筹资活动现金流净额-2945.40万元,同比减少5211.88万元;投资活动现金流净额-1.29亿元,上年同期为-3.78亿元。

2024年第一季度,公司营业收入现金比为77.42%,净现比为201.09%。

资产重大变化方面,截至2024年一季度末,公司固定资产较上年末减少2.61%,占公司总资产比重下降1.99个百分点;货币资金较上年末增加10.75%,占公司总资产比重上升1.57个百分点;应收款项融资较上年末减少18.59%,占公司总资产比重下降1.26个百分点;存货较上年末增加15.49%,占公司总资产比重上升1.06个百分点。

负债重大变化方面,截至2024年一季度末,公司短期借款较上年末增加11.13%,占公司总资产比重上升1.02个百分点;长期借款较上年末减少12.79%,占公司总资产比重下降1.16个百分点;应付票据较上年末减少7.04%,占公司总资产比重下降0.84个百分点;应付账款较上年末增加4.88%,占公司总资产比重上升0.37个百分点。

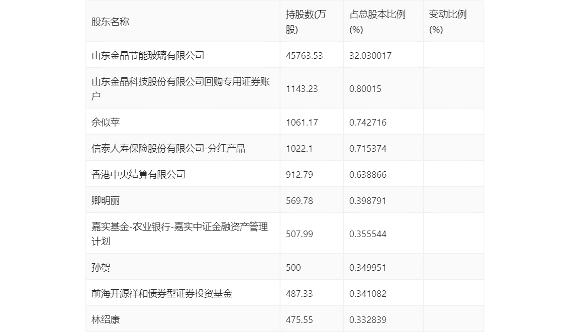
一季报显示,2024年一季度末公司十大流通股东中,新进股东为前海开源祥和债券型证券投资基金、林绍康,取代了上年末的赤钥3号私募证券投资基金、华安宏利混合型证券投资基金。在具体持股比例上,香港中央结算有限公司、卿明丽持股有所下降。

筹码集中度方面,截至2024年一季度末,公司股东总户数为10.61万户,较上年末下降了2754户,降幅2.53%;户均持股市值由上年末的8.77万元下降至7.94万元,降幅为9.46%。
