用友网络:2024年第一季度亏损4.53亿元

中证智能财讯 用友网络(600588)4月27日披露2024年一季报。2024年第一季度,公司实现营业总收入17.49亿元,同比增长18.61%;归母净利润亏损4.53亿元,上年同期亏损3.97亿元;扣非净利润亏损4.51亿元,上年同期亏损4.96亿元;经营活动产生的现金流量净额为-12.97亿元,上年同期为-11.67亿元;报告期内,用友网络基本每股收益为-0.14元,加权平均净资产收益率为-4.69%。



2024年第一季度,公司毛利率为50.85%,同比上升6.27个百分点;净利率为-26.69%,较上年同期上升1.60个百分点。

数据显示,2024年第一季度公司加权平均净资产收益率为-4.69%,较上年同期下降1.14个百分点;公司2024年第一季度投入资本回报率为-2.47%,较上年同期下降0.10个百分点。

2024年第一季度,公司经营活动现金流净额为-12.97亿元,同比减少1.31亿元;筹资活动现金流净额1.73亿元,同比减少3.64亿元;投资活动现金流净额-8.41亿元,上年同期为15.35亿元。

2024年第一季度,公司营业收入现金比为99.70%。

资产重大变化方面,截至2024年一季度末,公司货币资金较上年末减少34.52%,占公司总资产比重下降9.89个百分点;交易性金融资产较上年末增加371.44%,占公司总资产比重上升3.88个百分点;应收账款较上年末增加6.09%,占公司总资产比重上升1.10个百分点;在建工程较上年末增加68.56%,占公司总资产比重上升1.00个百分点。

负债重大变化方面,截至2024年一季度末,公司应付职工薪酬较上年末减少52.06%,占公司总资产比重下降2.61个百分点;一年内到期的非流动负债较上年末增加67.60%,占公司总资产比重上升1.30个百分点;长期借款较上年末增加14.92%,占公司总资产比重上升1.53个百分点;短期借款较上年末减少6.18%,占公司总资产比重下降0.25个百分点。

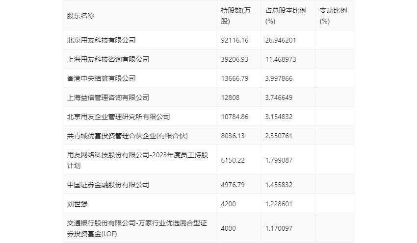
一季报显示,2024年一季度末公司十大流通股东中,持股最多的为北京用友科技有限公司,占比26.95%。十大流通股东名单相比2023年年报维持不变。在具体持股比例上,香港中央结算有限公司、刘世强持股有所下降。

筹码集中度方面,截至2024年一季度末,公司股东总户数为14.3万户,较上年末增长了1.16万户,增幅8.83%;户均持股市值由上年末的46.28万元下降至28.57万元,降幅为38.27%。
