中孚实业:2024年上半年净利润4.43亿元 同比增长7.11%

中证智能财讯 中孚实业(600595)8月16日披露2024年半年度报告。2024年上半年,公司实现营业收入109.94亿元,同比增长26.6%;归母净利润4.43亿元,同比增长7.11%;扣非净利润4.25亿元,同比增长5.69%;经营活动产生的现金流量净额为3.14亿元,同比下降54.18%;报告期内,中孚实业基本每股收益为0.11元,加权平均净资产收益率为3.19%。
公告称,公司营业收入变化主要由于本期铝加工产品销量增加。



以8月15日收盘价计算,中孚实业目前市盈率(TTM)约为7.99倍,市净率(LF)约为0.67倍,市销率(TTM)约为0.45倍。

公司近年市盈率(TTM)、市净率(LF)、市销率(TTM)历史分位图如下所示:



根据半年报,公司第二季度实现营业总收入58.12亿元,同比增长25.22%,环比增长12.15%;归母净利润4.0亿元,同比增长86.26%,环比增长814.16%;扣非净利润4.07亿元,同比增长90.73%,环比增长2219.54%。

资料显示,公司主要业务为铝及铝精深加工,配套煤炭开采、火力发电、炭素等产业。公司产品包括易拉罐罐体料、罐盖料、拉环料、新能源电池铝塑膜用铝箔、新能源电池集流体用铝箔、新能源电池极耳铝箔、高档双零铝箔毛料、3C电子产品用高表面阳极氧化料、汽车板用料、油罐车用高性能板材、铝合金车轮、高纯铝锭等,终端产品可广泛应用于易拉罐、利乐包、无菌包等快速消费品包装领域、新能源汽车领域及消费电子领域等。
2024年上半年,公司毛利率为10.26%,同比下降4.71个百分点;净利率为4.34%,较上年同期下降2.05个百分点。从单季度指标来看,2024年第二季度公司毛利率为14.18%,同比下降1.36个百分点,环比上升8.31个百分点;净利率为7.54%,较上年同期上升0.87个百分点,较上一季度上升6.79个百分点。

数据显示,2024年上半年公司加权平均净资产收益率为3.19%,较上年同期下降0.15个百分点;公司2024年上半年投入资本回报率为3.38%,较上年同期下降0.47个百分点。

2024年上半年,公司经营活动现金流净额为3.14亿元,同比下降54.18%;筹资活动现金流净额2.11亿元,同比增加6.39亿元;投资活动现金流净额-3.12亿元,上年同期为-4.19亿元。
进一步统计发现,2024年上半年公司自由现金流为-3.24亿元,上年同期为-11.02亿元。

2024年上半年,公司营业收入现金比为76.10%,净现比为70.81%。

营运能力方面,2024年上半年,公司公司总资产周转率为0.47次,上年同期为0.37次(2023年上半年行业平均值为0.40次,公司位居同行业21/30);固定资产周转率为0.75次,上年同期为0.60次(2023年上半年行业平均值为1.56次,公司位居同行业27/30);公司应收账款周转率、存货周转率分别为7.71次、4.00次。

2024年上半年,公司期间费用为4.83亿元,较上年同期减少1407.16万元;期间费用率为4.39%,较上年同期下降1.33个百分点。其中,销售费用同比增长43.84%,管理费用同比下降16.27%,研发费用同比增长12.89%,财务费用同比下降6.64%。
资料显示,销售费用的变动主要因为本期销售人员工资薪酬增加;管理费用的变动主要因为本期股权激励款分摊费用减少;财务费用的变动主要因为本期汇兑收益增加;研发费用的变动主要因为本期研发材料投入增加。

资产重大变化方面,截至2024年上半年末,公司固定资产较上年末减少1.62%,占公司总资产比重下降3.75个百分点;应收账款较上年末增加73.30%,占公司总资产比重上升2.98个百分点;货币资金较上年末增加29.77%,占公司总资产比重上升0.93个百分点;无形资产较上年末减少1.48%,占公司总资产比重下降0.63个百分点。

负债重大变化方面,截至2024年上半年末,公司一年内到期的非流动负债较上年末增加31.11%,占公司总资产比重上升1.03个百分点;其他应付款(含利息和股利)较上年末减少39.37%,占公司总资产比重下降1.15个百分点;短期借款较上年末增加81.85%,占公司总资产比重上升0.79个百分点;应付账款较上年末增加8.68%,占公司总资产比重上升0.28个百分点。

从存货变动来看,截至2024年上半年末,公司存货账面价值为25.65亿元,占净资产的18.13%,较上年末增加1.98亿元。其中,存货跌价准备为384.41万元,计提比例为0.15%。

在偿债能力方面,公司2024年上半年末资产负债率为35.19%,相比上年末上升0.74个百分点;有息资产负债率为11.68%,相比上年末上升1.61个百分点。

2024年上半年,公司流动比率为1.30,速动比率为0.78。

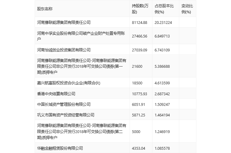
半年报显示,2024年上半年末公司十大流通股东中,新进股东为河南豫联能源集团有限责任公司-河南豫联能源集团有限责任公司非公开发行2018年可交换公司债券(第二期)质押专户、华融金融租赁股份有限公司,取代了一季度末的中银金融资产投资有限公司、工银金融资产投资有限公司。在具体持股比例上,香港中央结算有限公司持股有所上升。

值得注意的是,根据半年报数据,中孚实业17.01%股份处于质押状态。其中,第一大股东河南豫联能源集团有限责任公司质押6.67亿股公司股份,占其全部持股的82.22%。
筹码集中度方面,截至2024年上半年末,公司股东总户数为8.35万户,较一季度末增长了8584户,增幅11.46%;户均持股市值由一季度末的18.53万元下降至11.96万元,降幅为35.46%。

指标注解:
市盈率
=总市值/净利润。当公司亏损时市盈率为负,此时用市盈率估值没有实际意义,往往用市净率或市销率做参考。
市净率
=总市值/净资产。市净率估值法多用于盈利波动较大而净资产相对稳定的公司。
市销率
=总市值/营业收入。市销率估值法通常用于亏损或微利的成长型公司。
文中市盈率和市销率采用TTM方式,即以截至最近一期财报(含预报)12个月的数据计算。市净率采用LF方式,即以最近一期财报数据计算。
市盈率为负时,不显示当期分位数,会导致折线图中断。