华建集团:2024年上半年净利润1.87亿元 同比增长1.09%

中证智能财讯 华建集团(600629)8月30日披露2024年半年度报告。2024年上半年,公司实现营业收入35.98亿元,同比增长2.39%;归母净利润1.87亿元,同比增长1.09%;扣非净利润1.83亿元,同比增长45.95%;经营活动产生的现金流量净额为-7.45亿元,上年同期为-6.57亿元;报告期内,华建集团基本每股收益为0.19元,加权平均净资产收益率为3.69%。



以8月29日收盘价计算,华建集团目前市盈率(TTM)约为9.5倍,市净率(LF)约为0.8倍,市销率(TTM)约为0.44倍。

公司近年市盈率(TTM)、市净率(LF)、市销率(TTM)历史分位图如下所示:



根据半年报,公司第二季度实现营业总收入19.23亿元,同比增长5.22%,环比增长14.80%;归母净利润1.08亿元,同比增长10.61%,环比增长34.69%;扣非净利润1.05亿元,同比增长115.42%,环比增长33.77%。

分产品来看,2024年上半年公司主营业务中,工程设计收入21.06亿元,同比下降0.39%,占营业收入的58.54%;工程总承包收入11.47亿元,占营业收入的31.89%;工程技术咨询管理与勘察收入3.28亿元,同比增长7.11%,占营业收入的9.12%。

2024年上半年,公司毛利率为23.64%,同比上升1.12个百分点;净利率为5.45%,较上年同期下降0.38个百分点。从单季度指标来看,2024年第二季度公司毛利率为23.20%,同比上升1.60个百分点,环比下降0.94个百分点;净利率为5.60%,较上年同期下降0.14个百分点,较上一季度上升0.32个百分点。

分产品看,工程设计、工程总承包、工程技术咨询管理与勘察2024年上半年毛利率分别为31.57%、4.64%、38.08%。
数据显示,2024年上半年公司加权平均净资产收益率为3.69%,较上年同期下降0.31个百分点;公司2024年上半年投入资本回报率为2.72%,较上年同期下降0.46个百分点。

2024年上半年,公司经营活动现金流净额为-7.45亿元,同比减少8842.70万元;筹资活动现金流净额-1.85亿元,同比减少1.50亿元;投资活动现金流净额-2.37亿元,上年同期为4238.22万元。
进一步统计发现,2024年上半年公司自由现金流为-8.11亿元,上年同期为-7.91亿元。

2024年上半年,公司营业收入现金比为107.25%,净现比为-397.73%。

营运能力方面,2024年上半年,公司总资产周转率为0.23次,上年同期为0.23次(2023年上半年行业平均值为0.19次,公司位居同行业16/45);固定资产周转率为4.14次,上年同期为3.74次(2023年上半年行业平均值为3.41次,公司位居同行业22/45);公司应收账款周转率、存货周转率分别为1.17次、0.83次。

2024年上半年,公司期间费用为6.08亿元,较上年同期增加2633.86万元;期间费用率为16.89%,较上年同期上升0.35个百分点。其中,销售费用同比增长1.11%,管理费用同比下降0.95%,研发费用同比增长39.2%,财务费用由去年同期的-272.96万元变为-1376.84万元。
资料显示,财务费用的变动主要因为公司做好资金赋能,利用“资金池”平台,加强资金增值业务,利息收入同比增加;研发费用的变动主要因为公司持续加大研发投入,推进科技赋能产业发展。

资产重大变化方面,截至2024年上半年末,公司货币资金较上年末减少30.73%,占公司总资产比重下降6.55个百分点;存货较上年末增加11.25%,占公司总资产比重上升3.35个百分点;应收账款较上年末减少0.40%,占公司总资产比重上升0.91个百分点;合同资产较上年末减少6.81%,占公司总资产比重下降0.26个百分点。

负债重大变化方面,截至2024年上半年末,公司应付职工薪酬较上年末减少55.87%,占公司总资产比重下降2.14个百分点;应付账款较上年末减少3.29%,占公司总资产比重上升0.67个百分点;合同负债较上年末减少14.87%,占公司总资产比重下降0.85个百分点;应交税费较上年末减少25.20%,占公司总资产比重下降0.36个百分点。

从存货变动来看,截至2024年上半年末,公司存货账面价值为34.88亿元,占净资产的69.18%。根据财报,公司本期没有计提存货跌价准备。

在偿债能力方面,公司2024年上半年末资产负债率为64.10%,相比上年末下降2.23个百分点;有息资产负债率为2.68%,相比上年末上升0.58个百分点。

2024年上半年,公司流动比率为1.30,速动比率为0.90。

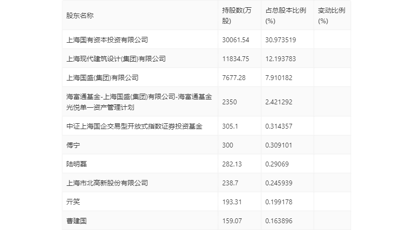
半年报显示,2024年上半年末的公司十大流通股东中,新进股东为陆明磊、亓笑、曹建国,取代了一季度末的香港中央结算有限公司、曹国成、国泰高分红策略股票型养老金产品-招商银行股份有限公司。在具体持股比例上,中证上海国企交易型开放式指数证券投资基金持股有所上升。

筹码集中度方面,截至2024年上半年末,公司股东总户数为4.15万户,较一季度末下降了3082户,降幅6.91%;户均持股市值由一季度末的11.41万元下降至10.20万元,降幅为10.60%。

指标注解:
市盈率
=总市值/净利润。当公司亏损时市盈率为负,此时用市盈率估值没有实际意义,往往用市净率或市销率做参考。
市净率
=总市值/净资产。市净率估值法多用于盈利波动较大而净资产相对稳定的公司。
市销率
=总市值/营业收入。市销率估值法通常用于亏损或微利的成长型公司。
文中市盈率和市销率采用TTM方式,即以截至最近一期财报(含预报)12个月的数据计算。市净率采用LF方式,即以最近一期财报数据计算。
市盈率为负时,不显示当期分位数,会导致折线图中断。