华建集团:1月7日高管金健减持股份合计1000股
证券之星消息,根据1月8日市场公开信息、上市公司公告及交易所披露数据整理,华建集团(600629)最新董监高及相关人员股份变动情况:2026年1月7日公司董事金健共减持公司股份1000.0股,占公司总股本为0.0001%。变动期间公司股价上涨3.41%,1月7日当日收盘报22.73元。
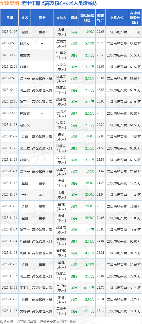
华建集团近半年内的董监高及核心技术人员增减持详情如下:

华建集团的高管列表及最新持股情况如下:

该股最近90天内共有1家机构给出评级,买入评级1家。
以上内容为证券之星据公开信息整理,由AI算法生成(网信算备310104345710301240019号),不构成投资建议。