万业企业:2023年净利润同比下降64.32% 拟10派0.5元

中证智能财讯 万业企业(600641)4月27日披露2023年年报。2023年,公司实现营业总收入9.65亿元,同比下降16.67%;归母净利润1.51亿元,同比下降64.32%;扣非净利润7732.90万元,同比下降75.85%;经营活动产生的现金流量净额为-2.41亿元,上年同期为-6.71亿元;报告期内,万业企业基本每股收益为0.1624元,加权平均净资产收益率为1.80%。公司2023年年度利润分配预案为:拟向全体股东每10股派0.5元(含税)。



以4月26日收盘价计算,万业企业目前市盈率(TTM)约为76.47倍,市净率(LF)约为1.38倍,市销率(TTM)约为11.98倍。

公司近年市盈率(TTM)、市净率(LF)、市销率(TTM)历史分位图如下所示:



数据统计显示,万业企业近三年营业总收入复合增长率为1.17%,在住宅开发行业已披露2023年数据的58家公司中排名第30。近三年净利润复合年增长率为-21.73%,排名22/58。

资料显示,公司主要从事集成电路核心装备的研发、生产、销售与技术服务以及房地产业务。
分产品来看,2023年公司主营业务中,房产销售收入5.48亿元,同比下降39.03%,占营业收入的56.77%;专用设备制造收入3.46亿元,同比增长67.53%,占营业收入的35.85%;物业服务收入0.36亿元,同比增长8.05%,占营业收入的3.68%。

截至2023年末,公司员工总数为618人,人均创收156.09万元,人均创利24.46万元,人均薪酬28.50万元,较上年同期分别变化-21.12%、-66.22%、25.05%。

2023年,公司毛利率为46.96%,同比下降7.48个百分点;净利率为8.70%,较上年同期下降24.71个百分点。从单季度指标来看,2023年第四季度公司毛利率为24.11%,同比下降32.21个百分点,环比下降33.38个百分点;净利率为-11.41%,较上年同期下降49.33个百分点,较上一季度下降15.92个百分点。

分产品看,房产销售、专用设备制造、物业服务2023年毛利率分别为66.51%、18.01%、6.63%。

报告期内,公司前五大客户合计销售金额2.17亿元,占总销售金额比例为22.46%,公司前五名供应商合计采购金额2.56亿元,占年度采购总额比例为45.14%。

数据显示,2023年公司加权平均净资产收益率为1.80%,较上年同期下降3.49个百分点;公司2023年投入资本回报率为0.72%,较上年同期下降3.51个百分点。

2023年,公司经营活动现金流净额为-2.41亿元,同比增加4.30亿元;筹资活动现金流净额5.83亿元,同比增加3.37亿元;投资活动现金流净额-4032.94万元,上年同期为3.56亿元。
进一步统计发现,2023年公司自由现金流为1349.83万元,上年同期为-6243.84万元。

2023年,公司营业收入现金比为95.83%,净现比为-159.14%。

营运能力方面,2023年,公司公司总资产周转率为0.09次,上年同期为0.12次(2022年行业平均值为0.18次,公司位居同行业63/86);固定资产周转率为10.22次,上年同期为24.73次(2022年行业平均值为22.55次,公司位居同行业33/86);公司应收账款周转率、存货周转率分别为9.82次、0.51次。

2023年,公司期间费用为3.53亿元,较上年同期增加1.23亿元;期间费用率为36.60%,较上年同期上升16.75个百分点。其中,销售费用同比增长109.45%,管理费用同比增长23.9%,研发费用同比增长50.8%,财务费用由去年同期的-5139.83万元变为-3560.73万元。

资产重大变化方面,截至2023年年末,公司交易性金融资产较上年末减少48.91%,占公司总资产比重下降7.22个百分点;其他非流动资产较上年末增加2281.91%,占公司总资产比重上升4.30个百分点;预付款项较上年末减少84.58%,占公司总资产比重下降3.18个百分点;在建工程较上年末增加159.20%,占公司总资产比重上升2.14个百分点。

负债重大变化方面,截至2023年年末,公司长期借款较上年末增加1534.79%,占公司总资产比重上升2.17个百分点;短期借款较上年末增加61.98%,占公司总资产比重上升1.10个百分点;应付账款较上年末增加72.49%,占公司总资产比重上升1.05个百分点;预计负债较上年末减少95.66%,占公司总资产比重下降1.18个百分点。

从存货变动来看,截至2023年年末,公司存货账面价值为11.03亿元,占净资产的13.18%,较上年末增加2.02亿元。其中,存货跌价准备为2124.58万元,计提比例为1.89%。

2023年全年,公司研发投入金额为1.63亿元,同比增长50.80%;研发投入占营业收入比例为16.90%,相比上年同期上升7.56个百分点。此外,公司全年研发投入资本化率为0。


资料显示,公司高度重视科技创新和知识产权保护工作。报告期内,公司子公司凯世通持续并加强知识产权体系建设,建立了涵盖整机系统、关键技术和工艺应用的全方位专利体系。公司子公司嘉芯半导体与嘉善复旦研究院达成产学研战略合作,积极推动多项专利申请和高新企业认定等工作,进一步加快公司发展的步伐。截至2023年12月,公司已申请266项专利,其中发明专利135项,实用新型专利123项,其他8项;已获授权专利198项,其中发明专利97项,实用新型专利93项,其他8项。
在偿债能力方面,公司2023年年末资产负债率为16.81%,相比上年末上升2.70个百分点;有息资产负债率为6.09%,相比上年末上升3.60个百分点。

2023年,公司流动比率为5.13,速动比率为4.04。

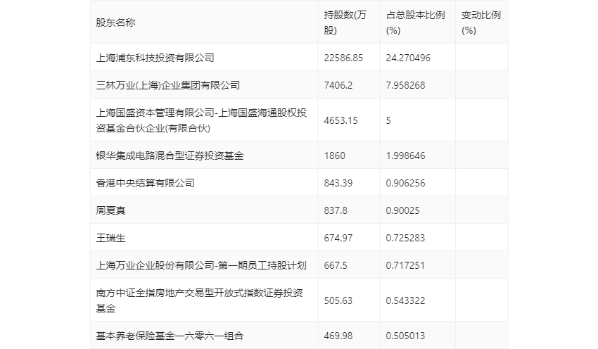
年报显示,2023年年末公司十大流通股东中,新进股东为上海国盛资本管理有限公司-上海国盛海通股权投资基金合伙企业(有限合伙),取代了三季度末的南方金融主题灵活配置混合型证券投资基金。在具体持股比例上,银华集成电路混合型证券投资基金、基本养老保险基金一六零六一组合持股有所上升,上海浦东科技投资有限公司、香港中央结算有限公司、上海万业企业股份有限公司-第一期员工持股计划、南方中证全指房地产交易型开放式指数证券投资基金持股有所下降。

值得注意的是,根据年报数据,万业企业13.71%股份处于质押状态。其中,第二大股东三林万业(上海)企业集团有限公司质押6760.00万股公司股份,占其全部持股的91.27%。
筹码集中度方面,截至2023年年末,公司股东总户数为5.68万户,较三季度末下降了6106户,降幅9.71%;户均持股市值由三季度末的23.31万元上升至28.29万元,增幅为21.36%。

指标注解:
市盈率
=总市值/净利润。当公司亏损时市盈率为负,此时用市盈率估值没有实际意义,往往用市净率或市销率做参考。
市净率
=总市值/净资产。市净率估值法多用于盈利波动较大而净资产相对稳定的公司。
市销率
=总市值/营业收入。市销率估值法通常用于亏损或微利的成长型公司。
文中市盈率和市销率采用TTM方式,即以截至最近一期财报(含预报)12个月的数据计算。市净率采用LF方式,即以最近一期财报数据计算。
市盈率为负时,不显示当期分位数,会导致折线图中断。