城投控股:2024年上半年亏损1.02亿元

中证智能财讯 城投控股(600649)8月31日披露2024年半年度报告。2024年上半年,公司实现营业收入6.53亿元,同比下降31.32%;归母净利润亏损1.02亿元,上年同期盈利2.84亿元;扣非净利润亏损7810.39万元,上年同期盈利2.54亿元;经营活动产生的现金流量净额为32.66亿元,上年同期为-30.61亿元;报告期内,城投控股基本每股收益为-0.04元,加权平均净资产收益率为-0.49%。
公告称,公司营业收入变化主要由于公司房产项目竣工交付结转较上年同期减少。


以8月30日收盘价计算,城投控股目前市盈率(TTM)约为281.04倍,市净率(LF)约为0.4倍,市销率(TTM)约为3.64倍。

公司近年市盈率(TTM)、市净率(LF)、市销率(TTM)历史分位图如下所示:



根据半年报,公司第二季度实现营业总收入2.32亿元,同比下降50.27%,环比下降44.94%;归母净利润-9659.91万元,同比下降142.74%,环比下降1766.67%;扣非净利润-8341.82万元,同比下降136.52%,环比下降1669.69%。

半年报显示,公司是一家以地产开发、运营和金融为主业,围绕房地产全产业链开展相关业务布局的综合性房地产集团。
2024年上半年,公司毛利率为48.56%,同比上升24.89个百分点;净利率为-18.27%,较上年同期下降46.90个百分点。从单季度指标来看,2024年第二季度公司毛利率为38.68%,同比上升51.71个百分点,环比下降15.32个百分点;净利率为-51.09%,较上年同期下降93.52个百分点,较上一季度下降50.89个百分点。

数据显示,2024年上半年公司加权平均净资产收益率为-0.49%,较上年同期下降1.85个百分点;公司2024年上半年投入资本回报率为0.34%,较上年同期下降0.42个百分点。

2024年上半年,公司经营活动现金流净额为32.66亿元,同比增加63.26亿元;筹资活动现金流净额-17.50亿元,同比减少35.29亿元;投资活动现金流净额7.90亿元,上年同期为-2061.02万元。
进一步统计发现,2024年上半年公司自由现金流为49.16亿元,上年同期为-21.10亿元。

2024年上半年,公司营业收入现金比为1122.00%,净现比为-3208.58%。

营运能力方面,2024年上半年,公司总资产周转率为0.01次,上年同期为0.01次(2023年上半年行业平均值为0.07次,公司位居同行业73/79);固定资产周转率为0.99次,上年同期为4.07次(2023年上半年行业平均值为8.45次,公司位居同行业46/79);公司应收账款周转率、存货周转率分别为0.51次、0.01次。

2024年上半年,公司期间费用为4.57亿元,较上年同期增加1472.57万元;期间费用率为69.92%,较上年同期上升23.45个百分点。其中,销售费用同比下降15.31%,管理费用同比增长1.53%,研发费用为148.25万元,财务费用同比增长6.27%。
资料显示,销售费用的变动主要因为本期房产营销费用较上年同期减少;管理费用的变动主要因为本期人工成本增加;财务费用的变动主要因为长租房项目竣工后利息支出不再资本化;研发费用的变动主要因为项目科研支出增加。

资产重大变化方面,截至2024年上半年末,公司货币资金较上年末增加35.82%,占公司总资产比重上升2.58个百分点;预付款项较上年末减少86.63%,占公司总资产比重下降1.60个百分点;其他应收款(含利息和股利)较上年末减少56.49%,占公司总资产比重下降1.16个百分点;投资性房地产较上年末增加21.17%,占公司总资产比重上升1.14个百分点。

负债重大变化方面,截至2024年上半年末,公司合同负债较上年末增加85.74%,占公司总资产比重上升6.78个百分点;应付债券较上年末增加29.83%,占公司总资产比重上升2.78个百分点;长期借款较上年末减少9.37%,占公司总资产比重下降4.20个百分点;应付账款较上年末减少31.22%,占公司总资产比重下降2.13个百分点。

从存货变动来看,截至2024年上半年末,公司存货账面价值为507.46亿元,占净资产的246.94%,较上年末增加12.34亿元。其中,存货跌价准备为1.99亿元,计提比例为0.39%。

在偿债能力方面,公司2024年上半年末资产负债率为73.68%,相比上年末上升1.38个百分点;有息资产负债率为49.84%,相比上年末下降3.15个百分点。

2024年上半年,公司流动比率为2.62,速动比率为0.53。

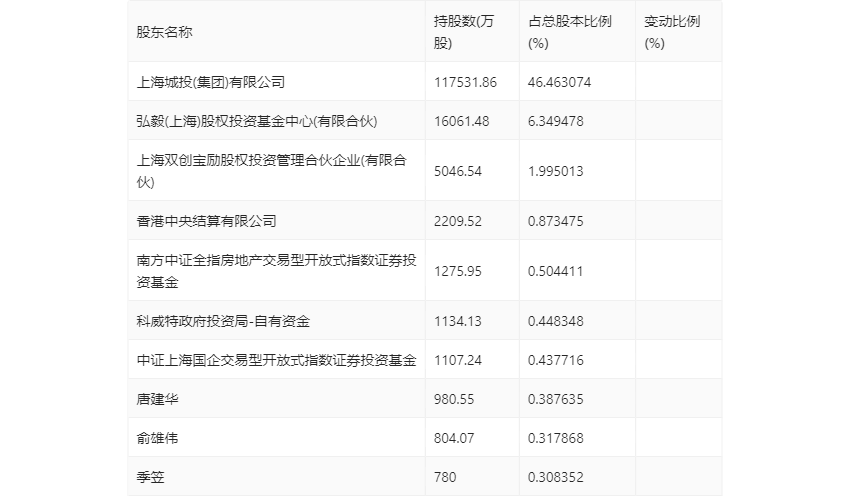
半年报显示,2024年上半年末的公司十大流通股东中,新进股东为南方中证全指房地产交易型开放式指数证券投资基金、科威特政府投资局-自有资金、俞雄伟、季笠,取代了一季度末的李赣东、戴志强、上海汇海投资有限公司、卢文星。在具体持股比例上,香港中央结算有限公司持股有所上升,中证上海国企交易型开放式指数证券投资基金持股有所下降。

筹码集中度方面,截至2024年上半年末,公司股东总户数为7.38万户,较一季度末增长了1966户,增幅2.74%;户均持股市值由一季度末的12.40万元下降至11.39万元,降幅为8.15%。

指标注解:
市盈率
=总市值/净利润。当公司亏损时市盈率为负,此时用市盈率估值没有实际意义,往往用市净率或市销率做参考。
市净率
=总市值/净资产。市净率估值法多用于盈利波动较大而净资产相对稳定的公司。
市销率
=总市值/营业收入。市销率估值法通常用于亏损或微利的成长型公司。
文中市盈率和市销率采用TTM方式,即以截至最近一期财报(含预报)12个月的数据计算。市净率采用LF方式,即以最近一期财报数据计算。
市盈率为负时,不显示当期分位数,会导致折线图中断。