外服控股:2024年第一季度净利润1.94亿元 同比增长5.99%

中证智能财讯 外服控股(600662)4月26日披露2024年一季报。2024年第一季度,公司实现营业总收入53.71亿元,同比增长15.77%;归母净利润1.94亿元,同比增长5.99%;扣非净利润1.14亿元,同比增长0.75%;经营活动产生的现金流量净额为-1.43亿元,上年同期为-8475.82万元;报告期内,外服控股基本每股收益为0.0856元,加权平均净资产收益率为4.46%。

2024年第一季度,公司毛利率为9.36%,同比下降0.16个百分点;净利率为4.17%,较上年同期下降0.20个百分点。

数据显示,2024年第一季度公司加权平均净资产收益率为4.46%,较上年同期下降0.11个百分点;公司2024年第一季度投入资本回报率为3.40%,较上年同期下降0.14个百分点。

2024年第一季度,公司经营活动现金流净额为-1.43亿元,同比减少5868.37万元;筹资活动现金流净额-5.10亿元,同比减少14.96亿元;投资活动现金流净额-1190.31万元,上年同期为-1977.28万元。

2024年第一季度,公司营业收入现金比为114.52%,净现比为-74.06%。

资产重大变化方面,截至2024年一季度末,公司货币资金较上年末减少6.90%,占公司总资产比重下降3.19个百分点;其他应收款(含利息和股利)较上年末增加12.98%,占公司总资产比重上升1.85个百分点;应收账款较上年末增加14.28%,占公司总资产比重上升0.84个百分点;预付款项较上年末增加17.42%,占公司总资产比重上升0.41个百分点。

负债重大变化方面,截至2024年一季度末,公司短期借款较上年末减少40.33%,占公司总资产比重下降3.05个百分点;应付账款较上年末减少15.88%,占公司总资产比重下降1.40个百分点;其他应付款(含利息和股利)较上年末增加2.68%,占公司总资产比重上升2.10个百分点;合同负债较上年末增加18.44%,占公司总资产比重上升0.76个百分点。

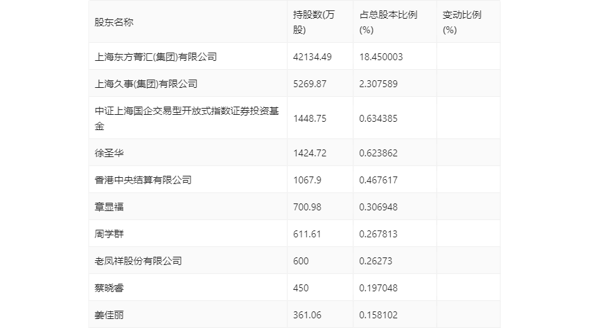
一季报显示,2024年一季度末公司十大流通股东中,新进股东为章显福、姜佳丽,取代了上年末的丁兰芳、富国沪深300增强证券投资基金。在具体持股比例上,中证上海国企交易型开放式指数证券投资基金、香港中央结算有限公司持股有所上升,蔡晓睿持股有所下降。

筹码集中度方面,截至2024年一季度末,公司股东总户数为5.25万户,较上年末下降了342户,降幅0.65%;户均持股市值由上年末的20.75万元下降至19.85万元,降幅为4.34%。
