珠江股份:2024年第一季度亏损253.84万元

中证智能财讯 珠江股份(600684)4月30日披露2024年一季报。2024年第一季度,公司实现营业总收入3.22亿元,同比下降84.74%;归母净利润亏损253.84万元,上年同期亏损5112.14万元;扣非净利润757.42万元,同比扭亏;经营活动产生的现金流量净额为-9123.36万元,上年同期为-6384.40万元;报告期内,珠江股份基本每股收益为0元,加权平均净资产收益率为-0.57%。



2024年第一季度,公司毛利率为19.75%,同比上升6.63个百分点;净利率为-0.61%,较上年同期下降0.44个百分点。

数据显示,2024年第一季度公司加权平均净资产收益率为-0.57%,较上年同期增长9.94个百分点;公司2024年第一季度投入资本回报率为-1.23%,较上年同期下降1.07个百分点。

2024年第一季度,公司经营活动现金流净额为-9123.36万元,同比减少2738.96万元,主要系销售商品收到的现金较上年同期减少所致;筹资活动现金流净额-4.04亿元,同比增加11.06亿元;投资活动现金流净额-89.87万元,上年同期为-4.58亿元。

2024年第一季度,公司营业收入现金比为117.53%。

资产重大变化方面,截至2024年一季度末,公司货币资金较上年末减少61.97%,占公司总资产比重下降19.27个百分点;其他应收款(含利息和股利)较上年末减少1.02%,占公司总资产比重上升9.71个百分点;应收账款较上年末增加12.05%,占公司总资产比重上升4.33个百分点;投资性房地产较上年末增加42.25%,占公司总资产比重上升1.94个百分点。

负债重大变化方面,截至2024年一季度末,公司一年内到期的非流动负债较上年末减少97.75%,占公司总资产比重下降36.71个百分点;其他应付款(含利息和股利)较上年末增加63.83%,占公司总资产比重上升29.48个百分点;应付职工薪酬较上年末减少53.09%,占公司总资产比重下降1.24个百分点;应交税费较上年末减少22.81%,占公司总资产比重上升0.03个百分点。

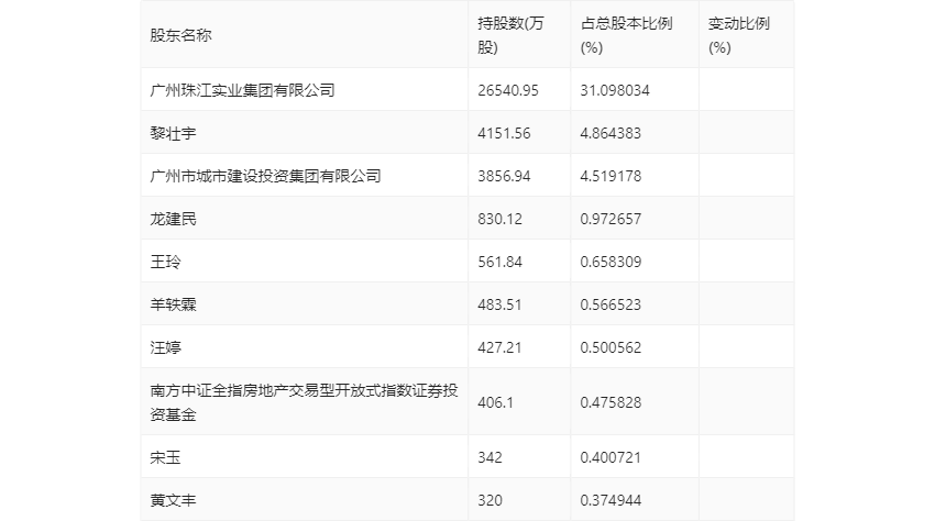
一季报显示,2024年一季度末公司十大流通股东中,新进股东为黄文丰,取代了上年末的中信证券股份有限公司。在具体持股比例上,龙建民、王玲、汪婷持股有所上升,南方中证全指房地产交易型开放式指数证券投资基金持股有所下降。

筹码集中度方面,截至2024年一季度末,公司股东总户数为3.72万户,较上年末下降了640户,降幅1.69%;户均持股市值由上年末的7.83万元下降至6.79万元,降幅为13.28%。
