湖南天雁:2024年第一季度净利润62.85万元 同比下降5.58%

中证智能财讯 湖南天雁(600698)4月27日披露2024年一季报。2024年第一季度,公司实现营业总收入1.01亿元,同比下降6.50%;归母净利润62.85万元,同比下降5.58%;扣非净利润亏损182.16万元,上年同期亏损32.34万元;经营活动产生的现金流量净额为139.39万元,同比增长306842.11%;报告期内,湖南天雁基本每股收益为0.0006元,加权平均净资产收益率为0.08%。



2024年第一季度,公司毛利率为13.02%,同比上升1.55个百分点;净利率为0.63%,较上年同期上升0.01个百分点。

数据显示,2024年第一季度公司加权平均净资产收益率为0.08%,较上年同期下降0.01个百分点;公司2024年第一季度投入资本回报率为0.00%,较上年同期增长0.07个百分点。

截至2024年一季度末,公司经营活动现金流净额为139.39万元,同比增长306842.11%;筹资活动现金流净额-166.97万元,同比减少166.97万元;投资活动现金流净额-2115.11万元,上年同期为-1765.46万元。

2024年第一季度,公司营业收入现金比为66.38%,净现比为221.78%。

资产重大变化方面,截至2024年一季度末,公司应收款项融资较上年末减少25.07%,占公司总资产比重下降2.31个百分点;应收票据较上年末减少28.05%,占公司总资产比重下降1.37个百分点;货币资金较上年末减少12.08%,占公司总资产比重下降1.24个百分点;固定资产较上年末减少1.61%,占公司总资产比重上升1.02个百分点。

负债重大变化方面,截至2024年一季度末,公司应付票据较上年末减少45.00%,占公司总资产比重下降3.54个百分点;应付账款较上年末减少15.72%,占公司总资产比重下降1.64个百分点;应付职工薪酬较上年末减少35.81%,占公司总资产比重下降0.57个百分点;合同负债较上年末增加84.75%,占公司总资产比重上升0.20个百分点。

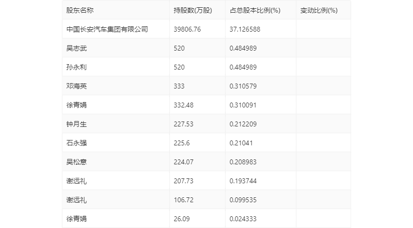
一季报显示,2024年一季度末公司十大流通股东中,新进股东为钟月生、石永强、吴松意,取代了上年末的石日超、中国国际金融股份有限公司、中信证券股份有限公司、GUOTAI JUNAN SECURITIES(HONGKONG) LIMITED。在具体持股比例上,中国长安汽车集团有限公司、吴志武、孙永利、邓海英持股有所上升,徐青娟、谢远礼、谢远礼、徐青娟持股有所下降。

筹码集中度方面,截至2024年一季度末,公司股东总户数为8.95万户,较上年末下降了2394户,降幅2.6%;户均持股市值由上年末的6.56万元下降至5.66万元,降幅为13.63%。
