华域汽车:2024年第一季度净利润12.63亿元 同比下降11.93%

中证智能财讯 华域汽车(600741)4月27日披露2024年一季报。2024年第一季度,公司实现营业总收入370.21亿元,同比增长0.56%;归母净利润12.63亿元,同比下降11.93%;扣非净利润10.85亿元,同比下降7.87%;经营活动产生的现金流量净额为12.24亿元,同比增长116.72%;报告期内,华域汽车基本每股收益为0.401元,加权平均净资产收益率为2.16%。



2024年第一季度,公司毛利率为12.54%,同比下降1.34个百分点;净利率为3.87%,较上年同期下降0.71个百分点。

数据显示,2024年第一季度公司加权平均净资产收益率为2.16%,较上年同期下降0.50个百分点;公司2024年第一季度投入资本回报率为1.81%,较上年同期下降0.42个百分点。

2024年第一季度,公司经营活动现金流净额为12.24亿元,同比增长116.72%,主要系本期货款结算周期变化所致;筹资活动现金流净额5.55亿元,同比减少5.08亿元,主要系本期归还部分借款所致;投资活动现金流净额-5.28亿元,上年同期为-8.86亿元,主要系本期投资减少所致。

2024年第一季度,公司营业收入现金比为95.28%,净现比为96.90%。

资产重大变化方面,截至2024年一季度末,公司应收账款较上年末减少11.08%,占公司总资产比重下降2.25个百分点;货币资金较上年末增加3.13%,占公司总资产比重上升0.92个百分点;应收款项融资较上年末增加8.87%,占公司总资产比重上升0.53个百分点;其他应收款(含利息和股利)较上年末增加26.74%,占公司总资产比重上升0.33个百分点。

负债重大变化方面,截至2024年一季度末,公司应付账款较上年末减少6.30%,占公司总资产比重下降1.75个百分点;应付票据较上年末增加16.14%,占公司总资产比重上升0.85个百分点;应付职工薪酬较上年末减少22.34%,占公司总资产比重下降0.64个百分点;短期借款较上年末增加8.15%,占公司总资产比重上升0.55个百分点。

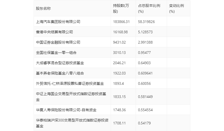
一季报显示,2024年一季度末公司十大流通股东中,新进股东为华泰柏瑞沪深300交易型开放式指数证券投资基金,取代了上年末的兴证全球基金-中国人寿保险股份有限公司-分红险-兴证全球基金国寿股份均衡股票型组合单一资产管理计划。在具体持股比例上,基本养老保险基金八零八组合持股有所上升,香港中央结算有限公司、大成睿享混合型证券投资基金、外贸信托-仁桥泽源股票私募证券投资基金、中证上海国企交易型开放式指数证券投资基金持股有所下降。

筹码集中度方面,截至2024年一季度末,公司股东总户数为6.32万户,较上年末下降了1854户,降幅2.85%;户均持股市值由上年末的78.87万元上升至83.32万元,增幅为5.64%。
