长江传媒:2024年上半年净利润5.32亿元 同比下降18.09%

中证智能财讯 长江传媒(600757)8月23日披露2024年半年报。2024年上半年,公司实现营业总收入35.73亿元,同比增长0.70%;归母净利润5.32亿元,同比下降18.09%;扣非净利润5.09亿元,同比下降20.22%;经营活动产生的现金流量净额为-1.36亿元,上年同期为4.67亿元;报告期内,长江传媒基本每股收益为0.44元,加权平均净资产收益率为5.75%。
公告称,公司营业收入变化主要由于本期产品销售量增加。


以8月21日收盘价计算,长江传媒目前市盈率(TTM)约为11.23倍,市净率(LF)约为1.11倍,市销率(TTM)约为1.49倍。

公司近年市盈率(TTM)、市净率(LF)、市销率(TTM)历史分位图如下所示:



根据半年报,公司第二季度实现营业总收入16.51亿元,同比增长8.26%,环比下降14.07%;归母净利润2.7亿元,同比增长2.38%,环比增长3.06%;扣非净利润2.55亿元,同比下降2.47%,环比增长0.33%。

资料显示,公司以图书、期刊、报纸、音像制品、电子出版物的出版、发行、印制、物资贸易为主业,拥有涵盖“编、印、发、供”的产业链,并逐步向数字阅读、在线教育、文化创意、投资金融等领域拓展,形成了跨领域、多介质、全链条发展格局。
2024年上半年,公司毛利率为37.23%,同比下降1.73个百分点;净利率为14.91%,较上年同期下降3.42个百分点。从单季度指标来看,2024年第二季度公司毛利率为39.35%,同比下降0.34个百分点,环比上升3.94个百分点;净利率为16.52%,较上年同期下降0.95个百分点,较上一季度上升2.98个百分点。

数据显示,2024年上半年公司加权平均净资产收益率为5.75%,较上年同期下降1.66个百分点;公司2024年上半年投入资本回报率为5.23%,较上年同期下降1.81个百分点。

2024年上半年,公司经营活动现金流净额为-1.36亿元,同比减少6.02亿元;筹资活动现金流净额-5.02亿元,同比减少8916.53万元;投资活动现金流净额2.58亿元,上年同期为1.56亿元。
进一步统计发现,2024年上半年公司自由现金流为1.44亿元,相比上年同期下降82.31%。

2024年上半年,公司营业收入现金比为75.63%,净现比为-25.48%。

营运能力方面,2024年上半年,公司公司总资产周转率为0.27次,上年同期为0.28次(2023年上半年行业平均值为0.23次,公司位居同行业1/10);固定资产周转率为3.21次,上年同期为3.33次(2023年上半年行业平均值为2.40次,公司位居同行业3/10);公司应收账款周转率、存货周转率分别为3.29次、1.98次。

2024年上半年,公司期间费用为6.77亿元,较上年同期减少9237.68万元;期间费用率为18.96%,较上年同期下降2.73个百分点。其中,销售费用同比下降12.81%,管理费用同比下降4.34%,研发费用同比下降8.99%,财务费用由去年同期的-3750.08万元变为-6623.89万元。
资料显示,销售费用的变动主要因为本期职工薪酬及宣传推广费减少;管理费用的变动主要因为本期职工薪酬减少;财务费用的变动主要因为本期利息收入增加;研发费用的变动主要因为本期研发投入减少。

资产重大变化方面,截至2024年上半年末,公司应收账款较上年末增加62.99%,占公司总资产比重上升4.03个百分点;货币资金较上年末减少26.48%,占公司总资产比重下降2.79个百分点;其他流动资产较上年末减少9.03%,占公司总资产比重下降1.69个百分点;存货较上年末减少12.01%,占公司总资产比重下降1.01个百分点。

负债重大变化方面,截至2024年上半年末,公司合同负债较上年末减少42.26%,占公司总资产比重下降3.23个百分点,主要系预收款符合收入确认条件转收入;应付账款较上年末增加8.66%,占公司总资产比重上升1.17个百分点;应交税费较上年末增加268.41%,占公司总资产比重上升0.65个百分点;应付票据较上年末增加18.56%,占公司总资产比重上升0.35个百分点。

从存货变动来看,截至2024年上半年末,公司存货账面价值为10.62亿元,占净资产的11.65%,较上年末减少1.45亿元。其中,存货跌价准备为3.62亿元,计提比例为25.42%。

在偿债能力方面,公司2024年上半年末资产负债率为30.10%,相比上年末下降1.06个百分点;有息资产负债率为0.17%,相比上年末基本持平。

2024年上半年,公司流动比率为1.65,速动比率为1.37。

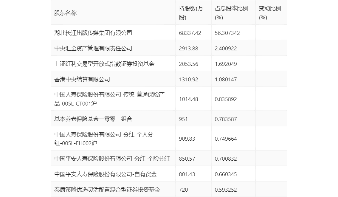
半年报显示,2024年上半年末公司十大流通股东中,新进股东为中国人寿保险股份有限公司-传统-普通保险产品-005L-CT001沪、中国人寿保险股份有限公司-分红-个人分红-005L-FH002沪、中国平安人寿保险股份有限公司-分红-个险分红、中国平安人寿保险股份有限公司-自有资金、泰康策略优选灵活配置混合型证券投资基金,取代了一季度末的富国中证红利指数增强型证券投资基金、上工申贝(集团)股份有限公司、基本养老保险基金一零零三组合、农银汇理工业4.0灵活配置混合型证券投资基金、深圳圣杰时代股权投资中心(有限合伙)。在具体持股比例上,湖北长江出版传媒集团有限公司、上证红利交易型开放式指数证券投资基金、基本养老保险基金一零零二组合持股有所上升,香港中央结算有限公司持股有所下降。

筹码集中度方面,截至2024年上半年末,公司股东总户数为3.49万户,较一季度末下降了3943户,降幅10.16%;户均持股市值由一季度末的25.11万元上升至28.06万元,增幅为11.75%。

指标注解:
市盈率
=总市值/净利润。当公司亏损时市盈率为负,此时用市盈率估值没有实际意义,往往用市净率或市销率做参考。
市净率
=总市值/净资产。市净率估值法多用于盈利波动较大而净资产相对稳定的公司。
市销率
=总市值/营业收入。市销率估值法通常用于亏损或微利的成长型公司。
文中市盈率和市销率采用TTM方式,即以截至最近一期财报(含预报)12个月的数据计算。市净率采用LF方式,即以最近一期财报数据计算。
市盈率为负时,不显示当期分位数,会导致折线图中断。