宁波海运:2024年第一季度亏损2458.76万元

中证智能财讯 宁波海运(600798)4月27日披露2024年一季报。2024年第一季度,公司实现营业总收入4.54亿元,同比增长1.95%;归母净利润亏损2458.76万元,上年同期盈利406.38万元;扣非净利润亏损3593.00万元,上年同期亏损473.50万元;经营活动产生的现金流量净额为6850.46万元,同比下降58.52%;报告期内,宁波海运基本每股收益为-0.0204元,加权平均净资产收益率为-0.62%。


2024年第一季度,公司毛利率为-1.05%,同比下降10.68个百分点;净利率为-7.54%,较上年同期下降10.01个百分点。

数据显示,2024年第一季度公司加权平均净资产收益率为-0.62%,较上年同期下降0.72个百分点;公司2024年第一季度投入资本回报率为-0.38%,较上年同期下降0.67个百分点。

2024年第一季度,公司经营活动现金流净额为6850.46万元,同比下降58.52%,主要系上年同期有年初7,400万元应收票据到期收回,本报告期无此项所致;筹资活动现金流净额-5659.17万元,同比减少3509.50万元;投资活动现金流净额-1459.95万元,上年同期为-1.45亿元。

2024年第一季度,公司营业收入现金比为96.39%,净现比为-278.61%。

资产重大变化方面,截至2024年一季度末,公司应收账款较上年末增加24.55%,占公司总资产比重上升1.11个百分点;无形资产较上年末减少2.73%,占公司总资产比重下降0.73个百分点;固定资产较上年末减少1.70%,占公司总资产比重下降0.31个百分点;合同资产较上年末减少87.41%,占公司总资产比重下降0.27个百分点。

负债重大变化方面,截至2024年一季度末,公司一年内到期的非流动负债较上年末减少42.55%,占公司总资产比重下降0.61个百分点;其他应付款(含利息和股利)较上年末增加107.03%,占公司总资产比重上升0.47个百分点;应付账款较上年末减少6.69%,占公司总资产比重下降0.17个百分点;应交税费较上年末减少42.80%,占公司总资产比重下降0.19个百分点。

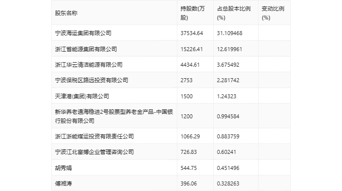
一季报显示,2024年一季度末公司十大流通股东中,新进股东为傅湘涛,取代了上年末的汇添富基金管理股份有限公司-社保基金1103组合。在具体持股比例上,浙江省能源集团有限公司、宁波保税区路远投资有限公司、新华养老通海稳进2号股票型养老金产品-中国银行股份有限公司持股有所上升,胡秀娟持股有所下降。

筹码集中度方面,截至2024年一季度末,公司股东总户数为6.47万户,较上年末增长了441户,增幅0.69%;户均持股市值由上年末的6.87万元下降至6.04万元,降幅为12.08%。
