华新水泥:2024年上半年净利润7.31亿元 同比下降38.74%

中证智能财讯 华新水泥(600801)8月31日披露2024年半年度报告。2024年上半年,公司实现营业收入162.37亿元,同比增长2.56%;归母净利润7.31亿元,同比下降38.74%;扣非净利润6.8亿元,同比下降41.88%;经营活动产生的现金流量净额为17.31亿元,同比下降18.64%;报告期内,华新水泥基本每股收益为0.35元,加权平均净资产收益率为2.49%。


以8月30日收盘价计算,华新水泥目前市盈率(TTM)约为9.67倍,市净率(LF)约为0.78倍,市销率(TTM)约为0.65倍。

公司近年市盈率(TTM)、市净率(LF)、市销率(TTM)历史分位图如下所示:



根据半年报,公司第二季度实现营业总收入91.54亿元,同比下降0.54%,环比增长29.22%;归母净利润5.53亿元,同比下降41.45%,环比增长211.65%;扣非净利润5.29亿元,同比下降43.57%,环比增长248.44%。

资料显示,公司是一家专营水泥制造和销售,水泥技术服务,水泥设备的研究、制造、安装及维修,水泥进出口贸易的专业化公司。
2024年上半年,公司毛利率为23.65%,同比下降0.73个百分点;净利率为6.29%,较上年同期下降2.24个百分点。从单季度指标来看,2024年第二季度公司毛利率为25.02%,同比下降2.35个百分点,环比上升3.13个百分点;净利率为7.97%,较上年同期下降3.63个百分点,较上一季度上升3.85个百分点。

数据显示,2024年上半年公司加权平均净资产收益率为2.49%,较上年同期下降1.75个百分点;公司2024年上半年投入资本回报率为2.25%,较上年同期下降0.89个百分点。

2024年上半年,公司经营活动现金流净额为17.31亿元,同比下降18.64%;筹资活动现金流净额-10.83亿元,同比增加9.71亿元;投资活动现金流净额-11.79亿元,上年同期为-22.22亿元。
进一步统计发现,2024年上半年公司自由现金流为10.10亿元,上年同期为-0.44亿元。

2024年上半年,公司营业收入现金比为91.39%,净现比为236.89%。

营运能力方面,2024年上半年,公司总资产周转率为0.24次,上年同期为0.24次(2023年上半年行业平均值为0.22次,公司位居同行业4/14);固定资产周转率为0.59次,上年同期为0.65次(2023年上半年行业平均值为0.59次,公司位居同行业7/14);公司应收账款周转率、存货周转率分别为5.96次、3.57次。

2024年上半年,公司期间费用为21.67亿元,较上年同期增加3.70亿元;期间费用率为13.35%,较上年同期上升2.00个百分点。其中,销售费用同比增长13.9%,管理费用同比增长13.23%,研发费用同比增长21.62%,财务费用同比增长63.09%。
资料显示,财务费用的变动主要因为汇兑损失增加。

资产重大变化方面,截至2024年上半年末,公司应收账款较上年末增加40.97%,占公司总资产比重上升1.34个百分点;货币资金较上年末减少10.13%,占公司总资产比重下降0.88个百分点;无形资产较上年末增加2.63%,占公司总资产比重上升0.55个百分点;其他流动资产较上年末减少24.58%,占公司总资产比重下降0.52个百分点。

负债重大变化方面,截至2024年上半年末,公司长期应付款合计较上年末增加178.38%,占公司总资产比重上升0.86个百分点;其他应付款(含利息和股利)较上年末增加41.54%,占公司总资产比重上升0.60个百分点;一年内到期的非流动负债较上年末增加6.12%,占公司总资产比重上升0.57个百分点;应交税费较上年末减少42.04%,占公司总资产比重下降0.44个百分点。

在偿债能力方面,公司2024年上半年末资产负债率为52.18%,相比上年末上升0.57个百分点;有息资产负债率为29.53%,相比上年末上升0.53个百分点。

2024年上半年,公司流动比率为0.79,速动比率为0.60。

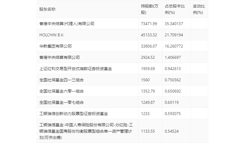
半年报显示,2024年上半年末的公司十大流通股东中,新进股东为全国社保基金一零七组合,取代了一季度末的中国铁路武汉局集团有限公司。在具体持股比例上,香港中央结算有限公司、上证红利交易型开放式指数证券投资基金持股有所上升,全国社保基金四一三组合、工银瑞信创新动力股票型证券投资基金持股有所下降。

筹码集中度方面,截至2024年二季度末,公司股东总户数为4.21万户,较一季度末下降了7047户,降幅14.35%;户均持股市值由一季度末的57.81万元上升至67.94万元,增幅为17.52%。

指标注解:
市盈率
=总市值/净利润。当公司亏损时市盈率为负,此时用市盈率估值没有实际意义,往往用市净率或市销率做参考。
市净率
=总市值/净资产。市净率估值法多用于盈利波动较大而净资产相对稳定的公司。
市销率
=总市值/营业收入。市销率估值法通常用于亏损或微利的成长型公司。
文中市盈率和市销率采用TTM方式,即以截至最近一期财报(含预报)12个月的数据计算。市净率采用LF方式,即以最近一期财报数据计算。
市盈率为负时,不显示当期分位数,会导致折线图中断。