悦达投资:2023年营收微增 净利同比下降59.44%

中证智能财讯 悦达投资(600805)3月30日披露2023年年报。2023年,公司实现营业总收入31.27亿元,同比增长1.76%;归母净利润3834.41万元,同比下降59.44%;扣非净利润亏损1.39亿元,上年同期亏损3.67亿元;经营活动产生的现金流量净额为-2.04亿元,上年同期为1100.10万元;报告期内,悦达投资基本每股收益为0.05元,加权平均净资产收益率为0.89%。



以3月29日收盘价计算,悦达投资目前市盈率(TTM)约为94.31倍,市净率(LF)约为0.83倍,市销率(TTM)约为1.16倍。

公司近年市盈率(TTM)、市净率(LF)、市销率(TTM)历史分位图如下所示:



数据统计显示,悦达投资近三年营业总收入复合增长率为1.11%,在综合Ⅲ行业已披露2023年数据的5家公司中排名第4。近三年净利润复合年增长率为26.62%,排名4/5。

分产品来看,2023年公司主营业务中,汽车销售及维修收入10.18亿元,同比基本持平,占营业收入的32.57%;棉纱收入8.05亿元,同比增长7.63%,占营业收入的25.75%;农业装备收入2.84亿元,同比增长10.08%,占营业收入的9.10%。

截至2023年末,公司员工总数为3775人,人均创收82.84万元,人均创利1.02万元,人均薪酬11.86万元,较上年同期分别变化5.88%、-57.79%、3.35%。

2023年,公司毛利率为7.80%,同比上升1.23个百分点;净利率为0.43%,较上年同期下降0.54个百分点。从单季度指标来看,2023年第四季度公司毛利率为12.84%,同比上升4.54个百分点,环比上升7.50个百分点;净利率为-6.10%,较上年同期上升12.64个百分点,较上一季度下降8.18个百分点。

分产品看,汽车销售及维修、棉纱、农业装备2023年毛利率分别为6.74%、8.50%、6.39%。

报告期内,公司前五大客户合计销售金额5.73亿元,占总销售金额比例为18.32%,公司前五名供应商合计采购金额12.46亿元,占年度采购总额比例为43.16%。

数据显示,2023年公司加权平均净资产收益率为0.89%,较上年同期下降1.33个百分点;公司2023年投入资本回报率为0.79%,较上年同期下降0.91个百分点。

2023年,公司经营活动现金流净额为-2.04亿元,同比减少2.15亿元;筹资活动现金流净额-4975.10万元,同比增加9.07亿元;投资活动现金流净额6.65亿元,上年同期为6.75亿元。
进一步统计发现,2023年公司自由现金流为3.93亿元,上年同期为-4.99亿元。

2023年,公司营业收入现金比为119.36%,净现比为-532.05%。

营运能力方面,2023年,公司公司总资产周转率为0.38次,上年同期为0.36次(2022年行业平均值为0.40次,公司位居同行业13/22);固定资产周转率为3.13次,上年同期为3.25次(2022年行业平均值为6.29次,公司位居同行业10/22);公司应收账款周转率、存货周转率分别为10.81次、4.69次。

2023年,公司期间费用为5.14亿元,较上年同期减少1.15亿元;期间费用率为16.43%,较上年同期下降4.04个百分点。其中,销售费用同比增长0.72%,管理费用同比下降19.88%,研发费用同比下降13.63%,财务费用同比下降43.6%。

资产重大变化方面,截至2023年年末,公司其他应收款(含利息和股利)较上年末减少63.09%,占公司总资产比重下降10.92个百分点;在建工程较上年末增加579.19%,占公司总资产比重上升5.25个百分点;货币资金较上年末增加35.88%,占公司总资产比重上升3.63个百分点;固定资产较上年末增加24.36%,占公司总资产比重上升1.98个百分点。

负债重大变化方面,截至2023年年末,公司长期借款较上年末增加401.37%,占公司总资产比重上升10.50个百分点;短期借款较上年末减少47.52%,占公司总资产比重下降8.15个百分点;其他流动负债较上年末减少76.89%,占公司总资产比重下降2.07个百分点;其他应付款(含利息和股利)较上年末增加75.42%,占公司总资产比重上升1.38个百分点。

从存货变动来看,截至2023年年末,公司存货账面价值为6.14亿元,占净资产的14.12%,较上年末减少376.74万元。其中,存货跌价准备为5071.39万元,计提比例为7.63%。

2023年全年,公司研发投入金额为7215.95万元,同比下降14.99%;研发投入占营业收入比例为2.31%,相比上年同期下降0.45个百分点。此外,公司全年研发投入资本化率为0。


年报称,报告期内,威马悦达公司不断强化自主创新能力,针对新能源汽车主机厂及零部件生产厂家加工应用场景需求,在国内首次采用了“双主轴+五轴”的先进结构模式,自主研制的龙门式双主轴加工中心VMC1600D机床已通过省科技查新中心,取得相关专利查新报告,获评盐城市创新产品(第一批),申报发明专利5项,实用新型8项,外观设计2项,其中已获授权发明专利5项。
在偿债能力方面,公司2023年年末资产负债率为43.27%,相比上年末上升2.19个百分点;有息资产负债率为26.05%,相比上年末上升2.51个百分点。

2023年,公司流动比率为1.53,速动比率为1.26。

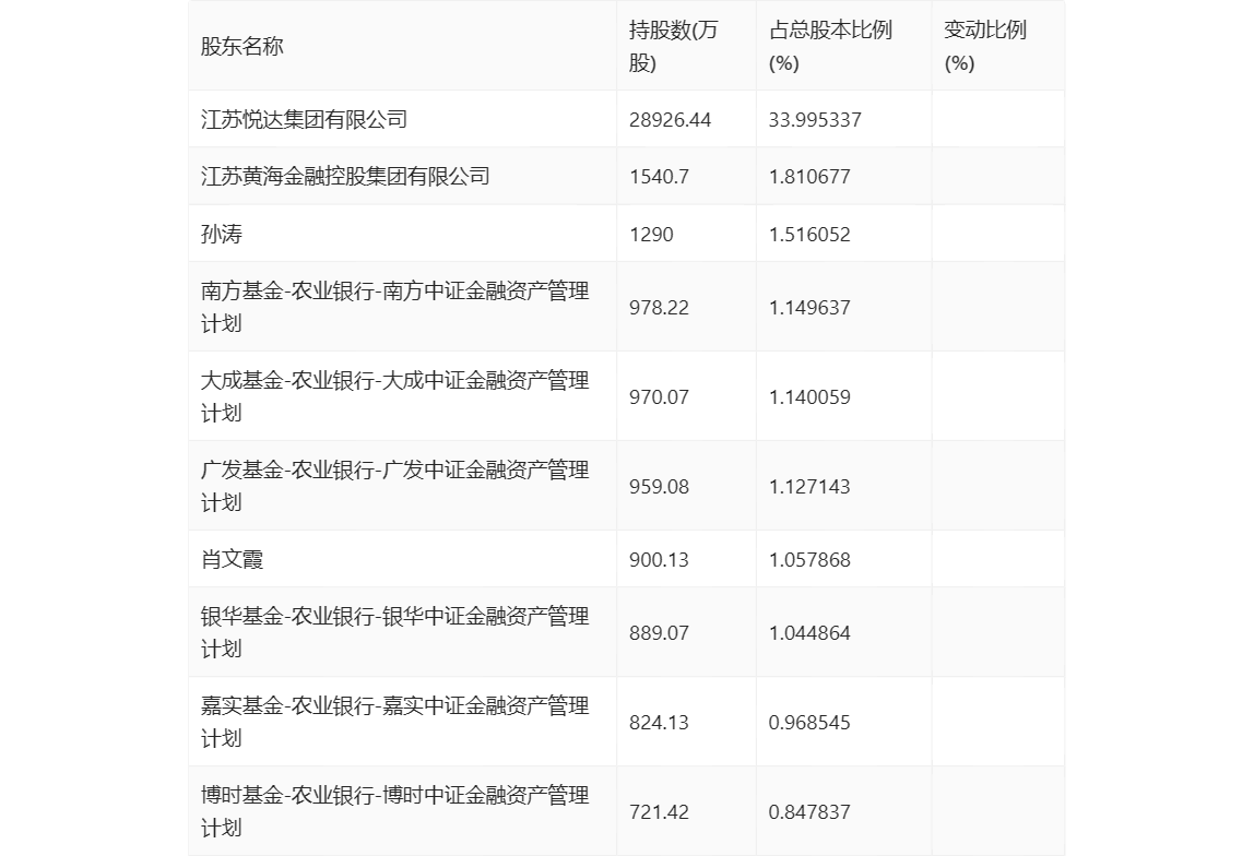
年报显示,2023年年末公司十大流通股东中,持股最多的为江苏悦达集团有限公司,占比34.00%。十大流通股东名单相比2023年三季报维持不变。在具体持股比例上,孙涛、肖文霞持股有所下降。

值得注意的是,根据年报数据,悦达投资16%股份处于质押状态。其中,第一大股东江苏悦达集团有限公司质押1.36亿股公司股份,占其全部持股的47.06%。
筹码集中度方面,截至2023年年末,公司股东总户数为4.78万户,较三季度末增长了1.08万户,增幅29.19%;户均持股市值由三季度末的10.28万元下降至9.08万元,降幅为11.67%。

指标注解:
市盈率
=总市值/净利润。当公司亏损时市盈率为负,此时用市盈率估值没有实际意义,往往用市净率或市销率做参考。
市净率
=总市值/净资产。市净率估值法多用于盈利波动较大而净资产相对稳定的公司。
市销率
=总市值/营业收入。市销率估值法通常用于亏损或微利的成长型公司。
文中市盈率和市销率采用TTM方式,即以截至最近一期财报(含预报)12个月的数据计算。市净率采用LF方式,即以最近一期财报数据计算。
市盈率为负时,不显示当期分位数,会导致折线图中断。