查股网.CN
首页
选股
热点
资金
板块
大盘
DDX
游资
龙虎
导航
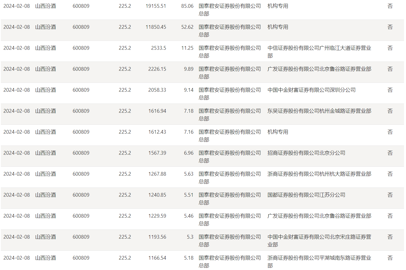
山西汾酒今日大宗交易成交280.22万股,成交额6.31亿元
山西汾酒今日大宗交易成交280.22万股,成交额6.31亿元
查股网
2024-02-08 18:45
山西汾酒(600809)个股分析
山西汾酒
2月8日大宗交易成交280.22万股,成交额6.31亿元,占当日总成交额的33.64%,成交价225.2元,较市场收盘价持平。