金开新能:2024年上半年净利润同比下降5.70% 拟10派1元

中证智能财讯 金开新能(600821)8月31日披露2024年半年度报告。2024年上半年,公司实现营业收入18.83亿元,同比增长10.26%;归母净利润4.87亿元,同比下降5.70%;扣非净利润4.45亿元,同比下降5.05%;经营活动产生的现金流量净额为3.32亿元,同比下降55.75%;报告期内,金开新能基本每股收益为0.25元,加权平均净资产收益率为5.39%。公司2024年半年度分配预案为:拟向全体股东每10股派现1元(含税)。


以8月30日收盘价计算,金开新能目前市盈率(TTM)约为13.33倍,市净率(LF)约为1.13倍,市销率(TTM)约为2.94倍。

公司近年市盈率(TTM)、市净率(LF)、市销率(TTM)历史分位图如下所示:



根据半年报,公司第二季度实现营业总收入10.4亿元,同比增长11.75%,环比增长23.37%;归母净利润2.69亿元,同比下降22.50%,环比增长23.47%;扣非净利润2.69亿元,同比下降10.87%,环比增长52.54%。

半年报称,报告期内,公司的主营业务为新能源电力的开发、投资、建设及运营,主要包括光伏发电和风力发电等板块。公司主要通过全资子公司金开有限开展生产经营活动,经营模式涵盖光伏电站、风电场及其他绿色能源业态的开发、投资、建设及运营。报告期内,公司在投资、管理、市场多线发展,资产规模进一步扩大,重点在消纳情况良好且具备电价优势的津冀、长江经济带及珠三角等中东南地区开展业务布局,目前公司业务已覆盖全国20余个省、自治区和直辖市。
2024年上半年,公司毛利率为57.18%,同比下降2.86个百分点;净利率为27.64%,较上年同期下降4.66个百分点。从单季度指标来看,2024年第二季度公司毛利率为59.85%,同比下降1.23个百分点,环比上升5.97个百分点;净利率为28.13%,较上年同期下降11.14个百分点,较上一季度上升1.09个百分点。

数据显示,2024年上半年公司加权平均净资产收益率为5.39%,较上年同期下降0.60个百分点;公司2024年上半年投入资本回报率为2.86%,较上年同期下降0.32个百分点。

2024年上半年,公司经营活动现金流净额为3.32亿元,同比下降55.75%;筹资活动现金流净额3.71亿元,同比增加11.46亿元;投资活动现金流净额-7.33亿元,上年同期为-19.31亿元。
进一步统计发现,2024年上半年公司自由现金流为-4.18亿元,上年同期为-12.34亿元。

2024年上半年,公司营业收入现金比为89.75%,净现比为68.13%。

营运能力方面,2024年上半年,公司总资产周转率为0.06次,上年同期为0.05次(2023年上半年行业平均值为0.08次,公司位居同行业11/14);固定资产周转率为0.10次,上年同期为0.09次(2023年上半年行业平均值为0.27次,公司位居同行业13/14);公司应收账款周转率、存货周转率分别为0.28次、24.58次。

2024年上半年,公司期间费用为5.19亿元,较上年同期增加244.76万元;但期间费用率为27.56%,较上年同期下降2.68个百分点。其中,销售费用同比增长129.63%,管理费用同比下降10.04%,研发费用同比增长36.38%,财务费用同比增长2.61%。
资料显示,销售费用的变动主要因为全资子公司金开智维销售人员工资,故销售费用增加;管理费用的变动主要因为职工薪酬及中介机构管理费同比减少,故费用总额减少;财务费用的变动主要因为报告期内贷款总额增加,财务费用增加;研发费用的变动主要因为报告期内软件开发费增加。

资产重大变化方面,截至2024年上半年末,公司应收账款较上年末增加27.84%,占公司总资产比重上升3.21个百分点;固定资产较上年末增加5.83%,占公司总资产比重下降1.65个百分点;在建工程较上年末减少57.89%,占公司总资产比重下降1.19个百分点;货币资金较上年末增加77.21%,占公司总资产比重上升0.58个百分点。

负债重大变化方面,截至2024年上半年末,公司短期借款较上年末增加1210.90%,占公司总资产比重上升3.11个百分点;长期借款较上年末增加4.61%,占公司总资产比重下降2.12个百分点;应付票据较上年末增加43.31%,占公司总资产比重上升0.74个百分点;一年内到期的非流动负债较上年末增加8.90%,占公司总资产比重不变。

在偿债能力方面,公司2024年上半年末资产负债率为72.29%,相比上年末上升1.71个百分点;有息资产负债率为61.96%,相比上年末上升1.84个百分点。

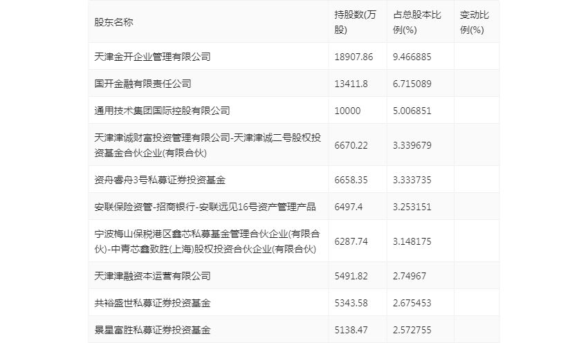
半年报显示,2024年上半年末公司十大流通股东中,持股最多的为天津金开企业管理有限公司,占比9.47%。十大流通股东名单相比2024年一季报维持不变。

筹码集中度方面,截至2024年上半年末,公司股东总户数为5.63万户,较一季度末下降了488户,降幅0.86%;户均持股市值由一季度末的20.32万元下降至18.22万元,降幅为10.33%。

指标注解:
市盈率
=总市值/净利润。当公司亏损时市盈率为负,此时用市盈率估值没有实际意义,往往用市净率或市销率做参考。
市净率
=总市值/净资产。市净率估值法多用于盈利波动较大而净资产相对稳定的公司。
市销率
=总市值/营业收入。市销率估值法通常用于亏损或微利的成长型公司。
文中市盈率和市销率采用TTM方式,即以截至最近一期财报(含预报)12个月的数据计算。市净率采用LF方式,即以最近一期财报数据计算。
市盈率为负时,不显示当期分位数,会导致折线图中断。