茂业商业:2024年第一季度净利润5843.59万元 同比下降44.95%

中证智能财讯 茂业商业(600828)4月27日披露2024年一季报。2024年第一季度,公司实现营业总收入8.23亿元,同比下降12.67%;归母净利润5843.59万元,同比下降44.95%;扣非净利润5490.70万元,同比增长23.12%;经营活动产生的现金流量净额为4.10亿元,同比增长28.59%;报告期内,茂业商业基本每股收益为0.0337元,加权平均净资产收益率为0.83%。



2024年第一季度,公司毛利率为60.11%,同比上升0.51个百分点;净利率为7.19%,较上年同期下降3.97个百分点。

数据显示,2024年第一季度公司加权平均净资产收益率为0.83%,较上年同期下降0.64个百分点;公司2024年第一季度投入资本回报率为0.86%,较上年同期下降0.26个百分点。

2024年第一季度,公司经营活动现金流净额为4.10亿元,同比增长28.59%;筹资活动现金流净额-1.94亿元,同比增加2.85亿元;投资活动现金流净额-3141.30万元,上年同期为2.15亿元。

2024年第一季度,公司营业收入现金比为229.97%,净现比为701.59%。

资产重大变化方面,截至2024年一季度末,公司货币资金较上年末增加43.64%,占公司总资产比重上升0.94个百分点;使用权资产较上年末减少5.00%,占公司总资产比重下降0.40个百分点;固定资产较上年末减少1.43%,占公司总资产比重下降0.25个百分点;长期待摊费用较上年末减少9.17%,占公司总资产比重下降0.14个百分点。

负债重大变化方面,截至2024年一季度末,公司一年内到期的非流动负债较上年末减少21.43%,占公司总资产比重下降1.97个百分点;长期借款较上年末增加11.87%,占公司总资产比重上升1.68个百分点;其他应付款(含利息和股利)较上年末增加6.06%,占公司总资产比重上升0.27个百分点;应付账款较上年末减少3.78%,占公司总资产比重下降0.23个百分点。

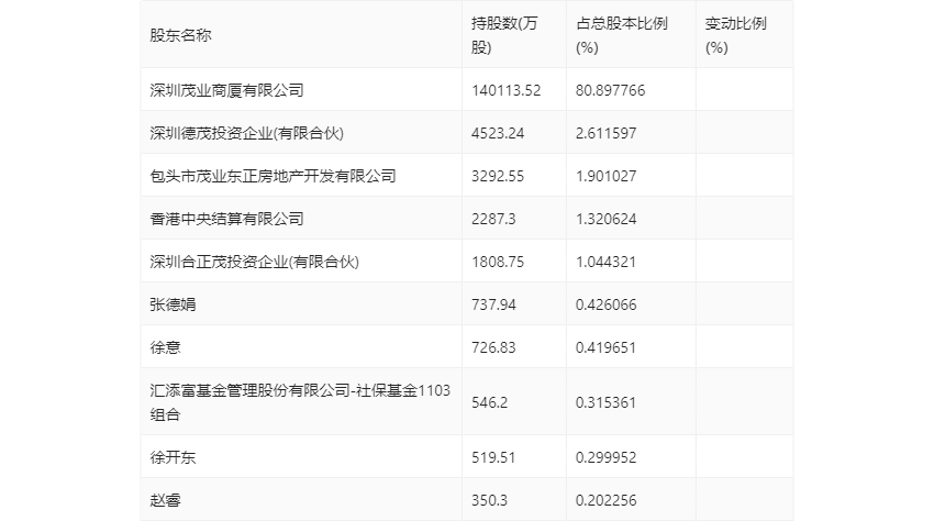
一季报显示,2024年一季度末公司十大流通股东中,新进股东为汇添富基金管理股份有限公司-社保基金1103组合,取代了上年末的华夏银行股份有限公司-华夏智胜先锋股票型证券投资基金(LOF)。在具体持股比例上,香港中央结算有限公司、徐开东持股有所上升,张德娟、赵睿持股有所下降。

筹码集中度方面,截至2024年一季度末,公司股东总户数为2.02万户,较上年末增长了2898户,增幅16.73%;户均持股市值由上年末的36.50万元下降至28.10万元,降幅为23.01%。
