香溢融通:2023年净利润同比增长149.31% 拟10派0.15元

中证智能财讯 香溢融通(600830)3月9日披露2023年年报。2023年,公司实现营业总收入2.63亿元,同比增长2.90%;归母净利润2219.80万元,同比增长149.31%;扣非净利润1362.21万元,同比增长194.11%;经营活动产生的现金流量净额为-8.25亿元,上年同期为4659.33万元;报告期内,香溢融通基本每股收益为0.049元,加权平均净资产收益率为1.05%。公司2023年年度利润分配预案为:拟向全体股东每10股派0.15元(含税)。
报告期内,公司合计非经常性损益为857.59万元,其中非流动性资产处置损益,包括已计提资产减值准备的冲销部分为2471.68万元。



以3月8日收盘价计算,香溢融通目前市盈率(TTM)约为144.91倍,市净率(LF)约为1.52倍,市销率(TTM)约为17.31倍。

公司近年市盈率(TTM)、市净率(LF)、市销率(TTM)历史分位图如下所示:



数据统计显示,香溢融通近三年营业总收入复合增长率为12.63%,近三年净利润复合年增长率为44.13%。

资料显示,公司从事的主要业务包含典当、担保、融资租赁、类金融投资业务、特殊资产业务。
资料显示,随着公司“租赁首位战略”的持续推进,业务规模有显著提升,新增投放同比上升约109%,期末业务规模同比增加约56%。同时公司持续优化调整租赁业务投放结构,着力向设备类租赁业务转型,期末设备类项目占比59%,较去年同期增加32个百分点;政信类项目占比11%,较去年同期减少42个百分点,租赁资产质量有效改善。期末租赁业务经营模式中售后回租业务占比88%,直租业务占比2%,转租赁业务占比10%,在租赁业监管趋严的大背景下,公司需逐步回归以“融物”为核心的租赁经营模式,紧紧围绕企业新购设备资产融资需求,不断提升直租业务占比。
分产品来看,2023年公司主营业务中,融资租赁收入9086.86万元,同比增长0.49%,占营业收入的34.60%;典当收入4518.80万元,同比下降11.80%,占营业收入的17.20%;商品销售收入3681.12万元,同比增长349.70%,占营业收入的14.02%。

截至2023年末,公司员工总数为221人,人均创收118.85万元,人均创利10.04万元,人均薪酬34.25万元,较上年同期分别增长13.61%、175.25%、4.41%。

2023年,公司毛利率为65.48%,同比上升2.00个百分点;净利率为20.36%,较上年同期上升6.73个百分点。从单季度指标来看,2023年第四季度公司毛利率为48.52%,同比下降13.58个百分点,环比下降16.71个百分点;净利率为10.34%,较上年同期上升40个百分点,较上一季度下降10.33个百分点。

数据显示,2023年公司加权平均净资产收益率为1.05%,较上年同期增长0.63个百分点;公司2023年投入资本回报率为0.72%,较上年同期增长0.28个百分点。

2023年,公司经营活动现金流净额为-8.25亿元,同比减少8.71亿元;筹资活动现金流净额2.69亿元,同比增加2.20亿元;投资活动现金流净额1802.53万元,上年同期为9390.43万元。
进一步统计发现,2023年公司自由现金流为-4.44亿元,上年同期为-2.84亿元。

2023年,公司营业收入现金比为556.67%,净现比为-3714.90%。

营运能力方面,2023年,公司公司总资产周转率为0.07次,上年同期为0.07次(2022年行业平均值为0.07次,公司位居同行业8/12);固定资产周转率为3.45次,上年同期为2.54次(2022年行业平均值为12.37次,公司位居同行业9/12);公司应收账款周转率、存货周转率分别为21.09次、2.39次。

2023年,公司期间费用为9495.5万元,同比减少629.68万元;期间费用率为51.09%,同比下降12.75个百分点。其中,销售费用同比增长900.89%,管理费用同比下降25.91%,财务费用-1937.78万元,去年同期-1192.43万元。

资产重大变化方面,截至2023年年末,公司货币资金较上年末减少45.10%,占公司总资产比重下降17.34个百分点;一年内到期的非流动资产较上年末增加251.27%,占公司总资产比重上升14.20个百分点;发放贷款和垫款较上年末增加62.24%,占公司总资产比重上升4.73个百分点;其他流动资产较上年末减少37.31%,占公司总资产比重下降3.37个百分点。

负债重大变化方面,截至2023年年末,公司长期借款较上年末增加69.44%,占公司总资产比重上升5.06个百分点;一年内到期的非流动负债较上年末增加16.80%,占公司总资产比重上升0.63个百分点;合同负债较上年末增加237.66%,占公司总资产比重上升0.55个百分点;预计负债较上年末减少90.10%,占公司总资产比重下降0.31个百分点。

从存货变动来看,截至2023年年末,公司存货账面价值为4901.63万元,占净资产的2.31%,较上年末增加4441.04万元。其中,存货跌价准备为35.75万元,计提比例为0.72%。

2023年,公司流动比率为3.03,速动比率为2.95。

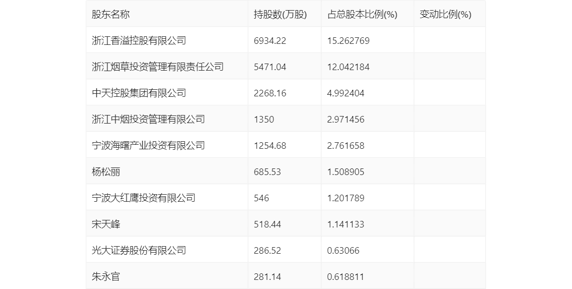
年报显示,2023年年末公司十大流通股东中,新进股东为光大证券股份有限公司,取代了三季度末的华夏银行股份有限公司-华夏智胜先锋股票型证券投资基金(LOF)。在具体持股比例上,杨松丽、朱永官持股有所上升。

筹码集中度方面,截至2023年年末,公司股东总户数为2.63万户,较三季度末增长了899户,增幅3.54%;户均持股市值由三季度末的11.37万元上升至12.33万元,增幅为8.44%。

指标注解:
市盈率
=总市值/净利润。当公司亏损时市盈率为负,此时用市盈率估值没有实际意义,往往用市净率或市销率做参考。
市净率
=总市值/净资产。市净率估值法多用于盈利波动较大而净资产相对稳定的公司。
市销率
=总市值/营业收入。市销率估值法通常用于亏损或微利的成长型公司。
文中市盈率和市销率采用TTM方式,即以截至最近一期财报(含预报)12个月的数据计算。市净率采用LF方式,即以最近一期财报数据计算。
市盈率为负时,不显示当期分位数,会导致折线图中断。