航天长峰:2023年亏损2.35亿元

中证智能财讯 航天长峰(600855)4月2日披露2023年年报。2023年,公司实现营业总收入13.82亿元,同比下降23.31%;归母净利润亏损2.35亿元,上年同期盈利547.78万元;扣非净利润亏损2.59亿元,上年同期亏损5369.23万元;经营活动产生的现金流量净额为-347.12万元,上年同期为-7616.36万元;报告期内,航天长峰基本每股收益为-0.503元,加权平均净资产收益率为-14.33%。


以4月1日收盘价计算,航天长峰目前市盈率(TTM)约为-18.02倍,市净率(LF)约为2.29倍,市销率(TTM)约为3.07倍。

公司近年市盈率(TTM)、市净率(LF)、市销率(TTM)历史分位图如下所示:



数据统计显示,航天长峰近三年营业总收入复合增长率为-20.62%,在其他计算机设备行业已披露2023年数据的17家公司中排名第15。近三年净利润复合年增长率为-217.05%,排名16/17。

资料显示,公司的主营业务分为高端医疗装备、军工电子和公共安全三大板块,是国内高端产品研发与制造商、复杂大型系统规划设计与集成商。
分产品来看,2023年公司主营业务中,军工电子收入6.77亿元,同比下降25.57%,占营业收入的48.96%;公共安全收入5.54亿元,同比下降32.15%,占营业收入的40.11%;高端医疗装备收入1.37亿元,同比增长142.86%,占营业收入的9.92%。

截至2023年末,公司员工总数为1520人,人均创收90.92万元,人均创利-15.47万元,人均薪酬23.82万元,较上年同期分别变化-20.69%、-4540.89%、0.11%。

2023年,公司毛利率为18.21%,同比下降7.82个百分点;净利率为-17.65%,较上年同期下降19.44个百分点。从单季度指标来看,2023年第四季度公司毛利率为2.97%,同比下降20.97个百分点,环比下降20.91个百分点;净利率为-31.50%,较上年同期下降39.63个百分点,较上一季度下降19.94个百分点。

分产品看,军工电子、公共安全、高端医疗装备2023年毛利率分别为17.17%、12.49%、39.56%。
报告期内,公司前五大客户合计销售金额2.70亿元,占总销售金额比例为19.53%,公司前五名供应商合计采购金额1.76亿元,占年度采购总额比例为18.63%。

数据显示,2023年公司加权平均净资产收益率为-14.33%,较上年同期下降14.64个百分点;公司2023年投入资本回报率为-12.60%,较上年同期下降14.19个百分点。

2023年,公司经营活动现金流净额为-347.12万元,同比增加7269.25万元;筹资活动现金流净额2.99亿元,同比增加3.84亿元;投资活动现金流净额-8909.31万元,上年同期为-6888.04万元。
进一步统计发现,2023年公司自由现金流为-1.86亿元,上年同期为-1.82亿元。

2023年,公司营业收入现金比为111.17%。

营运能力方面,2023年,公司公司总资产周转率为0.35次,上年同期为0.43次(2022年行业平均值为0.40次,公司位居同行业26/62);固定资产周转率为4.46次,上年同期为6.36次(2022年行业平均值为8.88次,公司位居同行业29/62);公司应收账款周转率、存货周转率分别为1.30次、1.44次。

2023年,公司期间费用为4.51亿元,较上年同期减少1193.57万元;但期间费用率为32.63%,较上年同期上升6.95个百分点。其中,销售费用同比增长0.65%,管理费用同比下降2.4%,研发费用同比下降1.71%,财务费用同比下降82.61%。

资产重大变化方面,截至2023年年末,公司货币资金较上年末增加27.65%,占公司总资产比重上升5.50个百分点;存货较上年末减少15.91%,占公司总资产比重下降3.21个百分点;应收账款较上年末减少7.07%,占公司总资产比重下降1.69个百分点;商誉较上年末减少81.24%,占公司总资产比重下降1.21个百分点,主要系计提商誉减值准备。

负债重大变化方面,截至2023年年末,公司合同负债较上年末减少22.44%,占公司总资产比重下降2.04个百分点;应付账款较上年末减少5.27%,占公司总资产比重下降1.13个百分点;应交税费较上年末减少54.83%,占公司总资产比重下降0.79个百分点;租赁负债较上年末增加24.65%,占公司总资产比重上升0.81个百分点。

从存货变动来看,截至2023年年末,公司存货账面价值为7.19亿元,占净资产的38.74%,较上年末减少1.36亿元。其中,存货跌价准备为2634.02万元,计提比例为3.54%。

2023年全年,公司研发投入金额为1.11亿元,同比下降4.59%;研发投入占营业收入比例为8.02%,相比上年同期上升1.57个百分点。此外,公司全年研发投入资本化率为0。


在偿债能力方面,公司2023年年末资产负债率为49.87%,相比上年末下降3.10个百分点;有息资产负债率为1.98%,相比上年末上升0.61个百分点。

2023年,公司流动比率为1.77,速动比率为1.36。

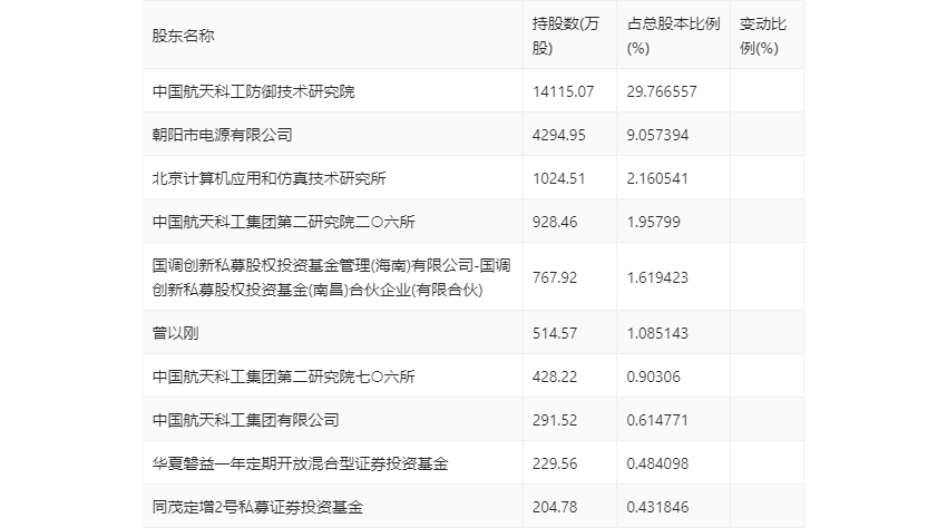
年报显示,2023年年末公司十大流通股东中,新进股东为国调创新私募股权投资基金管理(海南)有限公司-国调创新私募股权投资基金(南昌)合伙企业(有限合伙)、华夏磐益一年定期开放混合型证券投资基金、同茂定增2号私募证券投资基金,取代了三季度末的天安人寿保险股份有限公司-传统产品、中国汽车工业投资开发有限公司、陈敏如。

筹码集中度方面,截至2023年年末,公司股东总户数为4.58万户,较三季度末下降了599户,降幅1.29%;户均持股市值由三季度末的11.79万元下降至11.09万元,降幅为5.94%。

指标注解:
市盈率
=总市值/净利润。当公司亏损时市盈率为负,此时用市盈率估值没有实际意义,往往用市净率或市销率做参考。
市净率
=总市值/净资产。市净率估值法多用于盈利波动较大而净资产相对稳定的公司。
市销率
=总市值/营业收入。市销率估值法通常用于亏损或微利的成长型公司。
文中市盈率和市销率采用TTM方式,即以截至最近一期财报(含预报)12个月的数据计算。市净率采用LF方式,即以最近一期财报数据计算。
市盈率为负时,不显示当期分位数,会导致折线图中断。