哈投股份:2023年盈利2.07亿元 同比扭亏

中证智能财讯 哈投股份(600864)4月27日披露2023年年报。2023年,公司实现营业总收入27.81亿元,同比增长8.56%;归母净利润2.07亿元,同比扭亏;扣非净利润6778.09万元,同比扭亏;经营活动产生的现金流量净额为16.34亿元,同比增长181.31%;报告期内,哈投股份基本每股收益为0.1元,加权平均净资产收益率为1.69%。


以4月26日收盘价计算,哈投股份目前市盈率(TTM)约为51.78倍,市净率(LF)约为0.86倍,市销率(TTM)约为6.18倍。

公司近年市盈率(TTM)、市净率(LF)、市销率(TTM)历史分位图如下所示:



数据统计显示,哈投股份近三年营业总收入复合增长率为-5.67%,在证券Ⅲ行业已披露2023年数据的46家公司中排名第30。近三年净利润复合年增长率为-3.02%,排名24/46。

年报称,公司目前主营业务是热电业务和证券业务。
分产品来看,2023年公司主营业务中,热电业务收入17.24亿元,同比增长6.43%,占营业收入的61.98%;证券业务收入10.48亿元,同比增长12.38%,占营业收入的37.67%。

2023年,公司毛利率为10.19%,同比上升8.31个百分点;净利率为8.07%,较上年同期上升74.11个百分点。从单季度指标来看,2023年第四季度公司毛利率为10.99%,同比上升11.07个百分点,环比上升99.62个百分点;净利率为23.26%,较上年同期上升81.48个百分点,较上一季度上升179.55个百分点。

分产品看,热电业务、证券业务2023年毛利率分别为9.89%、41.15%。


数据显示,2023年公司加权平均净资产收益率为1.69%,较上年同期增长9.66个百分点;公司2023年投入资本回报率为0.53%,较上年同期增长4.71个百分点。

2023年,公司经营活动现金流净额为16.34亿元,同比增长181.31%;筹资活动现金流净额-15.85亿元,同比减少12.62亿元;投资活动现金流净额-2.42亿元,上年同期为-2.78亿元。
进一步统计发现,2023年公司自由现金流为-13.95亿元,上年同期为6.80亿元。

2023年,公司营业收入现金比为448.56%,净现比为789.76%。

营运能力方面,2023年,公司公司总资产周转率为0.08次,上年同期为0.07次(2022年行业平均值为0.05次,公司位居同行业4/50);固定资产周转率为0.83次,上年同期为0.82次(2022年行业平均值为8.86次,公司位居同行业5/50);公司应收账款周转率、存货周转率分别为2.91次、4.90次。

2023年,公司期间费用为8.69亿元,较上年同期减少5029.97万元;期间费用率为50.12%,较上年同期下降6.29个百分点。其中,销售费用同比增长17.3%,管理费用同比下降6.0%,财务费用同比下降0.5%。

资产重大变化方面,截至2023年年末,公司交易性金融资产较上年末增加75.99%,占公司总资产比重上升15.65个百分点;其他债权投资合计较上年末减少93.34%,占公司总资产比重下降5.91个百分点;买入返售金融资产较上年末减少47.21%,占公司总资产比重下降4.02个百分点;货币资金较上年末减少7.27%,占公司总资产比重下降3.69个百分点。

负债重大变化方面,截至2023年年末,公司卖出回购金融资产款较上年末增加56.21%,占公司总资产比重上升5.68个百分点;一年内到期的非流动负债较上年末减少40.28%,占公司总资产比重下降4.27个百分点;应付债券较上年末增加43.80%,占公司总资产比重上升2.08个百分点,主要系全资子公司江海证券重分类年内到期的应付债券减少;短期借款较上年末减少43.60%,占公司总资产比重下降2.81个百分点,主要系全资子公司江海证券本期发行的短期收益凭证发行规模减少。

从存货变动来看,截至2023年年末,公司存货账面价值为2.97亿元,占净资产的2.39%,较上年末减少4243.24万元。其中,存货跌价准备为406.86万元,计提比例为1.35%。

在偿债能力方面,公司2023年年末资产负债率为68.55%,相比上年末上升3.32个百分点;有息资产负债率为18.36%,相比上年末下降5.37个百分点。

2023年,公司流动比率为1.52,速动比率为1.51。

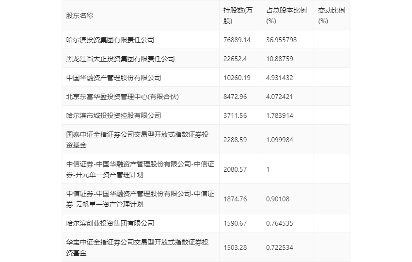
年报显示,2023年年末公司十大流通股东中,新进股东为中信证券-中国华融资产管理股份有限公司-中信证券-开元单一资产管理计划,取代了三季度末的王琦。在具体持股比例上,中国华融资产管理股份有限公司、国泰中证全指证券公司交易型开放式指数证券投资基金、华宝中证全指证券公司交易型开放式指数证券投资基金持股有所上升,中信证券-中国华融资产管理股份有限公司-中信证券-云帆单一资产管理计划持股有所下降。

筹码集中度方面,截至2023年年末,公司股东总户数为6.43万户,较三季度末下降了204户,降幅0.32%;户均持股市值由三季度末的18.57万元下降至18.41万元,降幅为0.86%。

指标注解:
市盈率
=总市值/净利润。当公司亏损时市盈率为负,此时用市盈率估值没有实际意义,往往用市净率或市销率做参考。
市净率
=总市值/净资产。市净率估值法多用于盈利波动较大而净资产相对稳定的公司。
市销率
=总市值/营业收入。市销率估值法通常用于亏损或微利的成长型公司。
文中市盈率和市销率采用TTM方式,即以截至最近一期财报(含预报)12个月的数据计算。市净率采用LF方式,即以最近一期财报数据计算。
市盈率为负时,不显示当期分位数,会导致折线图中断。