电科芯片:2024年上半年净利润3837.53万元 同比下降28.95%

中证智能财讯 电科芯片(600877)8月10日披露2024年半年报。2024年上半年,公司实现营业总收入4.90亿元,同比下降13.63%;归母净利润3837.53万元,同比下降28.95%;扣非净利润2761.13万元,同比下降39.64%;经营活动产生的现金流量净额为-1.32亿元,上年同期为4175.20万元;报告期内,电科芯片基本每股收益为0.0324元,加权平均净资产收益率为1.59%。


以8月9日收盘价计算,电科芯片目前市盈率(TTM)约为60.72倍,市净率(LF)约为5.45倍,市销率(TTM)约为9.17倍。

公司近年市盈率(TTM)、市净率(LF)、市销率(TTM)历史分位图如下所示:



根据半年报,公司第二季度实现营业总收入2.88亿元,同比下降17.62%,环比增长42.98%;归母净利润1908.53万元,同比下降46.39%,环比下降1.06%;扣非净利润1108.69万元,同比下降63.57%,环比下降32.91%。

2024年上半年,公司毛利率为31.00%,同比下降1.06个百分点;净利率为7.83%,较上年同期下降1.69个百分点。从单季度指标来看,2024年第二季度公司毛利率为33.11%,同比上升1.66个百分点,环比上升5.11个百分点;净利率为6.62%,较上年同期下降3.55个百分点,较上一季度下降2.95个百分点。

数据显示,2024年上半年公司加权平均净资产收益率为1.59%,较上年同期下降0.88个百分点;公司2024年上半年投入资本回报率为1.52%,较上年同期下降0.89个百分点。

2024年上半年,公司经营活动现金流净额为-1.32亿元,同比减少1.73亿元;筹资活动现金流净额-4347.68万元,同比增加5154.91万元;投资活动现金流净额-3847.68万元,上年同期为5.25亿元。
进一步统计发现,2024年上半年公司自由现金流为-1.93亿元,上年同期为5.72亿元。

2024年上半年,公司营业收入现金比为92.48%,净现比为-343.23%。

营运能力方面,2024年上半年,公司公司总资产周转率为0.16次,上年同期为0.20次(2023年上半年行业平均值为0.15次,公司位居同行业11/34);固定资产周转率为13.90次,上年同期为12.63次(2023年上半年行业平均值为5.70次,公司位居同行业5/34);公司应收账款周转率、存货周转率分别为0.47次、0.65次。

2024年上半年,公司期间费用为1.10亿元,较上年同期减少2117.56万元;期间费用率为22.38%,较上年同期下降0.69个百分点。其中,销售费用同比增长4.64%,管理费用同比下降1.61%,研发费用同比下降18.73%,财务费用由去年同期的133.51万元变为-138.72万元。

资产重大变化方面,截至2024年上半年末,公司货币资金较上年末减少22.52%,占公司总资产比重下降5.31个百分点;应收账款较上年末增加6.74%,占公司总资产比重上升4.92个百分点;应收票据较上年末减少60.09%,占公司总资产比重下降2.16个百分点;一年内到期的非流动资产较上年末增加890.59%,占公司总资产比重上升1.32个百分点。

负债重大变化方面,截至2024年上半年末,公司应付账款较上年末减少25.64%,占公司总资产比重下降2.77个百分点;应付票据较上年末减少80.28%,占公司总资产比重下降1.63个百分点;应交税费较上年末减少87.71%,占公司总资产比重下降0.89个百分点;其他流动负债较上年末减少32.49%,占公司总资产比重下降0.32个百分点。

从存货变动来看,截至2024年上半年末,公司存货账面价值为5.15亿元,占净资产的21.16%,较上年末减少1068.25万元。其中,存货跌价准备为2417.4万元,计提比例为4.49%。

在偿债能力方面,公司2024年上半年末资产负债率为14.93%,相比上年末下降7.46个百分点;有息资产负债率为0.11%,相比上年末下降1.42个百分点。

2024年上半年,公司流动比率为6.13,速动比率为4.90。

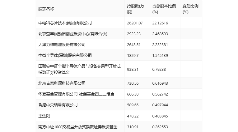
半年报显示,2024年上半年末公司十大流通股东中,新进股东为南方中证1000交易型开放式指数证券投资基金,取代了一季度末的博时半导体主题混合型证券投资基金。在具体持股比例上,香港中央结算有限公司、王选阳持股有所上升,国联安中证全指半导体产品与设备交易型开放式指数证券投资基金持股有所下降。

筹码集中度方面,截至2024年上半年末,公司股东总户数为5.98万户,较一季度末增长了1113户,增幅1.90%;户均持股市值由一季度末的25.26万元下降至21.22万元,降幅为15.99%。

指标注解:
市盈率
=总市值/净利润。当公司亏损时市盈率为负,此时用市盈率估值没有实际意义,往往用市净率或市销率做参考。
市净率
=总市值/净资产。市净率估值法多用于盈利波动较大而净资产相对稳定的公司。
市销率
=总市值/营业收入。市销率估值法通常用于亏损或微利的成长型公司。
文中市盈率和市销率采用TTM方式,即以截至最近一期财报(含预报)12个月的数据计算。市净率采用LF方式,即以最近一期财报数据计算。
市盈率为负时,不显示当期分位数,会导致折线图中断。