博瑞传播:2024年第一季度净利润1002.61万元 同比增长10.01%

中证智能财讯 博瑞传播(600880)4月30日披露2024年一季报。2024年第一季度,公司实现营业收入9429.85万元,同比下降30.22%;归母净利润1002.61万元,同比增长10.01%;扣非净利润930.82万元,同比增长8.24%;经营活动产生的现金流量净额为3683.50万元,上年同期为-1.22亿元;报告期内,博瑞传播基本每股收益为0.01元,加权平均净资产收益率为0.33%。



2024年第一季度,公司毛利率为55.72%,同比上升12.29个百分点;净利率为14.62%,较上年同期上升6.36个百分点。

数据显示,2024年第一季度公司加权平均净资产收益率为0.33%,较上年同期增长0.03个百分点;公司2024年第一季度投入资本回报率为0.40%,较上年同期增长0.08个百分点。

2024年第一季度,公司经营活动现金流净额为3683.50万元,同比增加1.58亿元,主要系本期控股子公司博瑞小贷客户贷款及垫款净收回额较上期增加所致;筹资活动现金流净额2532.03万元,同比增加2627.46万元;投资活动现金流净额-757.70万元,上年同期为-1025.46万元。

2024年第一季度,公司营业收入现金比为209.57%,净现比为367.39%。

资产重大变化方面,截至2024年一季度末,公司发放贷款和垫款较上年末减少17.60%,占公司总资产比重下降2.32个百分点;货币资金较上年末增加10.20%,占公司总资产比重上升1.35个百分点;应收账款较上年末增加2.66%,占公司总资产比重上升0.36个百分点;预付款项较上年末增加41.90%,占公司总资产比重上升0.28个百分点。

负债重大变化方面,截至2024年一季度末,公司应付账款较上年末减少29.35%,占公司总资产比重下降1.12个百分点;长期借款较上年末增加104.45%,占公司总资产比重上升0.41个百分点;短期借款较上年末增加14.41%,占公司总资产比重上升0.27个百分点;其他应付款(含利息和股利)较上年末减少3.00%,占公司总资产比重下降0.17个百分点。

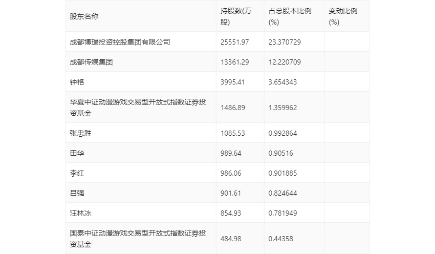
一季报显示,2024年一季度末公司十大流通股东中,新进股东为国泰中证动漫游戏交易型开放式指数证券投资基金,取代了上年末的香港中央结算有限公司。在具体持股比例上,钟格、华夏中证动漫游戏交易型开放式指数证券投资基金、张忠胜、田华持股有所上升,李红、吕强、汪林冰持股有所下降。

筹码集中度方面,截至2024年一季度末,公司股东总户数为5.48万户,较上年末增长了894户,增幅1.66%;户均持股市值由上年末的10.15万元下降至9.39万元,降幅为7.49%。
