亚泰集团:2024年第一季度亏损5.16亿元

中证智能财讯 亚泰集团(600881)4月30日披露2024年一季报。2024年第一季度,公司实现营业总收入10.01亿元,同比下降37.79%;归母净利润亏损5.16亿元,上年同期亏损3.42亿元;扣非净利润亏损5.19亿元,上年同期亏损3.47亿元;经营活动产生的现金流量净额为-2.82亿元,上年同期为15.98亿元;报告期内,亚泰集团基本每股收益为-0.16元,加权平均净资产收益率为-9.38%。



2024年第一季度,公司毛利率为25.95%,同比上升3.74个百分点;净利率为-64.31%,较上年同期下降35.38个百分点。

数据显示,2024年第一季度公司加权平均净资产收益率为-9.38%,较上年同期下降5.76个百分点;公司2024年第一季度投入资本回报率为-0.61%,较上年同期下降0.52个百分点。

2024年第一季度,公司经营活动现金流净额为-2.82亿元,同比减少18.80亿元,主要系销售商品、提供劳务收到的现金减少所致;筹资活动现金流净额3.10亿元,同比增加20.77亿元;投资活动现金流净额-318.48万元,上年同期为-2374.43万元。

2024年第一季度,公司营业收入现金比为175.82%。

资产重大变化方面,截至2024年一季度末,公司存货较上年末增加3.86%,占公司总资产比重上升0.73个百分点;固定资产较上年末减少1.66%,占公司总资产比重下降0.40个百分点;应收账款较上年末减少2.68%,占公司总资产比重下降0.34个百分点;其他应收款(含利息和股利)较上年末增加17.08%,占公司总资产比重上升0.16个百分点。

负债重大变化方面,截至2024年一季度末,公司短期借款较上年末增加3.53%,占公司总资产比重上升1.66个百分点;应付账款较上年末减少3.53%,占公司总资产比重下降0.34个百分点;合同负债较上年末增加8.15%,占公司总资产比重上升0.22个百分点;其他应付款(含利息和股利)较上年末减少5.82%,占公司总资产比重下降0.24个百分点。

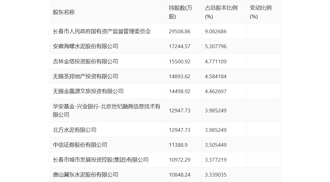
一季报显示,2024年一季度末公司十大流通股东中,持股最多的为长春市人民政府国有资产监督管理委员会,占比9.08%。十大流通股东名单相比2023年年报维持不变。在具体持股比例上,中信证券股份有限公司持股有所上升。

筹码集中度方面,截至2024年一季度末,公司股东总户数为10.13万户,较上年末增长了4830户,增幅5.01%;户均持股市值由上年末的6.57万元下降至5.74万元,降幅为12.63%。
