航发动力:2024年上半年净利润5.95亿元 同比下降17.99%

中证智能财讯 航发动力(600893)8月31日披露2024年半年度报告。2024年上半年,公司实现营业收入185.48亿元,同比增长4.35%;归母净利润5.95亿元,同比下降17.99%;扣非净利润5.46亿元,同比下降0.97%;经营活动产生的现金流量净额为-103.75亿元,上年同期为-104.42亿元;报告期内,航发动力基本每股收益为0.22元,加权平均净资产收益率为1.49%。
公告称,公司营业收入变化主要由于客户需求增加,产品交付增加。


以8月30日收盘价计算,航发动力目前市盈率(TTM)约为73.3倍,市净率(LF)约为2.39倍,市销率(TTM)约为2.13倍。

公司近年市盈率(TTM)、市净率(LF)、市销率(TTM)历史分位图如下所示:



根据半年报,公司第二季度实现营业总收入122.76亿元,同比增长5.60%,环比增长95.71%;归母净利润4.4亿元,同比下降30.97%,环比增长184.06%;扣非净利润4.41亿元,同比下降24.38%,环比增长315.74%。

资料显示,公司主营业务分为航空发动机及衍生产品业务、外贸出口转包业务、非航空产品及其他业务三类。
分产品来看,2024年上半年公司主营业务中,航空发动机及衍生产品收入171.6亿元,占营业收入的92.52%;外贸出口收入10.04亿元,占营业收入的5.41%;非航空产品及其他收入3.6亿元,占营业收入的1.94%。

2024年上半年,公司毛利率为11.27%,同比下降0.63个百分点;净利率为3.56%,较上年同期下降0.81个百分点。从单季度指标来看,2024年第二季度公司毛利率为11.09%,同比下降0.77个百分点,环比下降0.55个百分点;净利率为3.86%,较上年同期下降1.90个百分点,较上一季度上升0.90个百分点。

数据显示,2024年上半年公司加权平均净资产收益率为1.49%,较上年同期下降0.38个百分点;公司2024年上半年投入资本回报率为1.35%,较上年同期下降0.44个百分点。

2024年上半年,公司经营活动现金流净额为-103.75亿元,同比增加6619.44万元;筹资活动现金流净额90.69亿元,同比增加39.96亿元;投资活动现金流净额-14.64亿元,上年同期为-17.7亿元。
进一步统计发现,2024年上半年公司自由现金流为-103.50亿元,上年同期为-91.07亿元。

2024年上半年,公司营业收入现金比为63.53%,净现比为-1744.53%。

营运能力方面,2024年上半年,公司总资产周转率为0.18次,上年同期为0.19次(2023年上半年行业平均值为0.16次,公司位居同行业20/47);固定资产周转率为0.88次,上年同期为0.90次(2023年上半年行业平均值为1.17次,公司位居同行业28/47);公司应收账款周转率、存货周转率分别为0.75次、0.50次。

2024年上半年,公司期间费用为13.20亿元,较上年同期增加2173.25万元;但期间费用率为7.11%,较上年同期下降0.19个百分点。其中,销售费用同比增长15.63%,管理费用同比下降7.08%,研发费用同比下降24.95%,财务费用同比增长190.07%。
资料显示,销售费用的变动主要因为售后保障任务增加,销售服务费增加;财务费用的变动主要因为阶段性融资增加,利息费用增加,汇兑收益减少;研发费用的变动主要因为课题项目支出减少。

资产重大变化方面,截至2024年上半年末,公司应收账款较上年末增加35.86%,占公司总资产比重上升5.32个百分点;存货较上年末增加22.12%,占公司总资产比重上升3.77个百分点;应收票据较上年末减少62.13%,占公司总资产比重下降3.40个百分点;货币资金较上年末减少33.08%,占公司总资产比重下降3.21个百分点。

负债重大变化方面,截至2024年上半年末,公司应付账款较上年末增加54.82%,占公司总资产比重上升7.72个百分点;短期借款较上年末增加109.58%,占公司总资产比重上升7.97个百分点;应付票据较上年末减少33.25%,占公司总资产比重下降5.63个百分点;合同负债较上年末减少39.23%,占公司总资产比重下降5.23个百分点。

从存货变动来看,截至2024年上半年末,公司存货账面价值为362.25亿元,占净资产的91.32%,较上年末增加65.62亿元。其中,存货跌价准备为9.84亿元,计提比例为2.64%。

在偿债能力方面,公司2024年上半年末资产负债率为58.66%,相比上年末上升2.61个百分点;有息资产负债率为17.41%,相比上年末上升7.89个百分点。

2024年上半年,公司流动比率为1.14,速动比率为0.60。

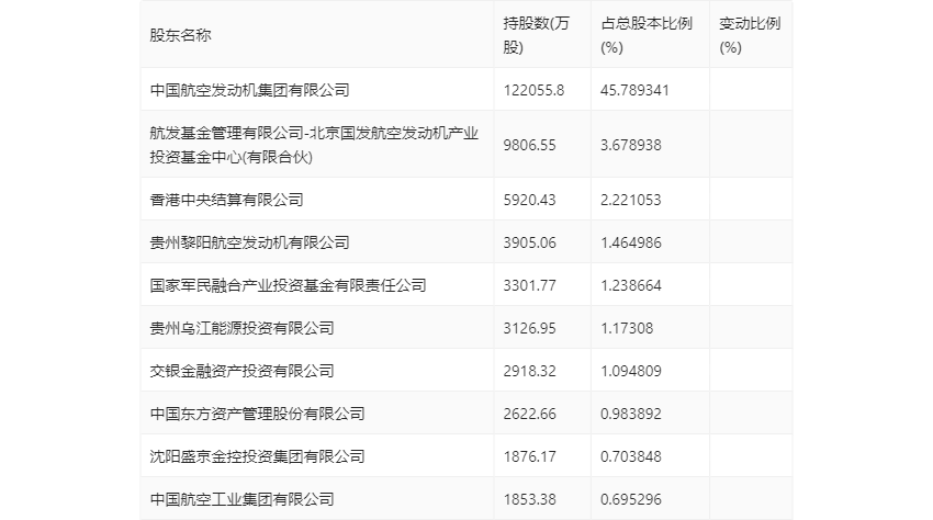
半年报显示,2024年上半年末的公司十大流通股东中,新进股东为中国航空工业集团有限公司,取代了一季度末的上证50交易型开放式指数证券投资基金。在具体持股比例上,香港中央结算有限公司持股有所上升。

筹码集中度方面,截至2024年上半年末,公司股东总户数为13.4万户,较一季度末下降了7969户,降幅5.61%;户均持股市值由一季度末的63.77万元上升至72.72万元,增幅为14.03%。

指标注解:
市盈率
=总市值/净利润。当公司亏损时市盈率为负,此时用市盈率估值没有实际意义,往往用市净率或市销率做参考。
市净率
=总市值/净资产。市净率估值法多用于盈利波动较大而净资产相对稳定的公司。
市销率
=总市值/营业收入。市销率估值法通常用于亏损或微利的成长型公司。
文中市盈率和市销率采用TTM方式,即以截至最近一期财报(含预报)12个月的数据计算。市净率采用LF方式,即以最近一期财报数据计算。
市盈率为负时,不显示当期分位数,会导致折线图中断。