查股网.CN
首页
选股
热点
资金
板块
大盘
DDX
游资
龙虎
导航
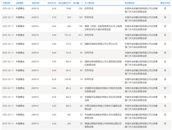
中国黄金今日大宗交易折价成交1192.7万股,成交额9589.31万元
中国黄金今日大宗交易折价成交1192.7万股,成交额9589.31万元
查股网
2025-02-11 21:00
中国黄金(600916)个股分析
中国黄金
2月11日大宗交易成交1192.7万股,成交额9589.31万元,占当日总成交额的7%,成交价8.04元,较市场收盘价9.49元折价15.28%。