中泰证券:2023年净利18亿元 同比增长204.94% 拟10派0.3元

中证智能财讯 中泰证券(600918)3月30日披露2023年年报。2023年,公司实现营业总收入127.62亿元,同比增长36.86%;归母净利润18.00亿元,同比增长204.94%;扣非净利润10.40亿元,同比增长107.49%;经营活动产生的现金流量净额为-7.24亿元,上年同期为165.20亿元;报告期内,中泰证券基本每股收益为0.24元,加权平均净资产收益率为4.71%。公司2023年年度利润分配预案为:拟向全体股东每10股派0.3元(含税)。
报告期内,公司合计非经常性损益为7.59亿元,其中其他符合非经常性损益定义的损益项目为7.08亿元。

以3月29日收盘价计算,中泰证券目前市盈率(TTM)约为25.79倍,市净率(LF)约为1.16倍,市销率(TTM)约为3.64倍。

公司近年市盈率(TTM)、市净率(LF)、市销率(TTM)历史分位图如下所示:



数据统计显示,中泰证券近三年营业总收入复合增长率为7.22%,在证券Ⅲ行业已披露2023年数据的25家公司中排名第5。近三年净利润复合年增长率为-10.68%,排名18/25。

资料显示,公司所从事的主要业务包括投资银行业务、财富管理业务、机构业务、投资业务、信用业务、资产管理业务、国际业务、期货业务等,能够为客户提供系统性、多层次、专业化的投融资服务,满足多样化金融服务需求。
分产品来看,2023年公司主营业务中,手续费及佣金净收入收入64.17亿元,同比增长18.66%,占营业收入的50.28%;利息净收入收入17.28亿元,同比下降18.99%,占营业收入的13.54%;公允价值变动收益收入14.43亿元,同比下降205.12%,占营业收入的11.30%。

截至2023年末,公司员工总数为9889人,人均创收129.05万元,人均创利18.20万元,人均薪酬55.59万元,较上年同期分别增长35.16%、201.15%、8.23%。

数据显示,2023年公司加权平均净资产收益率为4.71%,较上年同期上升3.1个百分点。

2023年,公司经营活动现金流净额为-7.24亿元,同比减少172.44亿元;筹资活动现金流净额-43.73亿元,同比减少30.85亿元;投资活动现金流净额8.97亿元,上年同期为-64.27亿元。

2023年,公司营业收入现金比为160.54%,净现比为-40.24%。

资产重大变化方面,截至2023年末,公司融出资金较上年末增加7.27%,占公司总资产比重上升1.41个百分点;交易性金融资产合计较上年末增加5.25%,占公司总资产比重上升1.29个百分点;买入返售金融资产较上年末减少16.86%,占公司总资产比重下降0.95个百分点;存出保证金较上年末减少17.29%,占公司总资产比重下降0.93个百分点。

负债重大变化方面,截至2023年末,公司应付短期融资款较上年末减少29.45%,占公司总资产比重下降1.6个百分点;应付债券较上年末增加5.22%,占公司总资产比重上升1.53个百分点;代理买卖证券款较上年末减少6.2%,占公司总资产比重下降1.46个百分点;拆入资金较上年末减少42.86%,占公司总资产比重下降0.74个百分点。

2023年全年,公司研发投入金额为2.26亿元,同比增长11.37%;研发投入占营业收入比例为1.77%,相比上年同期下降0.41个百分点。此外,公司全年研发投入资本化率为0。


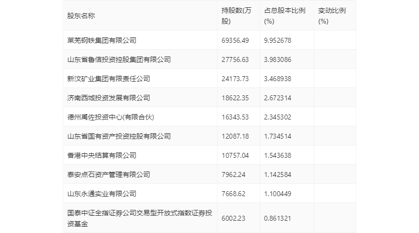
年报显示,2023年年末公司十大流通股东中,持股最多的为莱芜钢铁集团有限公司,占比9.95%。十大流通股东名单相比2023年三季报维持不变。在具体持股比例上,香港中央结算有限公司、国泰中证全指证券公司交易型开放式指数证券投资基金持股有所上升,德州禹佐投资中心(有限合伙)、山东永通实业有限公司持股有所下降。

筹码集中度方面,截至2023年年末,公司股东总户数为12.16万户,较三季度末下降了3549户,降幅2.84%;户均持股市值由三季度末的39.53万元下降至39.31万元,降幅为0.56%。

指标注解:
市盈率
=总市值/净利润。当公司亏损时市盈率为负,此时用市盈率估值没有实际意义,往往用市净率或市销率做参考。
市净率
=总市值/净资产。市净率估值法多用于盈利波动较大而净资产相对稳定的公司。
市销率
=总市值/营业收入。市销率估值法通常用于亏损或微利的成长型公司。
文中市盈率和市销率采用TTM方式,即以截至最近一期财报(含预报)12个月的数据计算。市净率采用LF方式,即以最近一期财报数据计算。
市盈率为负时,不显示当期分位数,会导致折线图中断。