岳阳林纸:2023年亏损2.38亿元

中证智能财讯 岳阳林纸(600963)4月4日披露2023年年报。2023年,公司实现营业总收入86.41亿元,同比下降11.66%;归母净利润亏损2.38亿元,上年同期盈利6.16亿元;扣非净利润922.04万元,同比下降98.32%;经营活动产生的现金流量净额为10.56亿元,同比增长38.98%;报告期内,岳阳林纸基本每股收益为-0.13元,加权平均净资产收益率为-2.67%。
报告期内,公司合计非经常性损益为-2.47亿元。



以4月3日收盘价计算,岳阳林纸目前市盈率(TTM)约为-37.74倍,市净率(LF)约为1.03倍,市销率(TTM)约为1.04倍。

公司近年市盈率(TTM)、市净率(LF)、市销率(TTM)历史分位图如下所示:



数据统计显示,岳阳林纸近三年营业总收入复合增长率为6.69%,近三年净利润复合年增长率为-183.12%。

资料显示,公司是国内大型文化纸研发和生产企业之一,从事包括文化用纸、包装用纸、工业用纸等在内的研发、生产和销售,造纸产能100万吨/年。
分产品来看,2023年公司主营业务中,印刷用纸收入44.48亿元,同比下降10.14%,占营业收入的51.48%;包装用纸收入13.00亿元,同比增长15.70%,占营业收入的15.04%;木材销售收入9.33亿元,同比增长21.89%,占营业收入的10.80%。

截至2023年末,公司员工总数为3974人,人均创收217.43万元,人均创利-5.99万元,人均薪酬13.68万元,较上年同期分别下降13.84%、137.70%、3.21%。
2023年,公司毛利率为8.53%,同比下降6.88个百分点;净利率为-2.71%,较上年同期下降9.06个百分点。从单季度指标来看,2023年第四季度公司毛利率为7.64%,同比下降4.91个百分点,环比上升2.62个百分点;净利率为-17.48%,较上年同期下降21.75个百分点,较上一季度下降18.23个百分点

分产品看,印刷用纸、包装用纸、木材销售2023年毛利率分别为9.37%、7.54%、2.52%。

报告期内,公司前五大客户合计销售金额13.60亿元,占总销售金额比例为18.86%,公司前五名供应商合计采购金额19.89亿元,占年度采购总额比例为24.88%。

数据显示,2023年公司加权平均净资产收益率为-2.67%,较上年同期下降9.56个百分点;公司2023年投入资本回报率为-0.92%,较上年同期下降6.51个百分点。

2023年,公司经营活动现金流净额为10.56亿元,同比增长38.98%;筹资活动现金流净额-9794.55万元,同比增加5.29亿元;投资活动现金流净额-8.84亿元,上年同期为-2.59亿元。
进一步统计发现,2023年公司自由现金流为-9350.22万元,上年同期为50553.18万元。

2023年,公司营业收入现金比为110.36%,净现比为-443.76%。

营运能力方面,2023年,公司公司总资产周转率为0.53次,上年同期为0.59次(2022年行业平均值为0.72次,公司位居同行业8/11);固定资产周转率为2.39次,上年同期为2.60次(2022年行业平均值为2.01次,公司位居同行业4/11);公司应收账款周转率、存货周转率分别为11.96次、1.56次。

2023年,公司期间费用为7.69亿元,同比减少1.06亿元;期间费用率为8.9%,同比下降0.05个百分点。其中,销售费用同比下降2.74%,管理费用同比下降18.1%,研发费用同比下降13.34%,财务费用同比下降5.46%。

资产重大变化方面,截至2023年年末,公司其他非流动资产较上年末增加811.52%,占公司总资产比重上升2.24个百分点;在建工程较上年末增加104.28%,占公司总资产比重上升2.12个百分点;应收款项融资较上年末减少45.06%,占公司总资产比重下降1.44个百分点;预付款项较上年末减少45.54%,占公司总资产比重下降1.09个百分点。

负债重大变化方面,截至2023年年末,公司一年内到期的非流动负债较上年末增加201.35%,占公司总资产比重上升3.84个百分点;长期借款较上年末减少25.63%,占公司总资产比重下降2.93个百分点;短期借款较上年末增加16.35%,占公司总资产比重上升2.49个百分点;应付票据较上年末减少61.46%,占公司总资产比重下降1.38个百分点。

从存货变动来看,截至2023年年末,公司存货账面价值为48.8亿元,占净资产的56.19%,较上年末减少3.46亿元。其中,存货跌价准备为2293.41万元,计提比例为0.47%。

2023年全年,公司研发投入金额为2.62亿元,同比下降13.34%;研发投入占营业收入比例为3.03%,相比上年同期下降0.06个百分点。此外,公司全年研发投入资本化率为0。


在偿债能力方面,公司2023年年末资产负债率为45.33%,相比上年末上升0.92个百分点;有息资产负债率为30.00%,相比上年末上升3.40个百分点。

2023年,公司流动比率为1.66,速动比率为0.79。

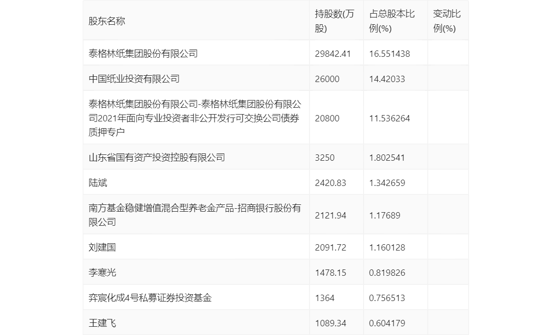
年报显示,2023年年末公司十大流通股东中,新进股东为王建飞,取代了三季度末的沪通创智1号私募证券投资基金。在具体持股比例上,陆斌、刘建国持股有所上升,李寒光、弈宸化成4号私募证券投资基金持股有所下降。

值得注意的是,根据年报数据,岳阳林纸11.54%股份处于质押状态。其中,第三大股东泰格林纸集团股份有限公司-泰格林纸集团股份有限公司2021年面向专业投资者非公开发行可交换公司债券质押专户质押2.08亿股公司股份,占其全部持股的100.00%。
筹码集中度方面,截至2023年年末,公司股东总户数为5.76万户,较三季度末下降了1066户,降幅1.82%;户均持股市值由三季度末的19.22万元下降至18.45万元,降幅为4.01%。

指标注解:
市盈率
=总市值/净利润。当公司亏损时市盈率为负,此时用市盈率估值没有实际意义,往往用市净率或市销率做参考。
市净率
=总市值/净资产。市净率估值法多用于盈利波动较大而净资产相对稳定的公司。
市销率
=总市值/营业收入。市销率估值法通常用于亏损或微利的成长型公司。
文中市盈率和市销率采用TTM方式,即以截至最近一期财报(含预报)12个月的数据计算。市净率采用LF方式,即以最近一期财报数据计算。
市盈率为负时,不显示当期分位数,会导致折线图中断。