内蒙一机:2024年上半年净利同比下降39.28% 拟10派0.77元

中证智能财讯 内蒙一机(600967)8月22日披露2024年半年度报告。2024年上半年,公司实现营业收入47.88亿元,同比下降21.57%;归母净利润2.64亿元,同比下降39.28%;扣非净利润2.62亿元,同比下降39.15%;经营活动产生的现金流量净额为-15.4亿元,上年同期为-19.18亿元;报告期内,内蒙一机基本每股收益为0.155元,加权平均净资产收益率为2.28%。公司2024年半年度分配预案为:拟向全体股东每10股派现0.77元(含税)。
公告称,公司营业收入变化主要由于公司部分重要合同在下半年履约。


以8月21日收盘价计算,内蒙一机目前市盈率(TTM)约为18.53倍,市净率(LF)约1.07倍,市销率(TTM)约1.45倍。

公司近年市盈率(TTM)、市净率(LF)、市销率(TTM)历史分位图如下所示:



根据半年报,公司第二季度实现营业总收入25.04亿元,同比下降28.70%,环比增长9.63%;归母净利润9592.58万元,同比下降56.50%,环比下降42.82%;扣非净利润9697.56万元,同比下降55.2%,环比下降41.12% 。

资料显示,公司持续开展轮履系列军品装备、军民融合产品、铁路车辆、车辆零部件的研发、制造、销售等业务。
2024年上半年,公司毛利率为10.28%,同比下降0.69个百分点;净利率为5.52%,较上年同期下降1.62个百分点。从单季度指标来看,2024年第二季度公司毛利率为7.30%,同比下降2.51个百分点,环比下降6.25个百分点;净利率为3.93%,较上年同期下降2.42个百分点,较上一季度下降3.34个百分点。


盈利能力方面, 2024年半年度公司加权平均净资产收益率为2.28%,同比下降1.61个百分点。公司2024年上半年投入资本回报率为2.1%,较上年同期下降1.22个百分点。

2024年上半年,公司经营活动现金流净额为-15.40亿元,同比增加3.78亿元;筹资活动现金流净额-6397.76万元,同比增加1.31亿元;投资活动现金流净额7.45亿元,上年同期为-4.89亿元。
进一步统计发现,2024年上半年公司自由现金流为-17.76亿元,上年同期为-29.29亿元。

2024年上半年,公司营业收入现金比为35.41%,净现比为-583.85%。

营运能力方面,2024年上半年,公司公司总资产周转率为0.21次,上年同期为0.28次(2023年上半年行业平均值为0.14次,公司位居同行业1/12);固定资产周转率为2.59次,上年同期为3.42次(2023年上半年行业平均值为1.41次,公司位居同行业2/12);公司应收账款周转率、存货周转率分别为3.93次、1.35次。

2024年上半年,公司期间费用为2.91亿元,较上年同期增加3929.32万元;期间费用率为6.07%,较上年同期上升1.95个百分点。其中,销售费用同比下降49.89%,管理费用同比下降11.91%,研发费用同比增长8.71%,财务费用由去年同期的-7524.29万元变为-1872.05万元。
资料显示,销售费用的变动主要因为铁路产品的运输费用和国际销售服务费用同比下降;管理费用的变动主要因为公司不断推动提质增效,强化预算刚性约束,严控管理费用;财务费用的变动主要因为存款利率下调,利息收入减少;研发费用的变动主要因为公司在需求牵引的基础上,通过技术推动,自主创新,不断布局战略性新兴产业,体系化抓好科技创新工作,大力推动公司研发投入。

资产重大变化方面,截至2024年上半年末,公司一年内到期的非流动资产较上年末增加31.15%,占公司总资产比重上升3.79个百分点;应收账款较上年末增加70.90%,占公司总资产比重上升3.48个百分点;债权投资合计较上年末减少21.71%,占公司总资产比重下降2.27个百分点;应收票据较上年末减少76.58%,占公司总资产比重下降2.23个百分点。

负债重大变化方面,截至2024年上半年末,公司合同负债较上年末减少66.08%,占公司总资产比重下降14.85个百分点,主要系本报告期产品交付;应付账款较上年末增加95.79%,占公司总资产比重上升10.54个百分点,主要系本报告期采购货物增加的应付账款未到付款期;应付票据较上年末减少29.59%,占公司总资产比重下降2.80个百分点;应交税费较上年末减少74.23%,占公司总资产比重下降0.82个百分点。

从存货变动来看,截至2024年上半年末,公司存货账面价值为29.08亿元,占净资产的24.55%,较上年末减少5.61亿元。其中,存货跌价准备为1.42亿元,计提比例为4.65%。

在偿债能力方面,公司2024年上半年末资产负债率为43.77%,相比上年末下降7.91个百分点;有息资产负债率为0.26%,相比上年末上升0.09个百分点。

2024年上半年,公司流动比率为1.54,速动比率为1.20。

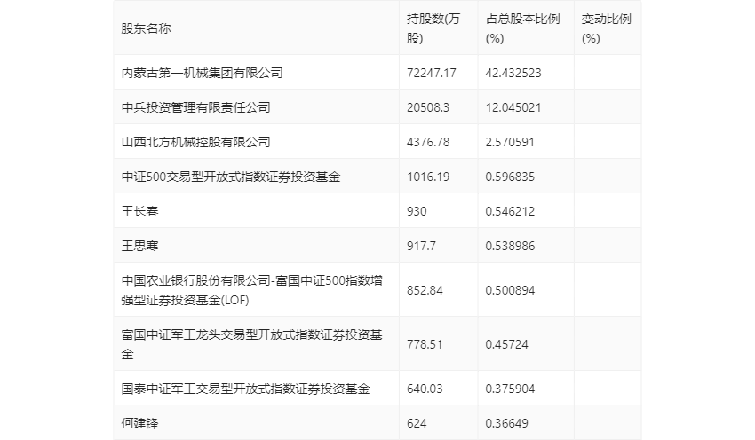
半年报显示,2024年上半年末公司十大流通股东中,持股最多的为内蒙古第一机械集团有限公司,占比42.43%。十大流通股东名单相比2024年一季报维持不变。在具体持股比例上,中证500交易型开放式指数证券投资基金、王思寒、中国农业银行股份有限公司-富国中证500指数增强型证券投资基金(LOF)、国泰中证军工交易型开放式指数证券投资基金持股有所上升,富国中证军工龙头交易型开放式指数证券投资基金、何建锋持股有所下降。

筹码集中度方面,截至2024年上半年末,公司股东总户数为5.02万户,较一季度末下降了285户,降幅0.56%;户均持股市值由一季度末的26.33万元下降至24.41万元,降幅为7.29%。

指标注解:
市盈率
=总市值/净利润。当公司亏损时市盈率为负,此时用市盈率估值没有实际意义,往往用市净率或市销率做参考。
市净率
=总市值/净资产。市净率估值法多用于盈利波动较大而净资产相对稳定的公司。
市销率
=总市值/营业收入。市销率估值法通常用于亏损或微利的成长型公司。
文中市盈率和市销率采用TTM方式,即以截至最近一期财报(含预报)12个月的数据计算。市净率采用LF方式,即以最近一期财报数据计算。
市盈率为负时,不显示当期分位数,会导致折线图中断。