中材国际:2024年上半年净利润13.99亿元 同比增长2.28%

中证智能财讯 中材国际(600970)8月24日披露2024年半年报。2024年上半年,公司实现营业总收入208.95亿元,同比增长1.68%;归母净利润13.99亿元,同比增长2.28%;扣非净利润14.02亿元,同比增长5.97%;经营活动产生的现金流量净额为8.85亿元,上年同期为-9.40亿元;报告期内,中材国际基本每股收益为0.53元,加权平均净资产收益率为7.18%。


以8月23日收盘价计算,中材国际目前市盈率(TTM)约为8.56倍,市净率(LF)约为1.29倍,市销率(TTM)约为0.55倍。

公司近年市盈率(TTM)、市净率(LF)、市销率(TTM)历史分位图如下所示:



根据半年报,公司第二季度实现营业总收入106.07亿元,同比增长0.68%,环比增长3.10%;归母净利润7.63亿元,同比增长1.61%,环比增长19.87%;扣非净利润7.48亿元,同比增长0.95%,环比增长14.38%。

半年报称,公司主要业务有工程技术服务、高端装备制造、生产运营服务、其他业务。
分产品来看,2024年上半年公司主营业务中,工程技术服务收入120.99亿元,同比增长4.82%,占营业收入的57.91%;生产运营服务收入56.73亿元,同比增长22.22%,占营业收入的27.15%;高端装备制造收入29.16亿元,同比下降18.40%,占营业收入的13.95%。

2024年上半年,公司毛利率为19.39%,同比上升1.04个百分点;净利率为7.11%,较上年同期下降0.05个百分点。从单季度指标来看,2024年第二季度公司毛利率为19.31%,同比下降0.39个百分点,环比下降0.17个百分点;净利率为7.62%,较上年同期下降0.01个百分点,较上一季度上升1.03个百分点。

分产品看,工程技术服务、生产运营服务、高端装备制造2024年上半年毛利率分别为15.54%、21.93%、23.25%。
数据显示,2024年上半年公司加权平均净资产收益率为7.18%,较上年同期下降0.72个百分点;公司2024年上半年投入资本回报率为5.33%,较上年同期下降0.35个百分点。

2024年上半年,公司经营活动现金流净额为8.85亿元,同比增加18.25亿元;筹资活动现金流净额-12.12亿元,同比减少20.43亿元;投资活动现金流净额-9.67亿元,上年同期为715.75万元。
进一步统计发现,2024年上半年公司自由现金流为-3.18亿元,上年同期为-3.99亿元。

2024年上半年,公司营业收入现金比为89.13%,净现比为63.28%。

营运能力方面,2024年上半年,公司公司总资产周转率为0.38次,上年同期为0.40次(2023年上半年行业平均值为0.31次,公司位居同行业13/42);固定资产周转率为4.03次,上年同期为4.93次(2023年上半年行业平均值为3.92次,公司位居同行业16/42);公司应收账款周转率、存货周转率分别为1.97次、5.85次。

2024年上半年,公司期间费用为21.91亿元,较上年同期增加2.27亿元;期间费用率为10.49%,较上年同期上升0.93个百分点。其中,销售费用同比下降4.38%,管理费用同比增长15.83%,研发费用同比下降6.99%,财务费用同比增长239.7%。
资料显示,财务费用的变动主要由于上年同期美元、欧元升值产生汇兑收益,导致本期汇兑损失较上年同期增加。

资产重大变化方面,截至2024年上半年末,公司货币资金较上年末减少17.11%,占公司总资产比重下降3.50个百分点;合同资产较上年末增加21.91%,占公司总资产比重上升2.27个百分点;预付款项较上年末增加19.68%,占公司总资产比重上升1.48个百分点;长期股权投资较上年末增加70.48%,占公司总资产比重上升1.46个百分点。

负债重大变化方面,截至2024年上半年末,公司应付账款较上年末增加10.48%,占公司总资产比重上升1.59个百分点;应付职工薪酬较上年末减少69.60%,占公司总资产比重下降1.16个百分点;合同负债较上年末增加5.42%,占公司总资产比重上升0.29个百分点;短期借款较上年末增加20.29%,占公司总资产比重上升0.61个百分点。

从存货变动来看,截至2024年上半年末,公司存货账面价值为28.77亿元,占净资产的14.7%,较上年末减少211.78万元。其中,存货跌价准备为5578.27万元,计提比例为1.9%。

在偿债能力方面,公司2024年上半年末资产负债率为62.52%,相比上年末上升0.39个百分点;有息资产负债率为11.97%,相比上年末下降0.17个百分点。

2024年上半年,公司流动比率为1.30,速动比率为1.20。

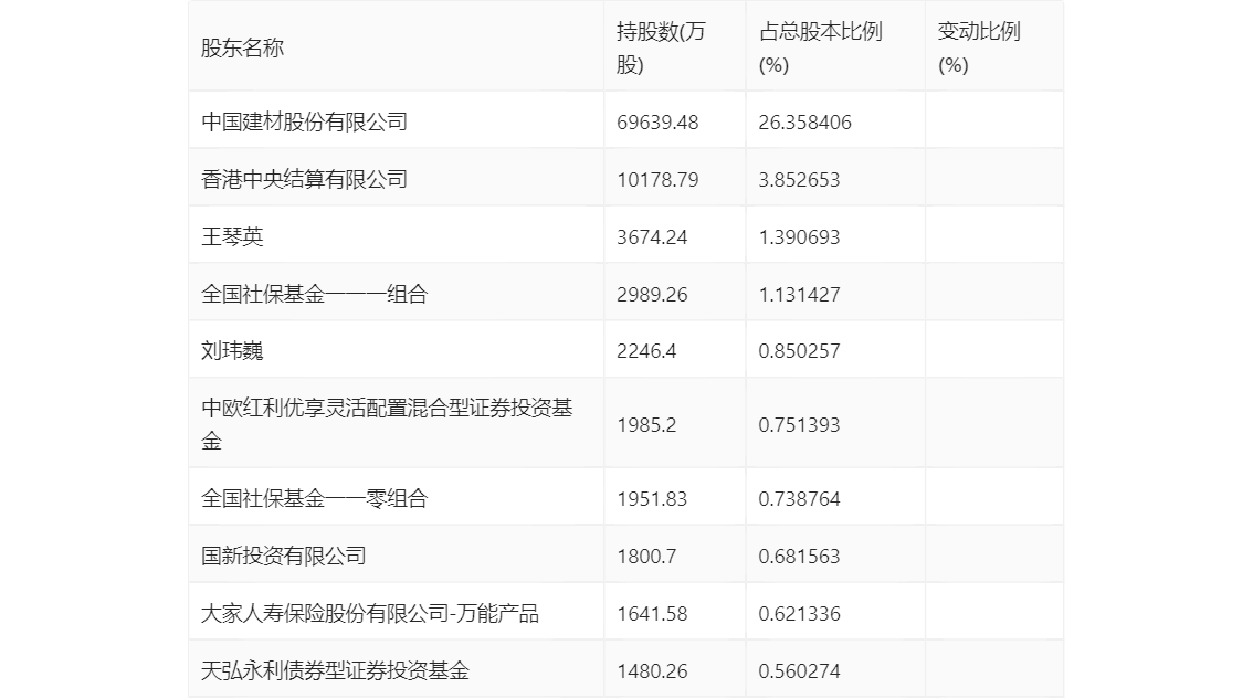
半年报显示,2024年上半年末公司十大流通股东中,新进股东为大家人寿保险股份有限公司-万能产品,取代了一季度末的中欧基金-农业银行-中国太平洋人寿股票相对收益型产品(保额分红)委托投资计划。在具体持股比例上,中国建材股份有限公司、香港中央结算有限公司、全国社保基金一一一组合、中欧红利优享灵活配置混合型证券投资基金、全国社保基金一一零组合持股有所上升,王琴英、刘玮巍、国新投资有限公司、天弘永利债券型证券投资基金持股有所下降。

筹码集中度方面,截至2024年上半年末,公司股东总户数为3.45万户,较一季度末下降了4676户,降幅11.95%;户均持股市值由一季度末的75.89万元上升至92.46万元,增幅为21.83%。

指标注解:
市盈率
=总市值/净利润。当公司亏损时市盈率为负,此时用市盈率估值没有实际意义,往往用市净率或市销率做参考。
市净率
=总市值/净资产。市净率估值法多用于盈利波动较大而净资产相对稳定的公司。
市销率
=总市值/营业收入。市销率估值法通常用于亏损或微利的成长型公司。
文中市盈率和市销率采用TTM方式,即以截至最近一期财报(含预报)12个月的数据计算。市净率采用LF方式,即以最近一期财报数据计算。
市盈率为负时,不显示当期分位数,会导致折线图中断。