贵广网络:2024年第一季度亏损1.90亿元

中证智能财讯 贵广网络(600996)4月27日披露2024年一季报。2024年第一季度,公司实现营业总收入3.61亿元,同比下降42.78%;归母净利润亏损1.90亿元,上年同期盈利206.80万元;扣非净利润亏损2.63亿元,上年同期亏损761.12万元;经营活动产生的现金流量净额为8932.91万元,同比增长242.75%;报告期内,贵广网络基本每股收益为-0.16元,加权平均净资产收益率为-4.90%。


2024年第一季度,公司毛利率为-18.43%,同比下降47.42个百分点;净利率为-56.53%,较上年同期下降56.84个百分点。

数据显示,2024年第一季度公司加权平均净资产收益率为-4.90%,较上年同期下降4.94个百分点;公司2024年第一季度投入资本回报率为-1.16%,较上年同期下降1.58个百分点。

2024年第一季度,公司经营活动现金流净额为8932.91万元,同比增长242.75%,主要系支付其他与经营活动有关的现金减少所致;筹资活动现金流净额-7479.72万元,同比减少4.66亿元,主要系收到其他与筹资活动有关的现金减少,以及偿还债务支付的现金增加所致;投资活动现金流净额-2.84亿元,上年同期为-4.61亿元,主要系购建固定资产、无形资产和其他长期资产支付的现金减少所致。

2024年第一季度,公司营业收入现金比为144.25%,净现比为-47.00%。

资产重大变化方面,截至2024年一季度末,公司货币资金较上年末减少54.68%,占公司总资产比重下降1.72个百分点;固定资产较上年末增加1.62%,占公司总资产比重上升1.67个百分点;其他流动资产较上年末增加6.71%,占公司总资产比重上升0.33个百分点;其他应收款(含利息和股利)较上年末减少12.89%,占公司总资产比重下降0.29个百分点。

负债重大变化方面,截至2024年一季度末,公司一年内到期的非流动负债较上年末增加26.10%,占公司总资产比重上升2.08个百分点;应付账款较上年末减少7.75%,占公司总资产比重下降1.05个百分点;长期借款较上年末减少4.56%,占公司总资产比重下降0.25个百分点;短期借款较上年末增加2.09%,占公司总资产比重上升0.92个百分点。

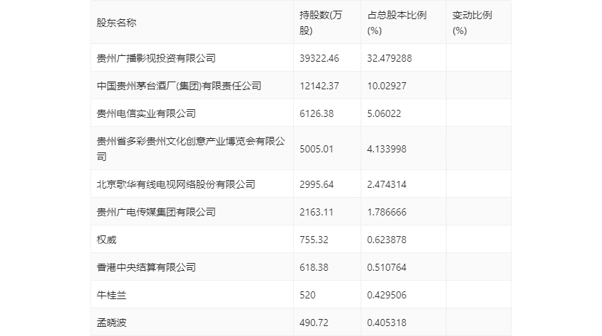
一季报显示,2024年一季度末公司十大流通股东中,新进股东为香港中央结算有限公司、孟晓波,取代了上年末的张兵峰、广发中证传媒交易型开放式指数证券投资基金。在具体持股比例上,权威、牛桂兰持股有所上升,贵州广播影视投资有限公司、中国贵州茅台酒厂(集团)有限责任公司、贵州电信实业有限公司、贵州省多彩贵州文化创意产业博览会有限公司、北京歌华有线电视网络股份有限公司、贵州广电传媒集团有限公司持股有所下降。

筹码集中度方面,截至2024年一季度末,公司股东总户数为5.51万户,较上年末下降了5504户,降幅9.08%;户均持股市值由上年末的17.90万元下降至17.17万元,降幅为4.08%。
