金陵饭店:毛利率创上市十余年以来新低 2023年拟10派1.2元

中证智能财讯 金陵饭店(601007)3月30日披露2023年年报。2023年,公司实现营业总收入18.12亿元,同比增长28.10%;归母净利润5953.51万元,同比增长42.86%;扣非净利润3132.20万元,同比增长86.07%;经营活动产生的现金流量净额为2.97亿元,上年同期为-427.67万元;报告期内,金陵饭店基本每股收益为0.153元,加权平均净资产收益率为3.77%。公司2023年年度利润分配预案为:拟向全体股东每10股派1.2元(含税)。
值得注意的是,公司2023年毛利率为27.75%,创上市17年以来毛利率新低。
报告期内,公司合计非经常性损益为2821.31万元。


以3月29日收盘价计算,金陵饭店目前市盈率(TTM)约为45.86倍,市净率(LF)约为1.72倍,市销率(TTM)约为1.51倍。

公司近年市盈率(TTM)、市净率(LF)、市销率(TTM)历史分位图如下所示:



数据统计显示,金陵饭店近三年营业总收入复合增长率为16.71%,近三年净利润复合年增长率为11.11%。

资料显示,公司已构建“1+N”的多元化协同产业结构,即以酒店投资管理为核心主业,协同业务涵盖酒类贸易、商业综合体运营、物业管理、食品科技等。
分产品来看,2023年公司主营业务中,商品贸易收入10.22亿元,同比增长28.98%,占营业收入的56.38%;客房收入2.42亿元,同比增长82.57%,占营业收入的13.34%;餐饮收入2.08亿元,同比增长24.52%,占营业收入的11.49%。

截至2023年末,公司员工总数为1614人,人均创收112.30万元,人均创利3.69万元,人均薪酬19.96万元,较上年同期分别增长25.48%、39.94%、3.17%。

2023年,公司毛利率为27.75%,同比下降2.48个百分点;净利率为6.43%,较上年同期上升0.43个百分点。从单季度指标来看,2023年第四季度公司毛利率为30.51%,同比下降13.16个百分点,环比上升2.59个百分点;净利率为4.83%,较上年同期下降3.54个百分点,较上一季度下降3.55个百分点。

分产品看,商品贸易、客房、餐饮2023年毛利率分别为10.61%、49.20%、24.44%。

报告期内,公司前五大客户合计销售金额2.23亿元,占总销售金额比例为12.28%,公司前五名供应商合计采购金额4.81亿元,占年度采购总额比例为64.27%。

数据显示,2023年公司加权平均净资产收益率为3.77%,较上年同期增长1.1个百分点;公司2023年投入资本回报率为4.76%,较上年同期增长1.09个百分点。

2023年,公司经营活动现金流净额为2.97亿元,同比增加3.02亿元;筹资活动现金流净额-1.53亿元,同比减少6215.82万元;投资活动现金流净额-3201.47万元,上年同期为-9636.62万元。
进一步统计发现,2023年公司自由现金流为-4234.69万元,上年同期为8501.50万元。

2023年,公司营业收入现金比为116.74%,净现比为499.59%。

营运能力方面,2023年,公司公司总资产周转率为0.47次,上年同期为0.36次(2022年行业平均值为0.33次,公司位居同行业4/10);固定资产周转率为1.72次,上年同期为1.30次(2022年行业平均值为11.21次,公司位居同行业8/10);公司应收账款周转率、存货周转率分别为26.16次、2.29次。

2023年,公司期间费用为3.45亿元,较上年同期增加2516.15万元;但期间费用率为19.03%,较上年同期下降3.57个百分点。其中,销售费用同比下降21.79%,管理费用同比增长29.5%,研发费用同比增长33.93%,财务费用同比增长0.81%。

资产重大变化方面,截至2023年年末,公司预付款项较上年末减少80.12%,占公司总资产比重下降6.45个百分点;交易性金融资产较上年末增加9.46%,占公司总资产比重上升3.39个百分点;货币资金较上年末减少39.48%,占公司总资产比重下降2.87个百分点;固定资产较上年末减少5.21%,占公司总资产比重上升2.83个百分点。

负债重大变化方面,截至2023年年末,公司应付票据较上年末减少92.53%,占公司总资产比重下降14.16个百分点;其他应付款(含利息和股利)较上年末减少10.04%,占公司总资产比重上升0.53个百分点;应付账款较上年末减少35.36%,占公司总资产比重下降0.46个百分点;长期应付款合计较上年末减少35.10%,占公司总资产比重下降0.17个百分点。

从存货变动来看,截至2023年年末,公司存货账面价值为5.18亿元,占净资产的32.59%,较上年末减少1.06亿元。其中,存货跌价准备为4159.33万元,计提比例为7.43%。

2023年全年,公司研发投入金额为429.74万元,同比增长33.93%;研发投入占营业收入比例为0.24%,相比上年同期上升0.01个百分点。此外,公司全年研发投入资本化率为0。


在偿债能力方面,公司2023年年末资产负债率为33.23%,相比上年末下降11.06个百分点;有息资产负债率为3.62%,相比上年末上升0.39个百分点。

2023年,公司流动比率为1.79,速动比率为1.16。

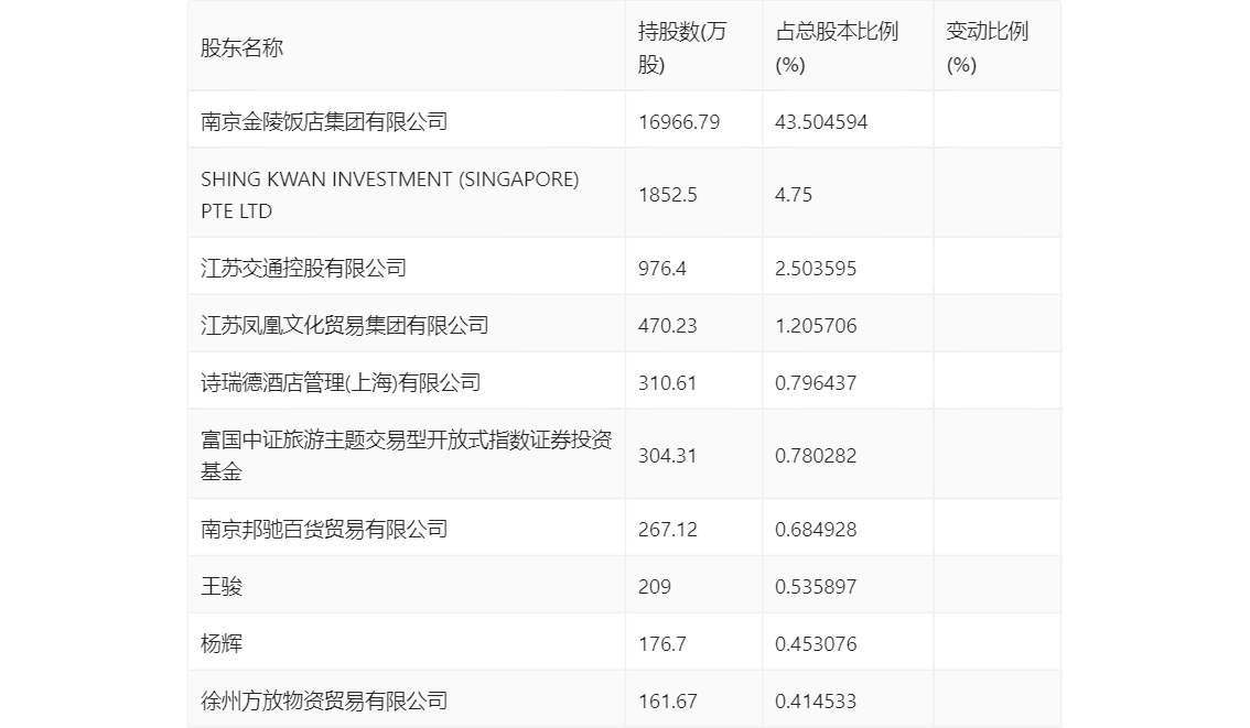
年报显示,2023年年末公司十大流通股东中,新进股东为徐州方放物资贸易有限公司,取代了三季度末的李海斌。在具体持股比例上,杨辉持股有所上升,富国中证旅游主题交易型开放式指数证券投资基金持股有所下降。

筹码集中度方面,截至2023年年末,公司股东总户数为3.11万户,较三季度末下降了3943户,降幅11.25%;户均持股市值由三季度末的9.65万元上升至10.13万元,增幅为4.97%。

指标注解:
市盈率
=总市值/净利润。当公司亏损时市盈率为负,此时用市盈率估值没有实际意义,往往用市净率或市销率做参考。
市净率
=总市值/净资产。市净率估值法多用于盈利波动较大而净资产相对稳定的公司。
市销率
=总市值/营业收入。市销率估值法通常用于亏损或微利的成长型公司。
文中市盈率和市销率采用TTM方式,即以截至最近一期财报(含预报)12个月的数据计算。市净率采用LF方式,即以最近一期财报数据计算。
市盈率为负时,不显示当期分位数,会导致折线图中断。