文峰股份:2024年上半年净利润同比下降40.75% 拟10派0.39元

中证智能财讯 文峰股份(601010)8月10日披露2024年半年报。2024年上半年,公司实现营业总收入10.01亿元,同比下降13.81%;归母净利润7242.97万元,同比下降40.75%;扣非净利润6935.48万元,同比下降28.18%;经营活动产生的现金流量净额为-998.81万元,上年同期为3.28亿元;报告期内,文峰股份基本每股收益为0.04元,加权平均净资产收益率为1.62%。公司2024年半年度利润分配预案为:拟向全体股东每10股派0.39元(含税)。


以8月9日收盘价计算,文峰股份目前市盈率(TTM)约为28.01倍,市净率(LF)约为0.76倍,市销率(TTM)约为1.69倍。

公司近年市盈率(TTM)、市净率(LF)、市销率(TTM)历史分位图如下所示:



根据半年报,公司第二季度实现营业总收入4.43亿元,同比下降16.27%,环比下降20.61%;归母净利润1945.86万元,同比下降46.05%,环比下降63.27%;扣非净利润1764.37万元,同比增长30.60%,环比下降65.88%。

半年报称,公司主要从事百货、超市、电器以及购物中心的连锁经营业务,主要经营地为江苏省南通市和上海市,公司自成立以来主营业务未发生变更。
分产品来看,2024年上半年公司主营业务中,百货分部收入5.00亿元,同比下降8.86%,占营业收入的49.99%;超市分部收入2.28亿元,同比下降15.45%,占营业收入的22.80%;电器分部收入1.76亿元,同比下降29.65%,占营业收入的17.64%。

2024年上半年,公司毛利率为49.03%,同比上升2.29个百分点;净利率为7.22%,较上年同期下降3.08个百分点。从单季度指标来看,2024年第二季度公司毛利率为46.15%,同比上升1.84个百分点,环比下降5.15个百分点;净利率为4.37%,较上年同期下降2.07个百分点,较上一季度下降5.11个百分点。

数据显示,2024年上半年公司加权平均净资产收益率为1.62%,较上年同期下降1.14个百分点;公司2024年上半年投入资本回报率为1.61%,较上年同期下降1.11个百分点。

2024年上半年,公司经营活动现金流净额为-998.81万元,同比减少3.38亿元;筹资活动现金流净额-1.27亿元,同比减少929.13万元;投资活动现金流净额1989.42万元,上年同期为1.36亿元。
进一步统计发现,2024年上半年公司自由现金流为-8582.41万元,上年同期为47499.50万元。

2024年上半年,公司营业收入现金比为124.91%,净现比为-13.79%。

营运能力方面,2024年上半年,公司公司总资产周转率为0.16次,上年同期为0.17次(2023年上半年行业平均值为0.22次,公司位居同行业12/15);固定资产周转率为0.33次,上年同期为0.37次(2023年上半年行业平均值为1.03次,公司位居同行业14/15);公司应收账款周转率、存货周转率分别为28.66次、1.70次。

2024年上半年,公司期间费用为3.27亿元,较上年同期减少4004.21万元;但期间费用率为32.63%,较上年同期上升1.06个百分点。其中,销售费用同比下降10.67%,管理费用同比下降4.69%,财务费用同比下降59.77%。

资产重大变化方面,截至2024年上半年末,公司交易性金融资产较上年末减少74.51%,占公司总资产比重下降1.48个百分点;货币资金较上年末减少9.99%,占公司总资产比重下降1.00个百分点;固定资产较上年末减少2.44%,占公司总资产比重上升0.94个百分点;在建工程较上年末增加4.36%,占公司总资产比重上升0.73个百分点。

负债重大变化方面,截至2024年上半年末,公司应付账款较上年末减少28.98%,占公司总资产比重下降1.36个百分点;其他应付款(含利息和股利)较上年末减少21.13%,占公司总资产比重下降0.99个百分点;应交税费较上年末减少58.61%,占公司总资产比重下降1.02个百分点;合同负债较上年末减少6.49%,占公司总资产比重下降0.29个百分点。

从存货变动来看,截至2024年上半年末,公司存货账面价值为3.05亿元,占净资产的6.87%,较上年末增加1065.32万元。其中,存货跌价准备为898.0万元,计提比例为2.86%。

在偿债能力方面,公司2024年上半年末资产负债率为29.21%,相比上年末下降3.03个百分点;有息资产负债率为1.05%,相比上年末上升0.39个百分点。

2024年上半年,公司流动比率为0.89,速动比率为0.71。

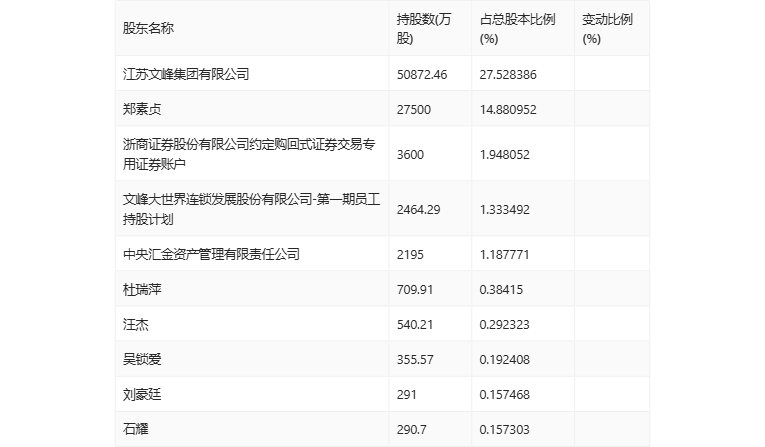
半年报显示,2024年上半年末公司十大流通股东中,新进股东为刘豪廷、石耀,取代了一季度末的方群力、肖桂金。在具体持股比例上,杜瑞萍持股有所上升。

值得注意的是,根据半年报数据,文峰股份21.80%股份处于质押状态。其中,第一大股东江苏文峰集团有限公司质押4.03亿股公司股份,占其全部持股的79.20%。
筹码集中度方面,截至2024年上半年末,公司股东总户数为9.11万户,较一季度末下降了3002户,降幅3.19%;户均持股市值由一季度末的4.18万元下降至3.45万元,降幅为17.46%。

指标注解:
市盈率
=总市值/净利润。当公司亏损时市盈率为负,此时用市盈率估值没有实际意义,往往用市净率或市销率做参考。
市净率
=总市值/净资产。市净率估值法多用于盈利波动较大而净资产相对稳定的公司。
市销率
=总市值/营业收入。市销率估值法通常用于亏损或微利的成长型公司。
文中市盈率和市销率采用TTM方式,即以截至最近一期财报(含预报)12个月的数据计算。市净率采用LF方式,即以最近一期财报数据计算。
市盈率为负时,不显示当期分位数,会导致折线图中断。