宁波港:2024年第一季度净利润11.23亿元 同比增长13.04%

中证智能财讯 宁波港(601018)4月27日披露2024年一季报。2024年第一季度,公司实现营业总收入69.14亿元,同比增长18.72%;归母净利润11.23亿元,同比增长13.04%;扣非净利润10.93亿元,同比增长19.30%;经营活动产生的现金流量净额为37.87亿元,同比增长10.65%;报告期内,宁波港基本每股收益为0.06元,加权平均净资产收益率为1.49%。



2024年第一季度,公司毛利率为29.58%,同比下降1.32个百分点;净利率为18.08%,较上年同期下降0.99个百分点。

数据显示,2024年第一季度公司加权平均净资产收益率为1.49%,较上年同期增长0.12个百分点;公司2024年第一季度投入资本回报率为1.28%,较上年同期增长0.10个百分点。

2024年第一季度,公司经营活动现金流净额为37.87亿元,同比增长10.65%;筹资活动现金流净额-35.40亿元,同比减少25.10亿元;投资活动现金流净额-16.58亿元,上年同期为-23.52亿元。

2024年第一季度,公司营业收入现金比为160.49%,净现比为337.20%。

资产重大变化方面,截至2024年一季度末,公司货币资金较上年末减少16.32%,占公司总资产比重下降1.36个百分点;固定资产较上年末增加1.00%,占公司总资产比重上升0.77个百分点;应收账款较上年末增加16.65%,占公司总资产比重上升0.47个百分点;在建工程较上年末减少6.38%,占公司总资产比重下降0.44个百分点。

负债重大变化方面,截至2024年一季度末,公司其他流动负债较上年末减少99.45%,占公司总资产比重下降3.03个百分点;吸收存款及同业存款较上年末增加29.14%,占公司总资产比重上升2.42个百分点;其他应付款(含利息和股利)较上年末减少18.75%,占公司总资产比重下降0.66个百分点;应付账款较上年末减少23.62%,占公司总资产比重下降0.50个百分点。

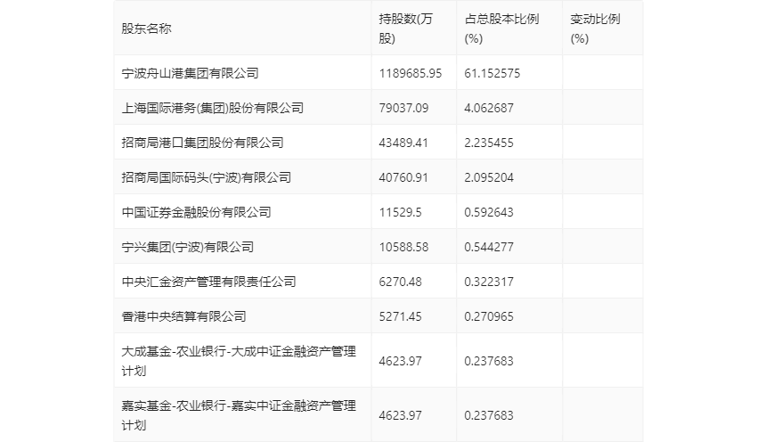
一季报显示,2024年一季度末公司十大流通股东中,持股最多的为宁波舟山港集团有限公司,占比61.15%。十大流通股东名单相比2023年年报维持不变。在具体持股比例上,香港中央结算有限公司持股有所下降。

筹码集中度方面,截至2024年一季度末,公司股东总户数为13.95万户,较上年末下降了1113户,降幅0.79%;户均持股市值由上年末的49.27万元下降至47.85万元,降幅为2.88%。
